GM Service Manual Online
For 1990-2009 cars only
Makes
🢒
Chevrolet
🢒
2002
🢒
Corvette
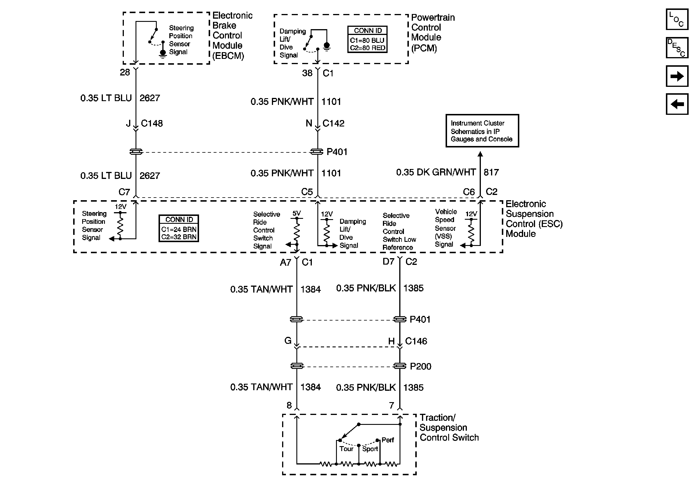
🢒 ESC and Traction/Suspension Control Switch
ESC and Traction/Suspension Control Switch
ESC and Traction/Suspension Control Switch
Master Electrical Component List
Real Time Damping Description and Operation
Suspension Position Sensors
02 Y-Car: Suspension Controls Schematics (Power,Ground and DLC)
Power,Ground,Tachometer and Speedometer