GM Service Manual Online
For 1990-2009 cars only
Makes
🢒
Chevrolet
🢒
2002
🢒
Corvette
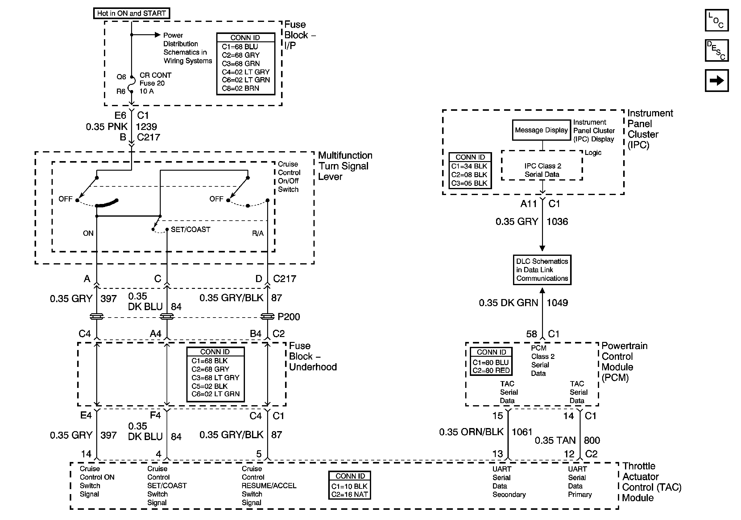
🢒 CruiseControl Switch,Throttle Actuator Control Motor and Cruise ControlRelease Switch
CruiseControl Switch,Throttle Actuator Control Motor and Cruise ControlRelease Switch
Cruise Control Switch, Throttle Actuator Control Motor and Cruise Control Release Switch
Master Electrical Component List
Cruise Control Description and Operation
Power, Ground and Stoplamp Switch
Instrument Panel Electrical Center Fuses 15, 16, 13, 20 and 19
Star Connectors