GM Service Manual Online
For 1990-2009 cars only
Makes
🢒
Chevrolet
🢒
2003
🢒
Corvette
🢒
Suspension
🢒
Electronic Suspension Control (ESC)
🢒 Suspension Controls Schematics
Figure
1:
Power, Ground, DLC, and Controls
Master Electrical Component List
Electronic Suspension Control Description and Operation
Suspension Position Sensors
Fuse Block-Underhood Bussing 1 of 2
Fuse Block-Underhood Fuses 14, 13, 16, 15, 5 and Relays 43, 44, 35 and 42
Star Connectors
Figure
2:
Suspension Position Sensors
Master Electrical Component List
Electronic Suspension Control Description and Operation
Suspension Dampers
ESC and Traction/Suspension Control Switch
Suspension Controls Schematic Icons
Suspension Controls Schematic Icons
Suspension Controls Schematic Icons
Suspension Controls Schematic Icons
Suspension Controls Schematic Icons
Suspension Controls Schematic Icons
Suspension Controls Schematic Icons
Suspension Controls Schematic Icons
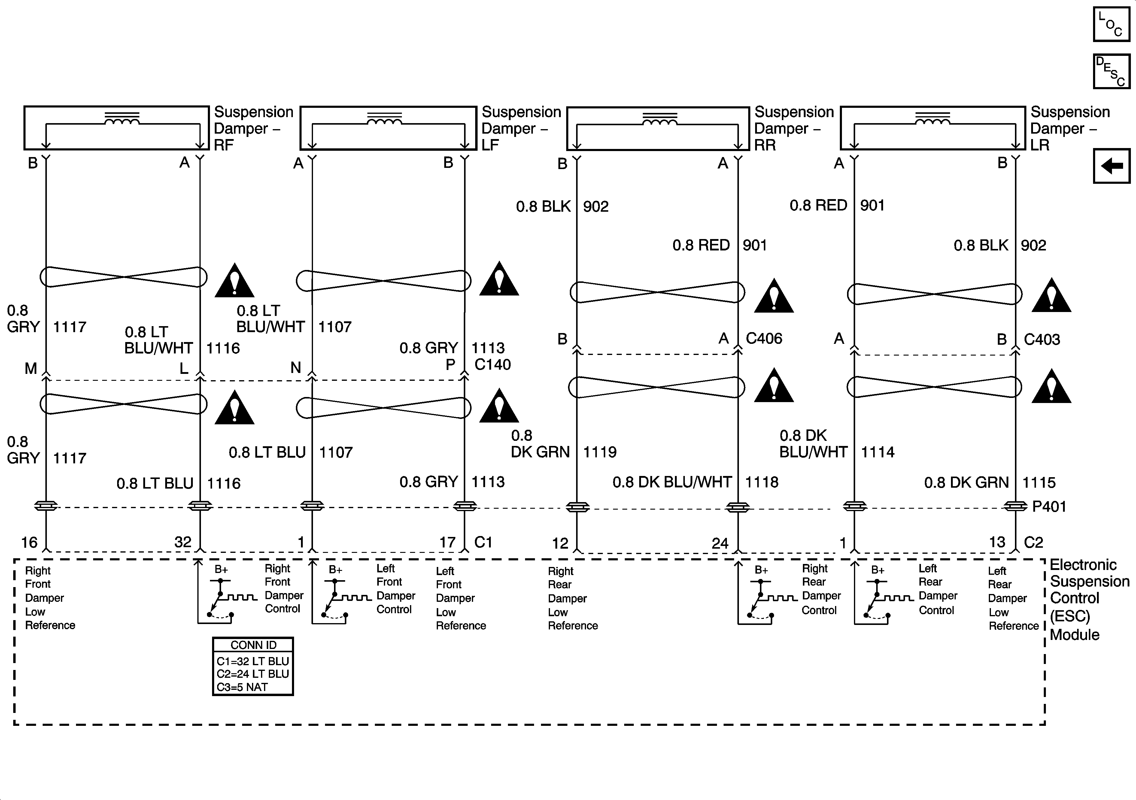
Figure
3:
Suspension Dampers
Master Electrical Component List
Electronic Suspension Control Description and Operation
Suspension Position Sensors
Suspension Controls Schematic Icons
Suspension Controls Schematic Icons
Suspension Controls Schematic Icons
Suspension Controls Schematic Icons
Suspension Controls Schematic Icons
Suspension Controls Schematic Icons
Suspension Controls Schematic Icons
Suspension Controls Schematic Icons