GM Service Manual Online
For 1990-2009 cars only
Table 1: Electronic Suspension Control (ESC) Module C1
Table 2: Electronic Suspension Control (ESC) Module C2
Table 3: Electronic Suspension Control (ESC) Module C3
Table 4: Suspension Damper -- LF
Table 5: Suspension Damper -- RF
Table 6: Suspension Damper -- LR
Table 7: Suspension Damper -- RR
Table 8: Suspension Position Sensor -- LF
Table 9: Suspension Position Sensor -- RF
Table 10: Suspension Position Sensor -- LR
Table 11: Suspension Position Sensor -- RR

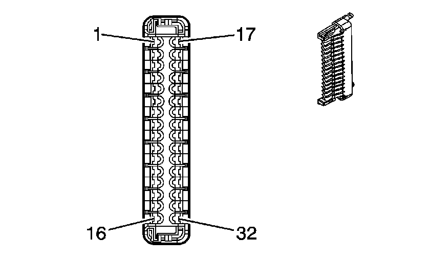
Electronic Suspension Control (ESC) Module C1


Object Number: 39787  Size: CH

Connector Part Information

    • 12129025
    • 32-Way F Micro-Pack 100 Series (GRY)

Pin

Wire Color

Circuit No.

Function

1

LT BLU

1107

Left Front Damper Control

2

--

--

Not Used

3

TAN/WHT

1207

Left Front Suspension Position Sensor Signal

4

PPL/WHT

1205

Left Front Suspension Position Sensor Voltage Reference

5 - 10

--

--

Not Used

11

LT BLU

2627

Steering Position Sensor Signal

12

--

--

Not Used

13

TAN/WHT

1213

Right Front Suspension Position Sensor Signal

14

PPL/WHT

1211

Right Front Suspension Position Sensor Voltage Reference

15

--

--

Not Used

16

GRY

1117

Right Front Damper Low Reference

17

GRY

1113

Left Front Damper Low Reference

18

--

--

Not Used

19

LT BLU/BLK

1206

Left Front Suspension Position Sensor Low Reference

20 - 28

--

--

Not Used

29

LT BLU/BLK

1212

Right Front Suspension Position Sensor Low Reference

30- 31

--

--

Not Used

32

LT BLU

1116

Right Front Damper Control

Electronic Suspension Control (ESC) Module C2


Object Number: 39784  Size: CH

Connector Part Information

    • 12129225
    • 24 Way F Micro-Pack 100 Series (BLK)

Pin

Wire Color

Circuit No.

Function

1

DK BLU/WHT

1114

Left Rear Damper Control

2

--

--

Not Used

3

LT GRN/WHT

1210

Left Rear Suspension Position Sensor Signal

4

RED/BLK

1208

Left Rear Suspension Position Sensor Voltage Reference

5

TAN/WHT

1384

Selective Ride Control Switch Signal

6

DK BLU/WHT

1126

SCM (Suspension) Class 2 Serial Data

7 - 8

--

--

Not Used

9

LT GRN/WHT

1216

Right Rear Suspension Position Sensor Signal

10

RED/BLK

1214

Right Rear Suspension Position Sensor Voltage Reference

11

--

--

Not Used

12

DK GRN

1119

Right Rear Damper Low Reference

13

DK GRN

1115

Left Rear Damper Low Reference

14

--

--

Not Used

15

LT GRN/BLK

1209

Left Rear Suspension Position Sensor Low Reference

16

--

--

Not Used

17

PNK/BLK

1385

Selective Ride Control Switch Low Reference

18 - 19

--

--

Not Used

20

PNK/WHT

1101

Damping Lift/Dive Signal

21

LT GRN/BLK

1215

Right Rear Suspension Position Sensor Low Reference

22 - 23

--

--

Not Used

24

DK BLU/WHT

1118

Right Rear Damper Control

Electronic Suspension Control (ESC) Module C3


Object Number: 832586  Size: CH

Connector Part Information

    • 12146741
    • 5-Way F Metri-Pack 280 Series (NAT)

Pin

Wire Color

Circuit No.

Function

A

--

--

Not Used

B

RED

1842

Battery Positive Voltage

C

BRN

641

Ignition 3 Voltage

D

BLK

1351

Ground

E

--

--

Not Used

Suspension Damper -- LF


Object Number: 287974  Size: CH

Connector Part Information

    • 15305168
    • 2-Way F Metri-Pack 150 Series (GRY)

Pin

Wire Color

Circuit No.

Function

A

LT BLU/WHT

1107

Left Front Damper Control

B

GRY

1113

Left Front Damper Low Reference

Suspension Damper -- RF


Object Number: 287974  Size: CH

Connector Part Information

    • 15305168
    • 2-Way F Metri-Pack 150 Series (GRY)

Pin

Wire Color

Circuit No.

Function

A

LT BLU/WHT

1116

Right Front Damper Control

B

GRY

1117

Right Front Damper Low Reference

Suspension Damper -- LR


Object Number: 287974  Size: CH

Connector Part Information

    • 15305168
    • 2-Way F Metri-Pack 150 Series (BLK)

Pin

Wire Color

Circuit No.

Function

A

RED

901

Left Rear Damper Control

B

BLK

902

Left Rear Damper Low Reference

Suspension Damper -- RR


Object Number: 287974  Size: CH

Connector Part Information

    • 15305168
    • 2-Way F Metri-Pack 150 Series (BLK)

Pin

Wire Color

Circuit No.

Function

A

RED

901

Right Rear Damper Control

B

BLK

902

Right Rear Damper Low Reference

Suspension Position Sensor -- LF


Object Number: 655690  Size: CH

Connector Part Information

    • 12129615
    • 3-Way M Metri-Pack 150 Series (BLK)

Pin

Wire Color

Circuit No.

Function

A

PPL/WHT

1205

Left Front Suspension Position Sensor Voltage Reference

B

TAN/WHT

1207

Left Front Suspension Position Sensor Signal

C

LT BLU/BLK

1206

Left Front Suspension Position Sensor Low Reference

Suspension Position Sensor -- RF


Object Number: 655690  Size: CH

Connector Part Information

    • 12129615
    • 3-Way M Metri-Pack 150 Series (BLK)

Pin

Wire Color

Circuit No.

Function

A

PPL/WHT

1211

Right Front Suspension Position Sensor Voltage Reference

B

TAN/WHT

1213

Right Front Suspension Position Sensor Signal

C

LT BLU/BLK

1212

Right Front Suspension Position Sensor Low Reference

Suspension Position Sensor -- LR


Object Number: 655690  Size: CH

Connector Part Information

    • 12129615
    • 3-Way M Metri-Pack 150 Series (BLK)

Pin

Wire Color

Circuit No.

Function

A

RED/BLK

1208

Left Rear Suspension Position Sensor Voltage Reference

B

LT GRN/WHT

1210

Left Rear Suspension Position Sensor Signal

C

LT GRN/BLK

1209

Left Rear Suspension Position Sensor Low Reference

Suspension Position Sensor -- RR


Object Number: 655690  Size: CH

Connector Part Information

    • 12129615
    • 3-Way M Metri-Pack 150 Series (BLK)

Pin

Wire Color

Circuit No.

Function

A

RED/BLK

1214

Right Rear Suspension Position Sensor Voltage Reference

B

LT GRN/WHT

1216

Right Rear Suspension Position Sensor Signal

C

LT GRN/BLK

1215

Right Rear Suspension Position Sensor Low Reference