GM Service Manual Online
For 1990-2009 cars only
Makes
🢒
Chevrolet
🢒
2003
🢒
Corvette
🢒 Coupe and Hardtop
Coupe and Hardtop
Coupe and Hardtop
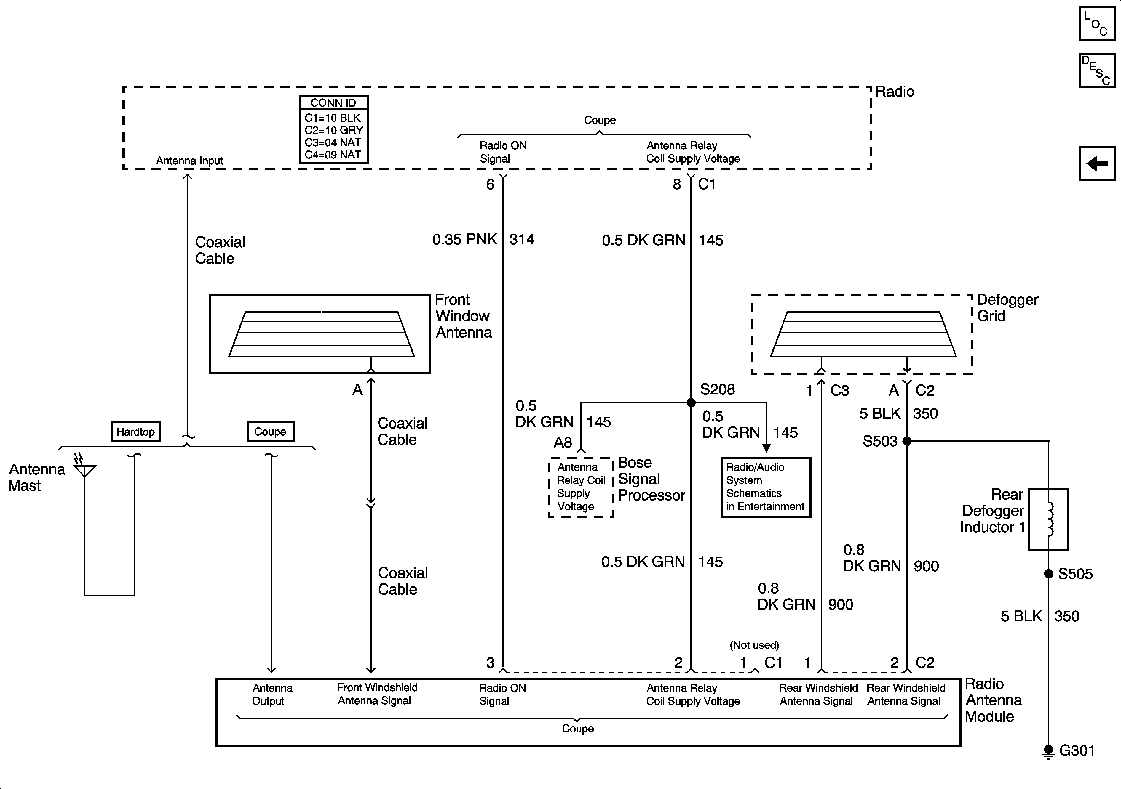
Master Electrical Component List
Radio/Audio System Description and Operation
Convertible
Bose Relay Control