GM Service Manual Online
For 1990-2009 cars only

Object Number: 1206011  Size: LF
Master Electrical Component List
Manual Transmission Schematics
OBD II Symbol Description Notice

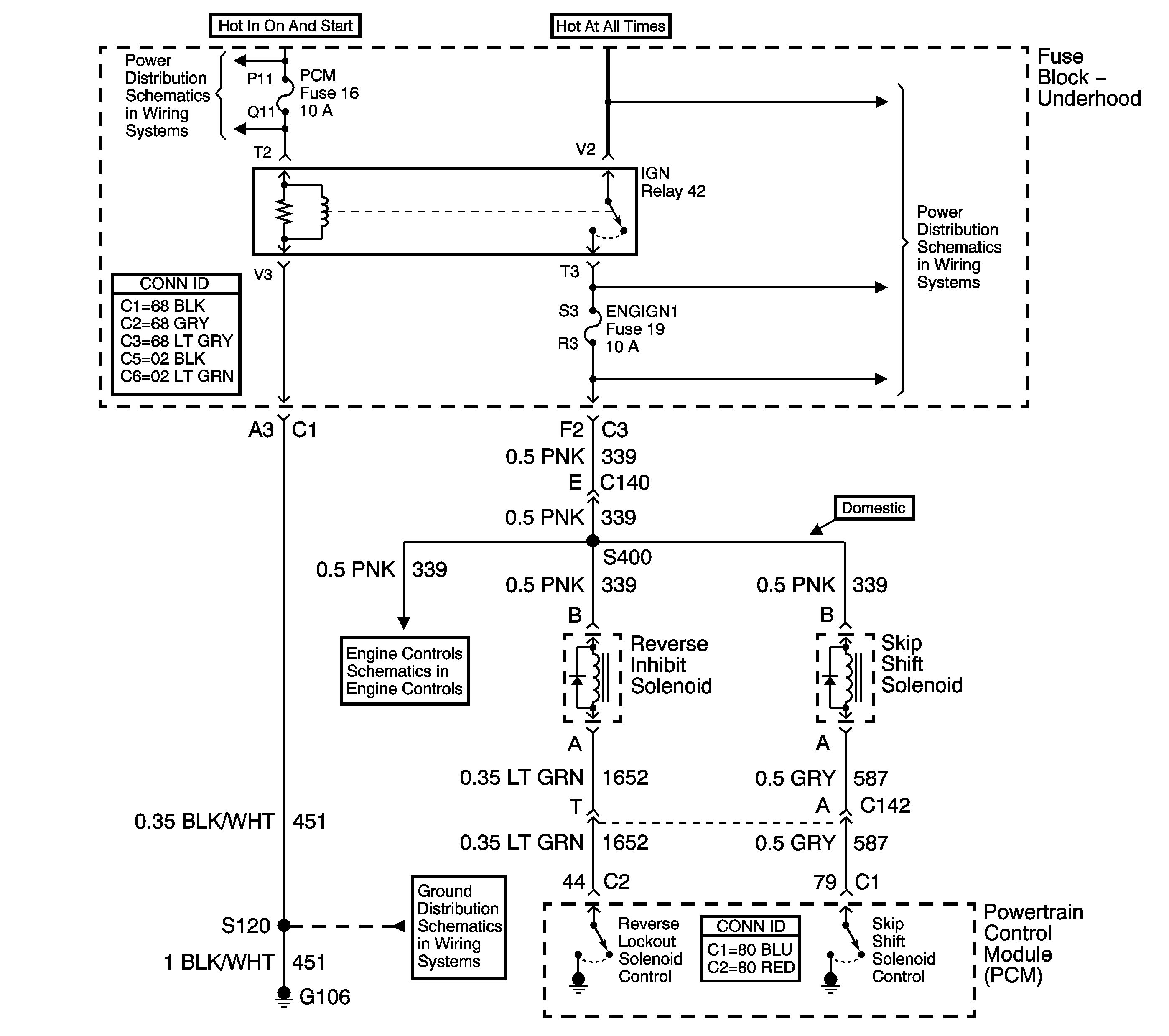
Circuit Description

With the ignition ON battery voltage is supplied directly to the reverse inhibit solenoid. The powertrain control module (PCM) controls the solenoid by grounding the control circuit via an internal switch called a driver. The driver supplies the ground for the component being controlled. Each driver has a fault line which the PCM monitors. When the PCM commands a component ON, the voltage of the control circuit should be low, near 0 volts. When the PCM commands the control circuit to a component OFF, the voltage potential of the circuit should be high, near battery voltage. If the internal fault detection circuit senses a voltage other than what is expected, the fault line status changes, causing DTC P0801 to set. DTC P0801 is a type C DTC.

Conditions for Running the DTC

The engine is running.

Conditions for Setting the DTC

    • The PCM detects that the commanded state of the driver and the actual state of the control circuit do not match.
    • Condition must exist for a minimum of 5 seconds.

Action Taken When the DTC Sets

    • The PCM stores the DTC information into memory when the diagnostic runs and fails.
    • The malfunction indicator lamp (MIL) will not illuminate.
    • The PCM records the operating conditions at the time the diagnostic fails and stores this information in the Failure Records.

Conditions for Clearing the DTC

    • A last test failed, or current DTC clears, when the diagnostic runs and does not fail.
    • A history DTC will clear after 40 consecutive warm-up cycles, if no failures are reported by this or any other non-emission related diagnostic.
    • Use the scan tool in order to clear the DTC.

Diagnostic Aids

    • Remove any debris from the PCM connector surfaces before servicing the PCM. Inspect the PCM connector gaskets when diagnosing/replacing the PCM. Ensure that the gaskets are installed correctly. The gaskets prevent contaminate intrusion into the PCM.
    • For any test that requires probing the PCM or a component harness connector, use the J 35616 connector test adapter kit. Using this kit prevents damage to the harness/component terminals. Refer to Using Connector Test Adapters in Wiring Systems.
    • Low system voltage can cause this DTC to set. When reviewing captured data, verify if a low system voltage condition was present at the time the DTC was stored in memory.
    •  For an intermittent condition, refer to Testing for Intermittent Conditions and Poor Connections in Wiring Systems

Test Description

The numbers below refer to the step numbers on the diagnostic table.

  1. Listen for an audible click when the reverse inhibit solenoid operates. Command both the ON and OFF states. Repeat the commands as necessary.

  2. Tests for voltage at the coil side of the reverse inhibit solenoid. The ENG IGN 1 fuse supplies power to the coil side of the reverse inhibit solenoid.

  3. Verifies that the powertrain control module (PCM) is providing ground to the reverse inhibit solenoid.

  4. Tests if ground is constantly being applied to the reverse inhibit solenoid.

Step

Action

Yes

No

1

Did you perform the Diagnostic System Check - Engine Controls?

Go to Step 2

Go to Diagnostic System Check - Engine Controls in Engine Controls - 5.7L

2

  1. Install a scan tool.
  2. Turn ON the ignition, with the engine OFF.
  3. With a scan tool, command the reverse inhibit solenoid ON and OFF.

Does the reverse inhibit solenoid turn ON and OFF?

Go to Step 3

Go to Step 4

3

  1. Observe the Freeze Frame and/or Failure records data for this DTC.
  2. Turn OFF the ignition for 30 seconds.
  3. Start the engine.
  4. Operate the vehicle within the Conditions for Running the DTC as specified in the supporting text or as close to the Freeze Frame and/or Failure records data that you observed.

Does the DTC fail this ignition?

Go to Step 4

Go to Testing for Intermittent Conditions and Poor Connections in Wiring Systems

4

  1. Turn OFF the ignition.
  2. Disconnect the reverse inhibit solenoid.
  3. Turn ON the ignition, with the engine OFF.
  4. Probe the ignition 1 voltage circuit of the reverse inhibit solenoid with a test lamp that is connected to a good ground.

Does the test lamp illuminate?

Go to Step 5

Go to Step 11

5

  1. Connect a test lamp between the control circuit of the reverse inhibit solenoid and the ignition 1 voltage circuit of the reverse inhibit solenoid.
  2. With a scan tool, command the reverse inhibit solenoid ON and OFF .

Does the test lamp turn ON and OFF?

Go to Step 9

Go to Step 6

6

Does the test lamp remain illuminated with each command?

Go to Step 8

Go to Step 7

7

Test the control circuit of the reverse inhibit solenoid for a short to voltage or an open. Refer to Circuit Testing and Wiring Repairs in Wiring Systems.

Did you find and correct the condition?

Go to Step 14

Go to Step 10

8

Test the control circuit of the reverse inhibit solenoid for a short to ground. Refer to Testing for Short to Ground and Wiring Repairs in Wiring Systems.

Did you find and correct the condition?

Go to Step 14

Go to Step 10

9

Inspect for poor connections at the reverse inhibit solenoid. Refer to Testing for Intermittent Conditions and Poor Connections and Connector Repairs in Wiring Systems.

Did you find and correct the condition?

Go to Step 14

Go to Step 12

10

Inspect for poor connections at the harness connector of the powertrain control module (PCM). Refer to Testing for Intermittent Conditions and Poor Connections and Connector Repairs in Wiring Systems.

Did you find and correct the condition?

Go to Step 14

Go to Step 13

11

Repair the ignition 1 voltage circuit of the reverse inhibit solenoid. Refer to Wiring Repairs in Wiring Systems.

Did you complete the repair?

Go to Step 14

--

12

Replace the reverse inhibit solenoid. Refer to Gear Select/Skip Shift Solenoid Replacement .

Did you complete the replacement?

Go to Step 14

--

13

Replace the powertrain control module (PCM). Refer to Powertrain Control Module Replacement in Engine Controls - 5.7L.

Did you complete the replacement?

Go to Step 14

--

14

Perform the following procedure in order to verify the repair:

  1. Select DTC.
  2. Select Clear Info.
  3. Operate the vehicle.
  4. Select Specific DTC.
  5. Enter DTC P0801.

Has the test run and passed?

Go to Step 15

Go to Step 2

15

With the scan tool, observe the stored information, capture info and DTC info.

Does the scan tool display any DTCs that you have not diagnosed?

Go to Diagnostic Trouble Code (DTC) List in Engine Controls - 5.7L

System OK