GM Service Manual Online
For 1990-2009 cars only

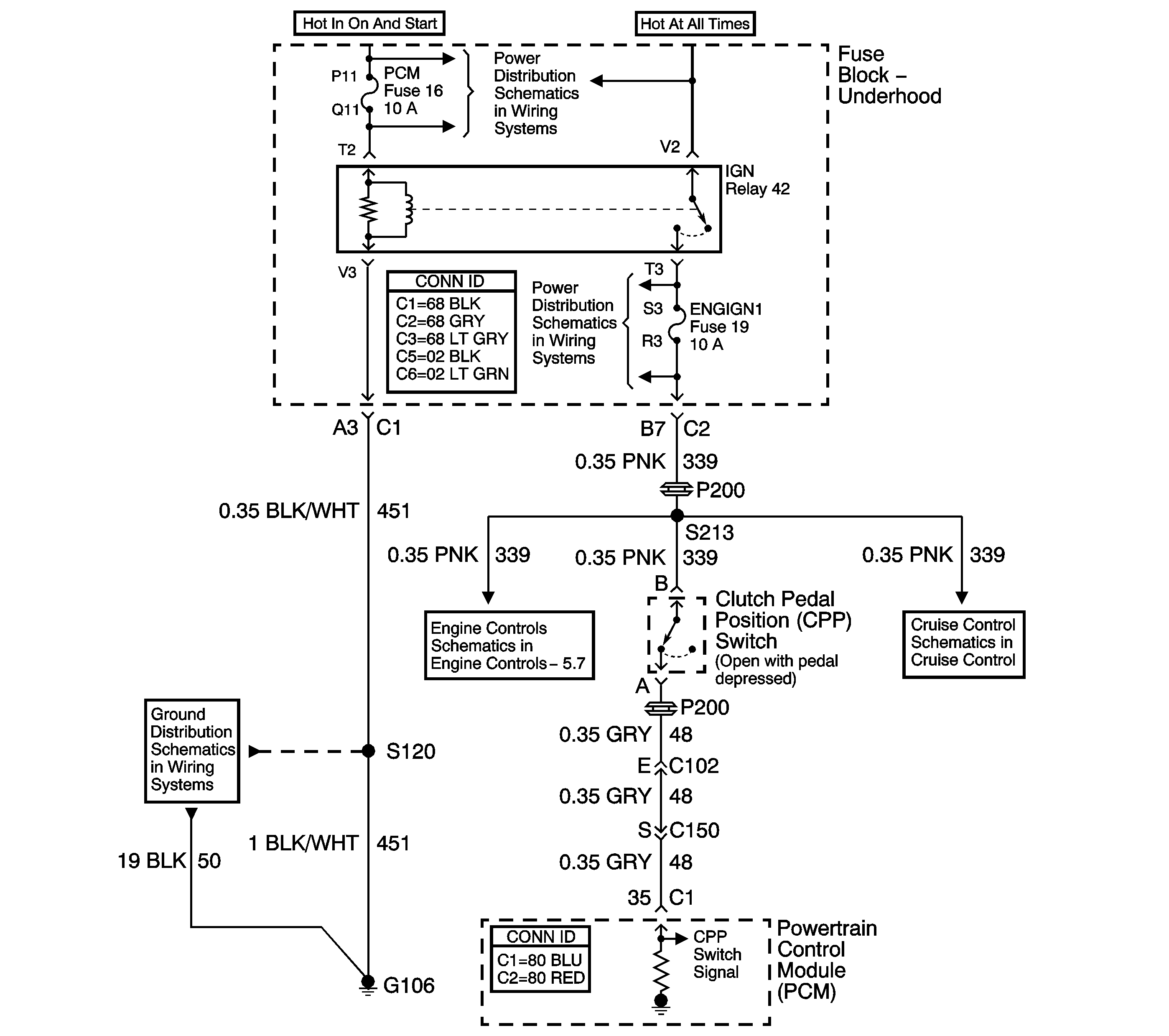
Object Number: 892699  Size: LF
Master Electrical Component List
Manual Transmission Schematics
OBD II Symbol Description Notice

Circuit Description

Battery voltage is supplied from the Engine Ignition 1 fuse to the clutch switch. The clutch switch is a normally closed switch. When the clutch pedal is released, the clutch pedal position switch signal circuit is pulled up to B+. When the clutch pedal is applied, the switch opens, and the voltage drops to 0 volts.

If the powertrain control module (PCM) detects a specified number of vehicle speed transitions without detecting a clutch switch transition, DTC P0704 sets. DTC P0704 is a type B DTC.

Conditions for Running the DTC

No vehicle speed sensor (VSS) DTC P0500.

Conditions for Setting the DTC

    • The vehicle speed goes from 0 km/h (0 mph) to greater than 39 km/h (24 mph) and back to 0 km/h (0 mph) for 2 seconds without the PCM detecting a clutch transition.
    • This must occur 7 times before the diagnostic reports a fault.

Action Taken When the DTC Sets

    • The PCM illuminates the malfunction indicator lamp (MIL) on the second consecutive drive trip that the diagnostic runs and fails.
    • Cruise control is disabled.
    • The PCM records the operating conditions at the time when the Conditions for Setting the DTC are met. The PCM stores this information as Freeze Frame and Failure Records.
    • The PCM stores P0704 in PCM history.

Conditions for Clearing the MIL/DTC

    • The DTC clears when the diagnostic runs and does not fail.
    • A History DTC clears after 40 consecutive warm-up cycles, if this or any other emission related diagnostic does not report any failures.
    • Use a scan tool in order to clear the MIL/DTC.

Diagnostic Aids

Important: 

   • Remove any debris from the PCM connector surfaces before servicing the PCM. Inspect the PCM connector gaskets when diagnosing/replacing the module. Ensure that the gaskets are installed correctly. The gaskets prevent contaminate intrusion into the PCM.
   • For any test that requires probing the PCM or a component harness connector, use the J 35616 GM terminal test kit. Using this kit prevents damage to the harness/component terminals. Refer to Using Connector Test Adapters in Wiring Systems.

For clutch switch adjustment refer to Clutch Pedal Position Switch Replacement in Clutch.

Test Description

The numbers below refer to the step numbers on the diagnostic table.

  1. This step ensures that the technician has performed a Diagnostic System Check on the Manual Transmission System.

  2. This test confirms if the scan tool is receiving a clutch switch position signal.

  3. This step inspects the clutch pedal connector and adjustment.

  4. This step tests for a short to ground.

  5. This step tests for voltage to the fuse.

  6. This step tests for voltage to the clutch pedal position switch.

  7. This step tests the clutch pedal position switch.

  8. This step tests the Clutch Pedal Position switch signal circuit.

  9. This step tests the Ignition 1 Voltage circuit for a short to ground.

  10. This step tests the Clutch Pedal Position switch signal circuit for a ground.

  11. This step ensures that the technician has verified the system is operating normally.

Step

Action

Values

Yes

No

1

Did you perform the Diagnostic System Check - Engine Controls?

--

Go to Step 2

Go to Diagnostic System Check - Engine Controls in Engine Controls - 5.7L

2

  1. Install a scan tool.
  2. Turn ON the ignition, with the engine OFF.
  3. Use the scan tool to monitor the clutch pedal position switch parameter.
  4. Apply and release the clutch pedal several times.

Does the scan tool indicate a change in state when the clutch pedal is either applied or released?

--

Go to Intermittent Conditions in Engine Controls - 5.7L

Go to Step 3

3

Inspect the adjustment of the clutch pedal position switch and the connector.

Does the clutch switch require adjustment or the connector require service?

--

Go to Step 11

Go to Step 4

4

Is the Engine Ignition 1 fuse open?

--

Go to Step 9

Go to Step 5

5

  1. Start the vehicle.
  2. Using a DMM, measure voltage at the Engine Ignition 1 fuse in the underhood fuse block.

Does the DMM indicate the specified value?

B+

Go to Step 6

Go to Step 12

6

  1. Turn OFF the ignition.
  2. Disconnect the clutch pedal position switch connector.
  3. Start the vehicle.
  4. Using a DMM, measure the voltage at the Ignition 1 Voltage circuit.

Does the DMM indicate the specified value?

B+

Go to Step 7

Go to Step 13

7

  1. Use the scan tool to monitor the clutch pedal position switch parameter.
  2. Put the transmission in Neutral.
  3. Apply the parking brake.
  4. Start the vehicle.
  5. Use a fused jumper wire to repeatedly connect and disconnect pin A and pin B of the clutch pedal position switch electrical connector.

Does the scan tool parameter display applied and released?

--

Go to Step 15

Go to Step 8

8

  1. Turn the ignition switch OFF.
  2. Disconnect C1 at the PCM.
  3. Using the DMM, test for continuity and a short to voltage on the Clutch Pedal Position switch signal circuit.

Did you find a short to voltage, high resistance or an open on the Clutch Pedal Position switch signal circuit?

--

Go to Step 14

Go to Step 16

9

  1. Turn the ignition switch OFF.
  2. Remove the Engine Ignition 1 fuse.
  3. Disconnect the clutch pedal position switch connector and C1 at the PCM.
  4. Using a DMM, test for a short to ground on the Ignition 1 Voltage circuit at the switch connector.

Is the Ignition 1 Voltage circuit grounded?

--

Go to Step 13

Go to Step 10

10

Using a DMM, test for a short to ground on the Clutch Pedal Position switch signal circuit at the switch connector.

Is the Clutch Pedal Position switch signal circuit grounded?

--

Go to Step 14

Go to Step 15

11

Adjust the clutch pedal position switch or repair the connector as necessary.

Did you complete the repair?

--

Go to Step 17

--

12

Important: Voltage to this fuse is run through the Ignition relay. Refer to Power Distribution Schematics in Wiring Systems.

Repair the Power Distribution circuit to the Engine Ignition 1 fuse.

Did you complete the repair?

--

Go to Step 17

--

13

Repair the open, high resistance or short to ground in the Ignition 1 Voltage circuit or a parallel circuit that uses the fuse.

Did you complete the repair?

--

Go to Step 17

--

14

Repair the open, high resistance or short in the Clutch Pedal Position switch signal circuit.

Did you complete the repair?

--

Go to Step 17

--

15

Replace the clutch pedal position switch. Refer to Clutch Pedal Position Switch Replacement .

Is the action complete?

--

Go to Step 17

--

16

Replace the PCM. Refer to Powertrain Control Module Replacement in Engine Controls - 5.7L.

Is the action complete?

--

Go to Step 17

--

17

Perform the following procedure in order to verify the repair:

  1. Select DTC.
  2. Select Clear Info.
  3. Operate the vehicle from 0 km/h (0 mph) to above 38 km/h (24 mph) then back to 0 km/h (0 mph) 7 times.
  4. Select Specific DTC.
  5. Enter DTC P0704.

Has the test run and passed?

--

Go to Step 18

Go to Step 2

18

With the scan tool, observe the stored information, capture info and DTC info.

Does the scan tool display any DTCs that you have not diagnosed?

--

Go to Diagnostic Trouble Code (DTC) List in Engine Controls - 5.7L

System OK