GM Service Manual Online
For 1990-2009 cars only

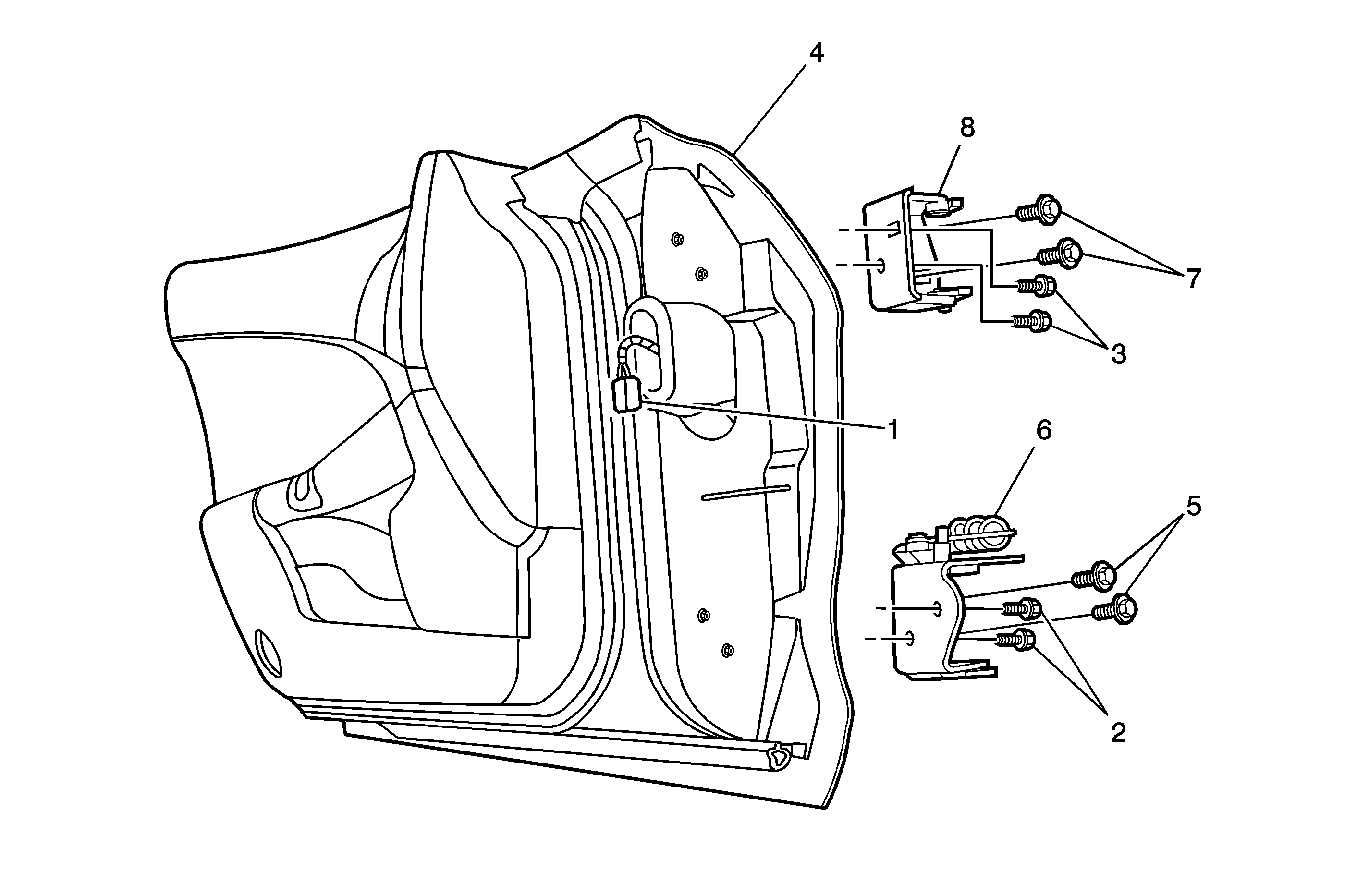
Object Number: 1461825  Size: MF

Callout

Component Name

Notice: Refer to Fastener Notice in the Preface section.

Fastener Tightening Specifications: Refer to Fastener Tightening Specifications .

Front Side Door Assembly Replacement

1

Harness, Front Side Door Wiring

Tip
Disconnect door wiring harness and reconnect when replacement is complete.

2

Bolt, Front Side Door Hinge Lower (Qty: 2)

Tighten
25 N·m (22 lb ft)

3

Bolt, Front Side Door Hinge Upper (Qty: 2)

Tighten
25 N·m (22 lb ft)

4

Door Assembly, Front Side

Notice: Striker alignment is a crucial part of door latch operation. Do not use the door striker to adjust the door to the vehicle. Failure to properly adjust the striker can result in damage to the door latch and the striker.

Tip
Check the door for proper alignment, adjust as necessary. Refer to Front Side Door Adjustment .

Front Side Door Lower Hinge Assembly Replacement

2

Bolt, Front Side Door Hinge Lower (Qty: 2)

Tighten
30 N·m (18 lb ft)

5

Bolt, Front Side Door Hinge Lower (Qty: 2)

Tighten
30 N·m (18 lb ft)

6

Hinge Assembly, Front Side Door Lower

Notice: Striker alignment is a crucial part of door latch operation. Do not use the door striker to adjust the door to the vehicle. Failure to properly adjust the striker can result in damage to the door latch and the striker.

Tip

    • Check the door for proper alignment, adjust as necessary. Refer to Front Side Door Adjustment .
    • Replace one hinge at a time.

Front Side Door Upper Hinge Assembly Replacement

3

Bolt, Front Side Door Hinge Upper (Qty: 2)

Tighten
30 N·m (22 lb ft)

7

Bolt, Front Side Door Hinge Upper (Qty: 2)

Tighten
30 N·m (22 lb ft)

8

Hinge Assembly, Front Side Door Upper

Notice: Striker alignment is a crucial part of door latch operation. Do not use the door striker to adjust the door to the vehicle. Failure to properly adjust the striker can result in damage to the door latch and the striker.

Tip

    • Check the door for proper alignment, adjust as necessary. Refer to Front Side Door Adjustment .
    • Replace one hinge at a time.