GM Service Manual Online
For 1990-2009 cars only

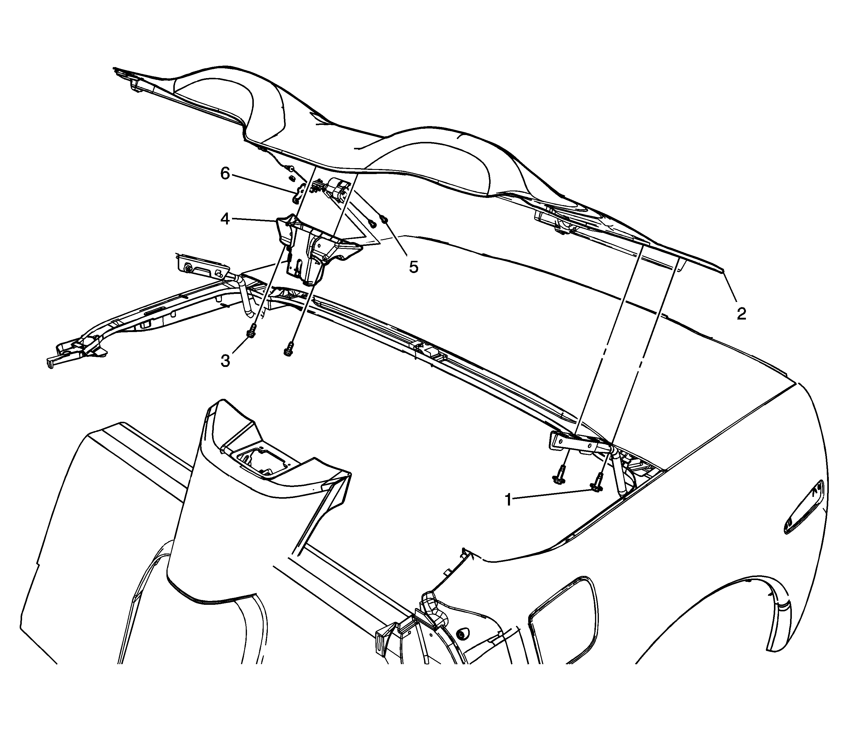
Object Number: 1507713  Size: LF

Callout

Component Name

Notice: Refer to Fastener Notice in the Preface section.

Fastener Tightening Specifications: Refer to Fastener Tightening Specifications .

Folding Top Cover Replacement

1

Folding Top Cover Bolts (Qty: 4)

Tighten
25 N·m (18 lb ft)

2

Folding Top Cover Lid

Tip

    • Mark the location of the hinge with a grease pencil.
    • Adjust as necessary.
    • Disconnect latch actuator electrical connector.

Folding Top Cover Latch Replacement

3

Folding Top Cover Latch Bolts (Qty: 2)

Tighten
10 N·m (89 lb in)

4

Folding Top Cover Latch Assembly

Folding Top Cover Latch Actuator Replacement

5

Folding Top Cover Latch Actuator Screws

Tighten
2 N·m (18 lb in)

6

Folding Top Cover Latch Actuator