Caution: Do not try to remove a roof panel while the vehicle is moving. Trying to remove the roof panel while the vehicle is moving could cause an accident. The panel could fall into the vehicle and cause you to lose control, or it could fly off and strike another vehicle. You or others could be injured. Remove the roof panel only when the vehicle is parked.
Until you are sure you can remove the panel alone, have someone help you.
Notice: If you drop or rest a roof panel on its edges, the roof panel, paint and/or weatherstripping may be damaged. Always place the roof panel in the stowage receivers after removing it from the vehicle.
There are two release latches on the front of the roof panel and one rear release latch on the back of the roof panel.
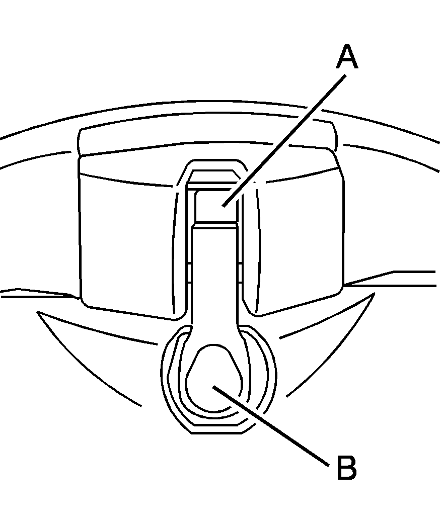
To unlock the rear of the roof panel's rear release latch, press the back of the release handle (B). Then press the button on the front of the release handle (A).