GM Service Manual Online
For 1990-2009 cars only
Makes
🢒
Chevrolet
🢒
2007
🢒
Corvette
🢒
Engine
🢒
Engine Mechanical - 6.0L
🢒 Disassembled Views
Figure
1:
Intake Manifold/Upper Engine
(100)
Engine Block
(307)
Engine Coolant Air Bleed Pipe
(308)
Seal
(308)
Seal
(309)
Bolt
(312)
Bolt
(313)
Engine Coolant Air Bleed Cover
(500)
Intake Manifold
(506)
Bolt
(508)
Throttle Body
(509)
Throttle Body Gasket
(510)
Fuel Rail with Injectors
(511)
Bolt
(512)
Bolt
(513)
Seal
(514)
Intake Manifold Gasket
(537)
Seal
(538)
Bolt
(555)
Valley Cover
(556)
Valley Cover Gasket
(557)
Fuel Rail Ground Strap
(706)
Oil Pressure Sensor
(707)
Washer
(712)
Fuel Injection Fuel Rail Stop Bracket
(714)
Manifold Absolute Pressure (MAP) Sensor
(715)
Seal
(716)
Positive Crankcase Ventilation (PCV) Hose - Dirty Air
(729)
Evaporative Emission (EVAP) Canister Purge Tube
(730)
EVAP Canister Purge Solenoid Valve
(731)
Service Valve Cap
(734)
Service Valve
(735)
EVAP Canister Purge Tube
(740)
EVAP Tube Clip
(741)
EVAP Purge Valve Bracket
(742)
Bolt
Figure
2:
Cylinder Head/Upper Engine
(100)
Engine Block
(209)
Valve Lifter
(210)
Valve Lifter Guide
(211)
Bolt
(212)
Pushrod
(213)
Valve Rocker Arm
(214)
Bolt
(215)
Valve Rocker Arm Pivot Support
(216)
Core Hole Plug
(217)
Cylinder Head Gasket
(218)
Cylinder Head
(220)
Cylinder Head Bolt - M11
(221)
Cylinder Head Bolt - M8
(222)
Valve Stem Oil Seal
(223)
Valve Spring
(224)
Valve Spring Cap
(225)
Valve Stem Key
(226)
Core Hole Plug
(227)
Intake Valve
(228)
Exhaust Valve
(229)
Cylinder Head Plug
(230)
Cylinder Head Locating Pin
(422)
O-Ring
(423)
Oil Fill Tube
(424)
Oil Fill Cap
(450)
O-Ring
(504)
Valve Rocker Arm Cover Gasket
(504)
Valve Rocker Arm Cover Gasket
(505)
Valve Rocker Arm Cover
(505)
Valve Rocker Arm Cover
(515)
Bolt Grommet
(516)
Bolt
(558)
Plug
(600)
Exhaust Manifold
(601)
Exhaust Manifold Gasket
(602)
Bolt
(603)
Exhaust Manifold Heat Shield
(604)
Bolt
(605)
Stud
(700)
Positive Crankcase Ventilation (PCV) Hose - Fresh Air
(719)
Ignition Coil Bracket
(720)
Stud
(721)
Ignition Coil Wire Harness Assembly
(722)
Ignition Coil
(723)
Bolt
(724)
Spark Plug Wire
(725)
Coolant Temperature Sensor (CTS)
(726)
Spark Plug
Figure
3:
Front of Engine
(1)
Bolt
(2)
Water Inlet Housing
(3)
O-Ring
(4)
Thermostat
(5)
Bolt
(6)
Water Pump
(7)
Water Pump Gasket
(8)
Oil Level Indicator
(9)
O-Ring
(10)
Bolt
(11)
Oil Level Indicator Tube
(12)
O-Ring
(13)
Engine Block
(14)
Camshaft Bearings
(15)
Camshaft
(16)
Camshaft Sprocket Locating Pin
(17)
Crankshaft Sprocket
(18)
Crankshaft Balancer Washer
(19)
Camshaft Retainer
(20)
Bolt
(21)
Camshaft Sprocket
(22)
Bolt
(23)
Timing Chain
(24)
Timing Chain Tensioner
(25)
Bolt
(26)
Engine Front Cover Gasket
(27)
Engine Front Cover
(28)
Bolt
(29)
Crankshaft Front Oil Seal
(30)
Crankshaft Balancer
(31)
Bolt
(32)
Balance Weight - Crankshaft Balancer
(33)
Bolt
(34)
Camshaft Position (CMP) Sensor
(35)
O-Ring
(36)
Bolt
(37)
CMP Sensor Wire Harness
(38)
Bolt
(39)
Oil Pump
(40)
Bolt
(41)
Oil Pump Housing Cover
(42)
Oil Pump Drive Gear
(43)
Oil Pump Driven Gear
(44)
Oil Pump Housing Plug
(45)
Oil Pump Pressure Relief Valve Spring
(46)
Oil Pump Pressure Relief Valve
(47)
Bolt
(48)
O-Ring
(49)
Nut
(50)
Oil Pump Screen
Figure
4:
Rear of Engine
(100)
Engine Block
(123)
Transmission Pilot Bearing - Manual Transmission
(132)
Flex Plate - Automatic Transmission
(133)
Bolt
(134)
Flywheel - Manual Transmission
(135)
Clutch Driven Plate - Manual Transmission
(136)
Clutch Pressure Plate - Manual Transmission
(137)
Bolt
(141)
Crankshaft Rear Oil Seal
(142)
Clutch Pressure Plate Locating Pin - Manual Transmission
(144)
Balance Weight - Flywheel
(517)
Bolt
(518)
Crankshaft Rear Oil Seal Housing
(519)
Crankshaft Rear Oil Seal Housing Gasket
Figure
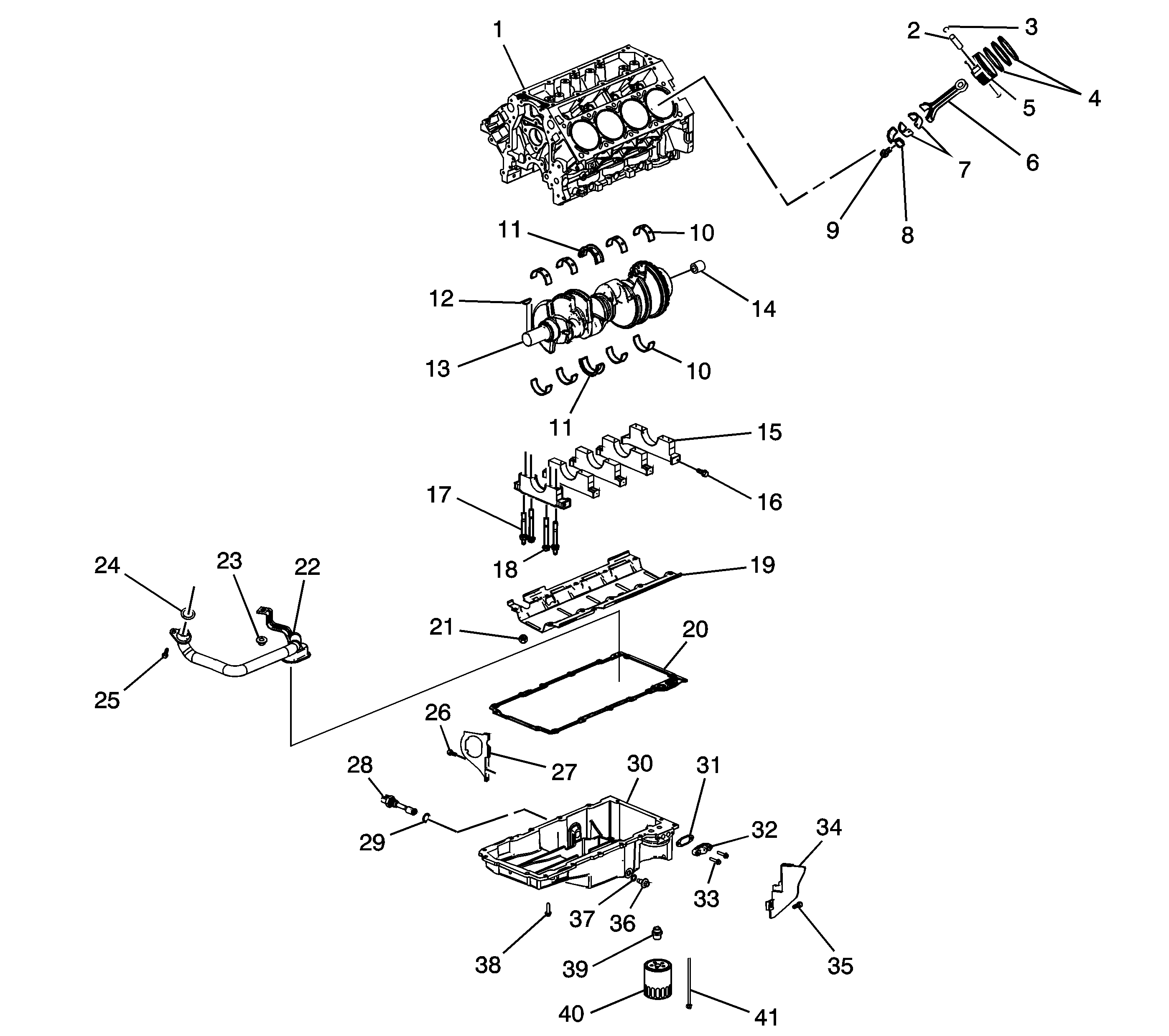
5:
Lower Engine Assembly
(1)
Engine Block
(2)
Piston Pin
(3)
Piston Pin Retainer
(4)
Piston Rings
(5)
Piston
(6)
Connecting Rod
(7)
Connecting Rod Bearings
(8)
Connecting Rod Cap
(9)
Bolt
(10)
Crankshaft Main Bearing
(10)
Crankshaft Main Bearing
(11)
Crankshaft Thrust Bearing
(11)
Crankshaft Thrust Bearing
(12)
Crankshaft Sprocket Key
(13)
Crankshaft
(14)
Transmission Pilot Bearing - Manual Transmission
(15)
Crankshaft Bearing Cap
(16)
Bolt - M8
(17)
Stud - M10
(18)
Bolt - M10
(19)
Crankshaft Oil Deflector
(20)
Oil Pan Gasket
(21)
Nut
(22)
Oil Pump Screen
(23)
Nut
(24)
O-Ring
(25)
Bolt
(26)
Bolt
(27)
Engine Closeout Cover - Right
(28)
Oil Level Sensor
(29)
O-Ring
(30)
Oil Pan
(31)
Oil Pan Cover Gasket
(32)
Oil Pan Cover
(33)
Bolt
(34)
Engine Closeout Cover - Left
(35)
Bolt
(36)
Oil Pan Drain Plug
(37)
O-Ring
(38)
Bolt
(39)
Oil Filter Fitting
(40)
Oil Filter
(41)
Bolt
Figure
6:
Engine Block Plugs/Sensors
(100)
Engine Block
(100)
Engine Block
(101)
Oil Gallery Plug - Front
(110)
O-Ring
(111)
Oil Gallery Plug - Rear
(112)
Oil Gallery Plug - Side
(113)
Washer
(114)
Engine Coolant Heater
(115)
Washer
(116)
Oil Gallery Plug - Side
(117)
Washer
(130)
Transmission Housing Locating Pin
(145)
Washer
(146)
Engine Block Coolant Drain Hole Plug
(701)
Crankshaft Position (CKP) Sensor
(702)
O-Ring
(718)
Knock Sensor
(718)
Knock Sensor
(739)
Bolt
(739)
Bolt
(750)
CKP Sensor Bolt
Figure
7:
Oil Pump Assembly
(408)
Bolt
(409)
Oil Pump Housing Cover
(410)
Oil Pump Drive Gear
(412)
Oil Pump Driven Gear
(413)
Oil Pump
(414)
Oil Pump Pressure Relief Valve
(415)
Oil Pump Pressure Relief Valve Spring
(416)
Oil Pump Housing Plug