GM Service Manual Online
For 1990-2009 cars only

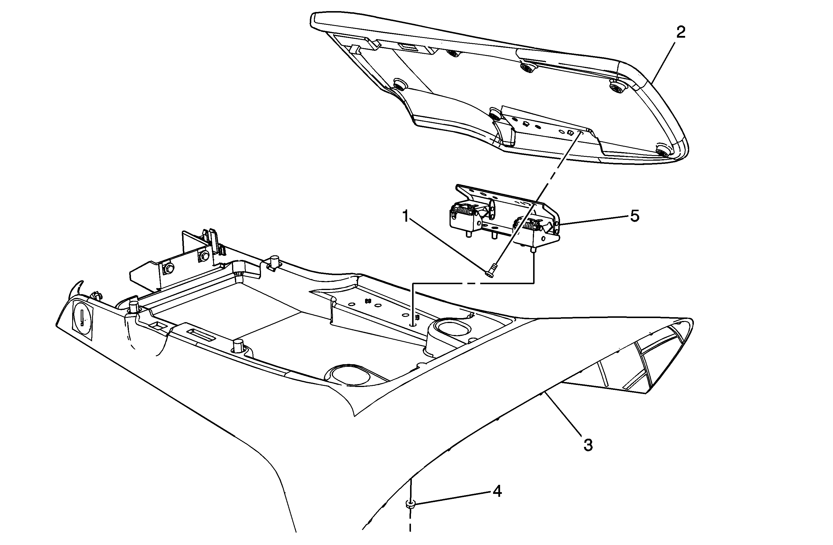
Object Number: 1471700  Size: MF

Callout

Component Name

Notice: Refer to Fastener Notice in the Preface section.

Fastener Tightening Specifications: Refer to Fastener Tightening Specifications .

1

Screws, Console Door (Qty: 4)

Tighten
2 N·m (18 lb in)

2

Door, Center Console

3

Console Assembly

Refer to Console Replacement .

4

Nut, Center Console Door Hinge (Qty: 4)

Tighten
10 N·m (88 lb in)

5

Hinge, Center Console Door