GM Service Manual Online
For 1990-2009 cars only

Differential Side Bearings Assemble Base

Special Tools

    • DT-48008 Press Support/Pinion Bearing Installer
    • DT-48009 Shim Selection Adapters
    • J 42155 Getrag Axle Differential Housing Lifting Tool
    • J 42168-1 Shim Measuring Tool
    • J 42168-2 Shim Measuring Tool
    • J 42168-9 Shim Measuring Tool
    • J 42168-11 Shim Measuring Tool
    • J 42168-15 Compressor Assembly
    • J 42168-16 Spacers
    • J 42170 Getrag Axle Bearing Race Installer
    • J 42173 Getrag Axle Ring Gear Holder

For equivalent regional tools, refer to Special Tools.


    Object Number: 1456390  Size: SH
  1. Remove the J 42168-9 measuring tool  (2) and thumbscrew from the J 42168-1 measuring tool  (1).
  2. Remove the J 42168-1 measuring tool  (1) from the left bearing cup bore of the differential housing.

  3. Object Number: 1654343  Size: SH

    Note: Level the tool in order to obtain accurate measurements.

  4. Install the DT-48009-2 adapter into a vice.

  5. Object Number: 1654348  Size: SH
  6. Position the bearing cup (2) onto the DT-48009-2 adapter  (3).
  7. Position the differential case (1) onto the DT-48009-2 adapter  (3) and into the bearing cup (2). Rotate the differential, in both directions, in order to seat the bearing to the race.

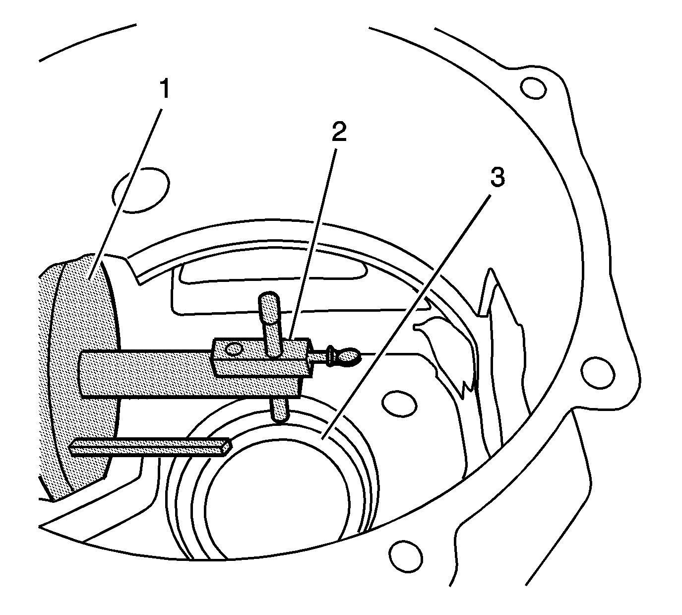
  8. Object Number: 1658454  Size: SH
  9. Install the DT-48009-3 adapter  (2) into the hole in J 42168-2 measuring tool  (1). Loosen the thumbscrew and allow the rod to contact the bottom of the bearing race bore, machined surface (3).
  10. Tighten the thumbscrew.
  11. Remove the DT-48009-3 adapter  (2) from the J 42168-2 measuring tool  (1).

  12. Object Number: 1654350  Size: SH
  13. Using a ring gear bolt, attach the DT-48009-3 adapter  (2) to the ring gear side of the differential (1).
  14. Rotate the differential until the rod of the DT-48009-3 adapter  (2) is above the DT-48009-2 adapter  (3) gage block.

  15. Object Number: 1658464  Size: SH
  16. The DT-48009-2 adapter upper gage block location (1) is used when servicing 2.56 ratio differentials. The lower gage block location (2) is used when servicing the 3.42 ratio differentials.

  17. Object Number: 1654353  Size: SH
  18. Using a feeler gage, measure the distance between the rod of the DT-48009-3 adapter  (1) and the gage block of the DT-48009-2 adapter  (2). Record the measurement as dimension C1.
  19. Subtract C1 value from a C nominal value of 5 mm (0.197 in). Record that calculation as C2.
  20. Refer to the applicable calculation table in Spacer and Shim Specifications.


    Object Number: 708130  Size: SH
  21. Locate the A2 value (2) on the side of the ring gear.
  22. Note: The A2 value is a manufacturing variation between the ring gear and pinion. The A2 value may be higher, lower, or equal to 65.5 mm (2.58 in), 3.42 ratio differentials, or 74.5 mm (2.93 in), 2.56 ratio differential, nominal value. When subtracting the D nominal value from the A2 value, the C3 calculation may compute to a positive, negative, or zero total.

  23. Subtract the D nominal value of either 65.5 mm (2.58 in) or 74.5 mm (2.93 in) from the A2 value. Record the calculation as C3.
  24. Add the C2 value to the C3 value for the proper left side differential bearing shim thickness. The C3 value may be a positive, negative, or zero value.

  25. Object Number: 1456395  Size: SH
  26. Select shims equal to the calculated value. It may be necessary to round the shim or shims total to obtain the proper shim sizes. If the shim thickness calculation is past the midpoint value, round the number to the next decimal value. Refer to Rear Axle Specifications.
  27. Remove the pinion housing/cage bolts (1).
  28. Remove the pinion housing/cage (2) from the differential.

  29. Object Number: 1658469  Size: SH
  30. Remove the J 42168-11 measuring tool  (1), bearings (2 and 5), spacer (4), and the J 42168-2 measuring tool  (6) from the pinion housing/cage (3).

  31. Object Number: 1654285  Size: SH

    Notice: Use the DT-48008 to support the differential housing in the press to prevent damage to the differential housing.

  32. Use the DT-48008 installer  (4), the J 42170 installer  (1) and a hydraulic press in order to install the selected shim (3) and bearing race (2) to the differential housing.

  33. Object Number: 1852864  Size: SH
  34. Install the ring gear (1) to the differential. Use several bolts to properly align the ring gear to the case.
  35. A hammer and brass punch may be used to aid in seating the ring gear onto the differential case.

    Note: 2 types of ring gear bolts may be available for replacement. First design bolts (3) have serrations under the head and are torqued to 195 N·m (144 lb ft). The second design (4) are smooth under the head and are torqued to 145 N·m (107 lb ft).

  36. Install the NEW ring gear bolts (2).

  37. Object Number: 72514  Size: SH
  38. Position the differential assembly onto the J 42173 ring gear holder .
  39. • Tighten the ring gear bolts to 195 N·m (144 lb ft) - 1st design.
    • Tighten the ring gear bolts to 145 N·m (107 lb ft) - 2nd design.

    Object Number: 1456356  Size: SH
  40. Use the J 42155 lifting tool in order to install the differential case into the differential housing.

  41. Object Number: 1456405  Size: SH
  42. Install the right side bearing cup, and the J 42168-15 compressor assembly onto the differential.

  43. Object Number: 1456412  Size: SH

    Note: In order to perform the shim selection procedure:

       • The oil seal must be removed from the right cover.
       • The pinion housing/cage must NOT be installed to the differential case.

  44. Install the right cover (2) and J 42168-16 spacers bolts (1) and spacers (3) to the differential. Position the J 42168-16 spacers bolts and spacers evenly apart. Tighten the bolts to 30 N·m (22 lb ft).

  45. Object Number: 1456414  Size: SH
  46. Insert a feeler gage into the J 42168-15 compressor assembly and measure the gap. The measured dimension is the right side differential bearing shim size.

  47. Object Number: 1456412  Size: SH
  48. Remove the bolts (1), cover (2), and tools.

  49. Object Number: 1456375  Size: SH
  50. Install the selected shim (2) and bearing cup (1) to the right cover.

  51. Object Number: 1456421  Size: SH
  52. Using the J 42170 installer and a hydraulic press, install the shim or shims and bearing cup into the right cover. Refer to Rear Axle Assemble .

Differential Side Bearings Assemble Z06

Special Tools

    • DT-48008 Press Support/Pinion Bearing Installer
    • DT-48009 Shim Selection Adapters
    • J 42155 Getrag Axle Differential Housing Lifting Tool
    • J 42168-1 Shim Measuring Tool
    • J 42168-9 Shim Measuring Tool
    • J 42168-11 Shim Measuring Tool
    • J 42168-15 Compressor Assembly
    • J 42168-16 Spacers
    • J 42170 Getrag Axle Bearing Race Installer
    • J 42173 Getrag Axle Ring Gear Holder

    Object Number: 1654329  Size: SH
  1. Remove the J 42168-9 measuring tool  (2) and thumbscrew from the J 42168-1 measuring tool  (1).
  2. Remove the J 42168-1 measuring tool  (1) from the left bearing cup bore of the differential housing.

  3. Object Number: 1654343  Size: SH

    Note: Level the tool in order to obtain accurate measurements.

  4. Install the DT-48009-2 adapter into a vice.

  5. Object Number: 1654348  Size: SH
  6. Position the bearing cup (2) onto the DT-48009-2 adapter  (3).
  7. Position the differential case (1) onto the DT-48009-2 adapter  (3) and into the bearing cup (2). Rotate the differential, in both directions, in order to seat the bearing to the race.

  8. Object Number: 1658454  Size: SH
  9. Install the DT-48009-3 adapter  (2) into the hole in DT-48009-1 adapter  (1). Loosen the thumbscrew and allow the rod to contact the bottom of the bearing race bore, machined surface (3).
  10. Tighten the thumbscrew.
  11. Remove the DT-48009-3 adapter  (2) from the DT-48009-1 adapter .

  12. Object Number: 1654350  Size: SH
  13. Using a ring gear bolt, attach the DT-48009-3 adapter  (2) to the ring gear side of the differential (1).
  14. Rotate the differential until the rod of the DT-48009-3 adapter  (2) is above the DT-48009-2 adapter  (3) gage block.

  15. Object Number: 1658907  Size: SH
  16. The DT-48009-2 adapter center gage block location (1) is used when servicing 3.42 Z06 ratio differentials.

  17. Object Number: 1654353  Size: SH
  18. Using a feeler gage, measure the distance between the rod of the DT-48009-3 adapter  (1) and the gage block of the DT-48009-2 adapter  (2). Record the measurement as dimension C1.
  19. Subtract C1 value from a C nominal value of 3 mm (0.118 in). Record that calculation as C2.
  20. Refer to the applicable calculation table in Spacer and Shim Specifications.


    Object Number: 1654339  Size: SH
  21. Locate the A2 value (2) on the side of the ring gear.
  22. Note: The A2 value is a manufacturing variation between the ring gear and pinion. The A2 value may be higher, lower, or equal to 65.8 mm (2.59 in) of the differential nominal value. When subtracting the D nominal value from the A2 value, the C3 calculation may compute to a positive, negative, or zero total.

  23. Subtract the D nominal value of 65.8 mm (2.59 in) from the A2 value. Record the calculation as C3.
  24. Add the C2 value to the C3 value for the proper left side differential bearing shim thickness. The C3 value may be a positive, negative, or zero value.

  25. Object Number: 1456395  Size: SH
  26. Select shims equal to the calculated value. It may be necessary to round the shim or shims total to obtain the proper shim sizes. If the shim thickness calculation is past the midpoint value, round the number to the next decimal value. Refer to Rear Axle Specifications.
  27. Remove the pinion housing/cage bolts (1).
  28. Remove the pinion housing/cage (2) from the differential.

  29. Object Number: 1658469  Size: SH
  30. Remove the J 42168-11 measuring tool  (1), bearings (2 and 5), spacer (4), and DT-48009-1 adapter DT-48009-1 (6) from the pinion housing/cage (3).

  31. Object Number: 1654285  Size: SH

    Notice: Use the DT-48008 to support the differential housing in the press to prevent damage to the differential housing.

  32. Use the DT-48008 installer  (4), the J 42170 installer  (1) and a hydraulic press in order to install the selected shim (3) and bearing race (2) to the differential housing.

  33. Object Number: 1852864  Size: SH
  34. Install the ring gear (1) to the differential. Use several bolts to properly align the ring gear to the case.
  35. A hammer and brass punch may be used to aid in seating the ring gear onto the differential case.

    Note: 2 types of ring gear bolts may be available for replacement. First design bolts (3) have serrations under the head and are torqued to 195 N·m (144 lb ft). The second design (4) are smooth under the head and are torqued to 145 N·m (107 lb ft).

  36. Install the NEW ring gear bolts (2).

  37. Object Number: 72514  Size: SH
  38. Position the differential assembly onto the J 42173 ring gear holder .
  39. • Tighten the ring gear bolts to 195 N·m (144 lb ft) - 1st design.
    • Tighten the ring gear bolts to 145 N·m (107 lb ft) - 2nd design.

    Object Number: 1456356  Size: SH
  40. Use the J 42155 lifting tool in order to install the differential case into the differential housing.

  41. Object Number: 1456405  Size: SH
  42. Install the right side bearing cup, and the J 42168-15 compressor assembly onto the differential.

  43. Object Number: 1456412  Size: SH

    Note: In order to perform the shim selection procedure:

       • The oil seal must be removed from the right cover.
       • The pinion housing/cage must NOT be installed to the differential case.

  44. Install the right cover (2) and J 42168-16 spacers bolts (1) and spacers (3) to the differential. Position the J 42168-16 spacers bolts and spacers evenly apart. Tighten the bolts to 30 N·m (22 lb ft).

  45. Object Number: 1456414  Size: SH
  46. Insert a feeler gage into the J 42168-15 compressor assembly and measure the gap. The measured dimension is the right side differential bearing shim size.

  47. Object Number: 1456412  Size: SH
  48. Remove the bolts (1), cover (2), and tools.

  49. Object Number: 1456375  Size: SH
  50. Install the selected shim (2) and bearing cup (1) to the right cover.

  51. Object Number: 1456421  Size: SH
  52. Using the J 42170 installer and a hydraulic press, install the shim or shims and bearing cup into the right cover. Refer to Rear Axle Assemble .