Callout | Component Name |
|---|---|
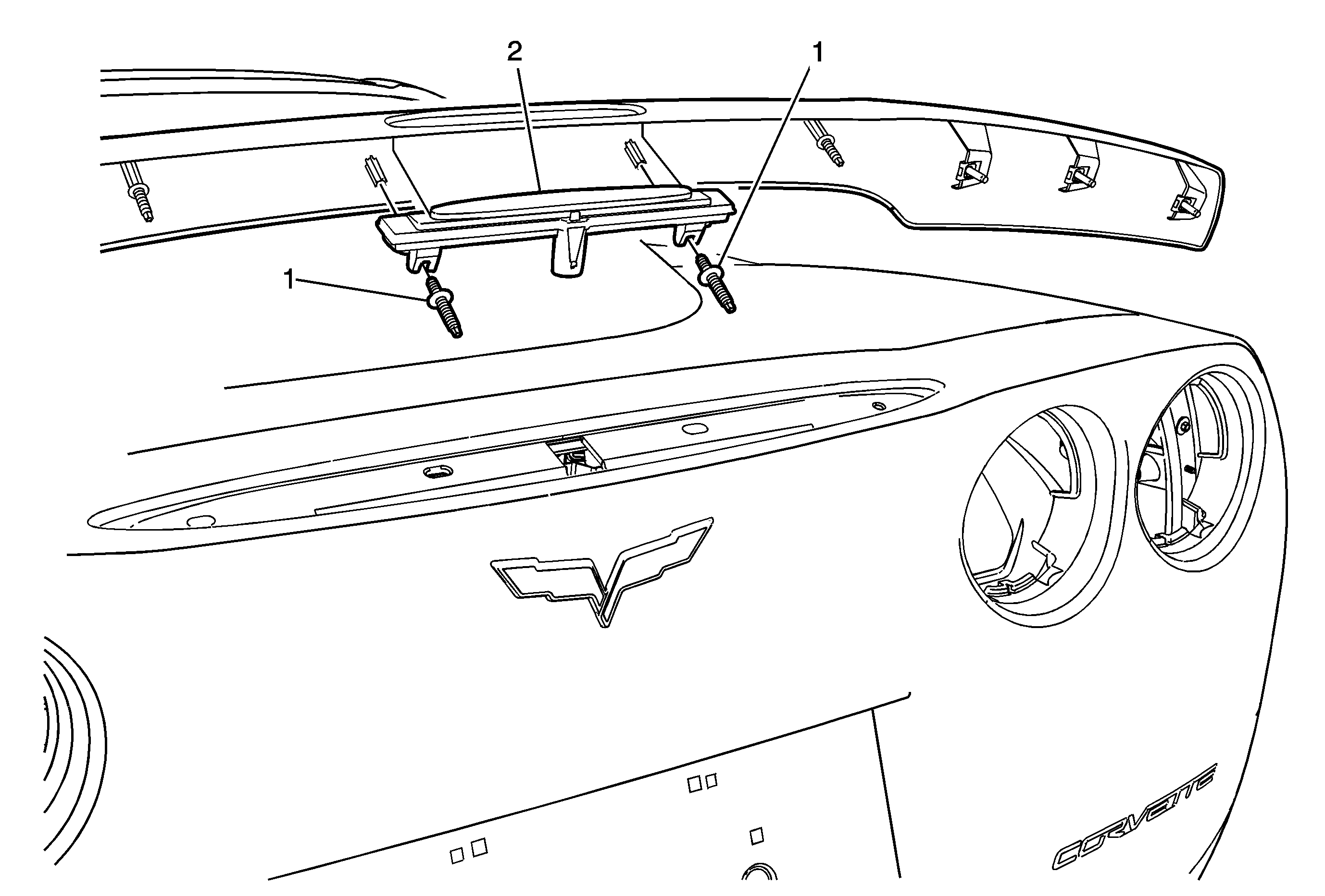
Preliminary ProcedureRemove the rear spoiler assembly. Refer to Rear Spoiler Replacement. | |
1 | Rear End Spoiler Stud (Qty: 2) Caution: Refer to Fastener Caution in the Preface section. Tighten |
2 | High Mount Stop Lamp Assembly Tip |
Callout | Component Name |
|---|---|
Preliminary Procedure
| |
1 | Rear Spoiler Stud (Qty: 4) Tip |
2 | Center High Mounted Stop Lamp (CHMSL) Tip |
3 | Rear Spoiler Caution: Refer to Fastener Caution in the Preface section. Tighten |