GM Service Manual Online
For 1990-2009 cars only

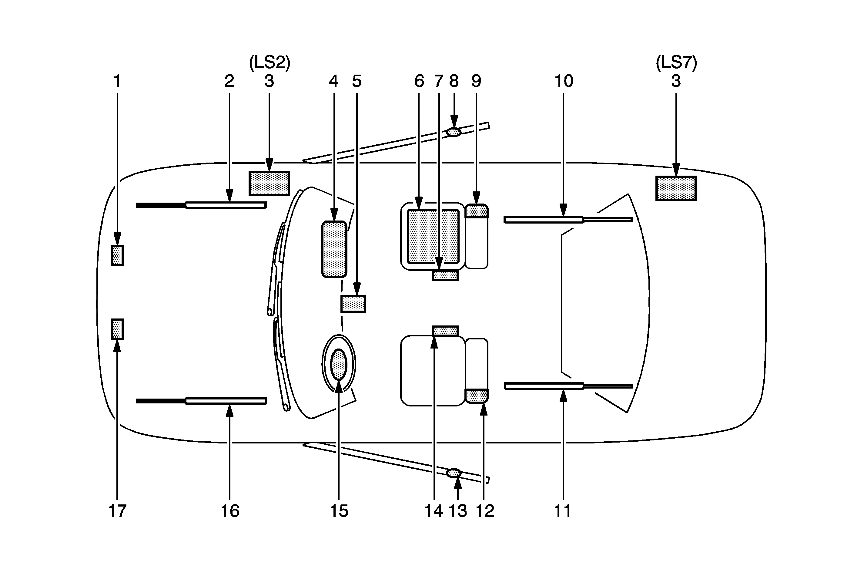
The SIR Identification Views shown below illustrate the approximate location of all SIR components available for the vehicle. This will assist in determining the appropriate SIR Disabling and Enabling for a given service procedure, refer to SIR Disabling and Enabling .

Corvette


Object Number: 1805381  Size: MF
(1)Right Front End Sensor--Located on the front of the vehicle in the engine compartment
(2)Front Hood Assist Rod--A gas shock located under the front hood on the passenger side
(3)Vehicle Battery--Located under the hood on the right side (LS2), in the trunk on the right side (LS7)
(4)Instrument Panel (I/P) Air Bag--Located at the top right under the I/P
(5)Sensing and Diagnostic Module (SDM)--Located underneath the vehicle center console in front of shifter
(6)Passenger Presence System (PPS)--Located in the passenger seat under the seat trim
(7)Seat Belt Pretensioner--Located on the inboard side of the passenger seat
(8)Side Impact Sensor (SIS)--Located inside passenger/right door near rear of door
(9)RF Side Impact Air Bag--Located on the seat back of passenger seat
(10)Rear Compartment Lid Assist Rod--A gas shock is located under the rear trunk lid on the passenger side
(11)Rear Compartment Lid Assist Rod--A gas shock is located under the rear trunk lid on the driver side
(12)Side Impact Sensor (SIS)--Located inside driver/left door near rear of door
(13)LF Side Impact Air Bag--Located on the seat back of driver seat
(14)Seat Belt Pretensioner--Located on the inboard side of the driver seat
(15)Steering Wheel Air Bag--Located on the steering wheel
(16)Front Hood Assist Rod--A gas shock located under the front hood on the driver side
(17)Left Front End Sensor--Located on the front of the vehicle in the engine compartment