Notice: Refer to Fastener Notice in the Preface section.
Tighten
| • | Tighten the booster pushrod hex nut to 18 N·m (13 lb ft). |
| • | Tighten the pushrod clevis to 18 N·m (13 lb ft). |
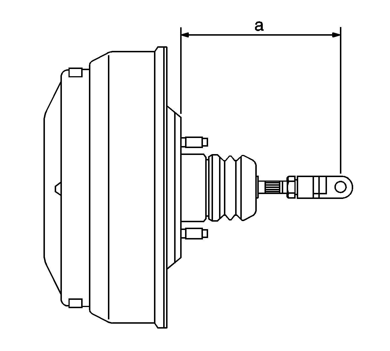
Important: This measurement should be 141.7 mm (5.58 in) (a).
Tighten
Tighten the booster-to-dash panel nuts to 22 N·m
(16 lb ft).