GM Service Manual Online
For 1990-2009 cars only
Makes
🢒
Chevrolet
🢒
2004
🢒
Epica
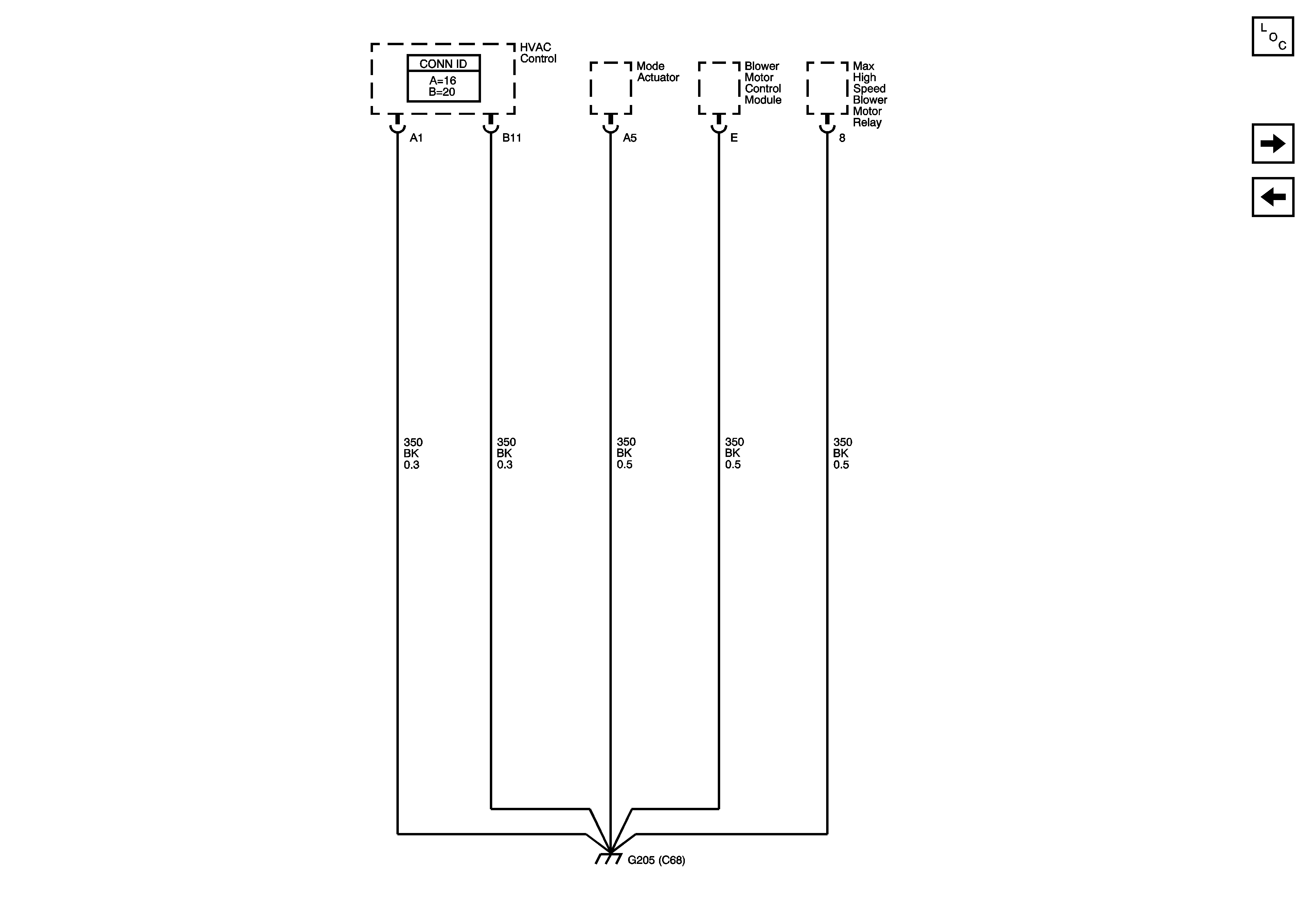
🢒 G205 (C68)
G205 (C68)
G205 (C68)
Master Electrical Component List
G205 (C60)
G204