GM Service Manual Online
For 1990-2009 cars only
Table 1: Door Lock Actuator - Driver
Table 2: Door Jamb Switch - Driver
Table 3: Door Tamper Switch - Driver
Table 4: Door Lock Actuator - LR
Table 5: Door Jamb Switch - LR
Table 6: Door Lock Actuator - Front Passenger
Table 7: Door Jamb Switch - Front Passenger
Table 8: Door Tamper Switch - Front Passenger
Table 9: Door Lock Actuator - RR
Table 10: Door Jamb Switch - RR
Table 11: Mirror Control Switch
Table 12: Outside Rearview Folding Mirror Module (North America)
Table 13: Outside Rearview Folding Mirror Module (Except North America)
Table 14: Outside Rearview Mirror - Left
Table 15: Outside Rearview Mirror - Right (North America)
Table 16: Outside Rearview Mirror - Right (Except North America)
Table 17: Window Motor - Left Front
Table 18: Window Motor - Left Rear
Table 19: Window Motor - Right Rear
Table 20: Window Motor - Right Front
Table 21: Window Switch - Left Rear
Table 22: Window Switch - Right Rear
Table 23: Window Switch A - Left Front
Table 24: Window Switch B - Left Front
Table 25: Window Switch/Door Lock - Right Front

Door Lock Actuator - Driver


Object Number: 68721  Size: CH

Connector Part Information

    • AK 6023
    • 2-Way F Metri-Pack 280 Series, Sealed (BK)

Pin

Wire Color

Circuit Number

Function

A

BN

294

Door Lock Actuator Unlock Control

B

GY

295

Door Lock Actuator Lock Control

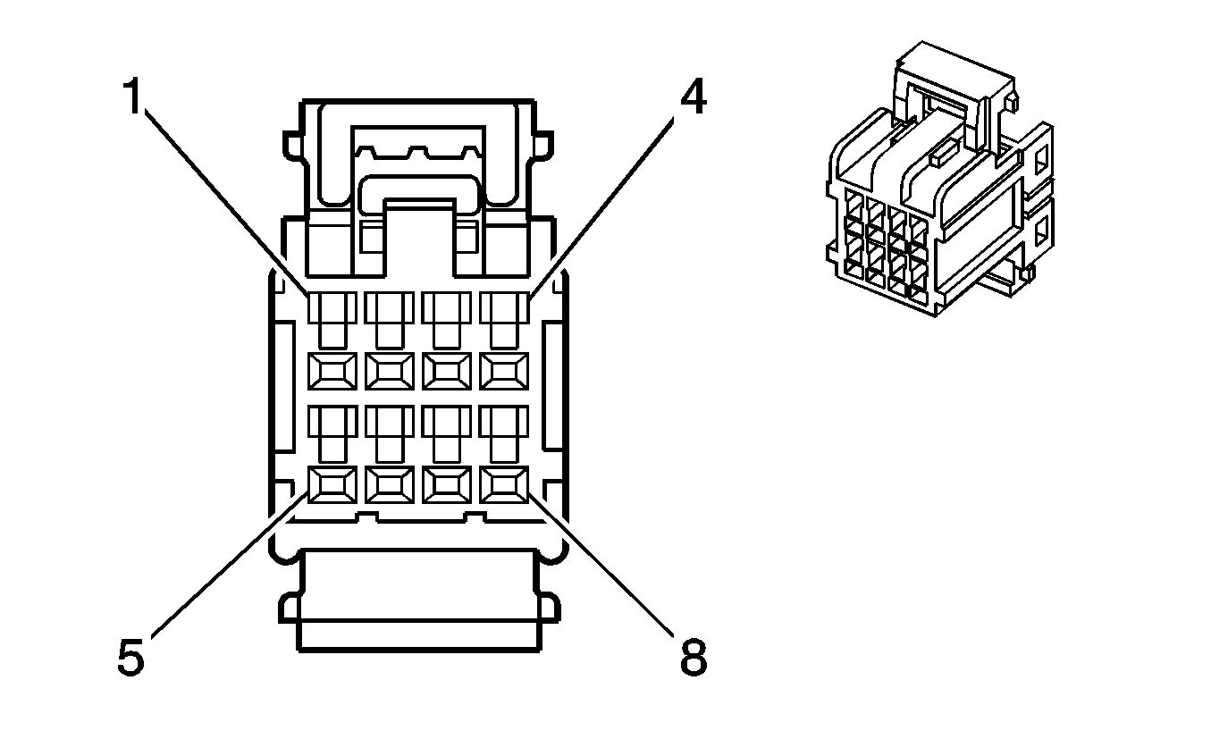
Door Jamb Switch - Driver


Object Number: 1481291  Size: CH

Connector Part Information

    • AK 32419
    • 4-Way F Connector (BK)

Pin

Wire Color

Circuit Number

Function

A

WH

156

Courtesy Lamp Control

B

BN/D-BU

157

Door Ajar Signal

C

BN

126

Left Front Door Switch Signal

D

BK

50

Ground

Door Tamper Switch - Driver


Object Number: 1481291  Size: CH

Connector Part Information

    • AK 32421
    • 4-Way Connector F (GY)

Pin

Wire Color

Circuit Number

Function

A

L-BU

195

Door Lock Control

B

BK

50

Ground

C

L-BU/WH

194

Door Unlock Control

D

L-BU

263

Ajar Switch Signal

Door Lock Actuator - LR


Object Number: 68721  Size: CH

Connector Part Information

    • AK 6023
    • 2-Way F Metri-Pack 280 Series, Sealed (BK)

Pin

Wire Color

Circuit Number

Function

A

BN

294

Door Lock Actuator Unlock Control

B

GY

295

Door Lock Actuator Lock Control

Door Jamb Switch - LR


Object Number: 1481291  Size: CH

Connector Part Information

    • AK 32419
    • 4-Way F Connector (BK)

Pin

Wire Color

Circuit Number

Function

A

BK

450

Ground

B

--

--

Not Used

C

BN

157

Door Ajar Signal

D

WH

156

Courtesy Lamp Control

Door Lock Actuator - Front Passenger


Object Number: 68721  Size: CH

Connector Part Information

    • AK 6023
    • 2-Way F Metri-Pack 280 Series, Sealed (BK)

Pin

Wire Color

Circuit Number

Function

A

BN

294

Door Lock Actuator Unlock Control

B

GY

295

Door Lock Actuator Lock Control

Door Jamb Switch - Front Passenger


Object Number: 1481291  Size: CH

Connector Part Information

    • AK 32419
    • 4-Way F Connector (BK)

Pin

Wire Color

Circuit Number

Function

A

BK

750

Ground

B

--

--

Not Used

C

BN

157

Door Ajar Signal

D

WH

156

Courtesy Lamp Control

Door Tamper Switch - Front Passenger


Object Number: 1481291  Size: CH

Connector Part Information

    • AK 32421
    • 4-Way Connector F (GY)

Pin

Wire Color

Circuit Number

Function

A

L-BU

295

Door Latch Actuator Control

B

L-BU/WH

194

Door Unlock Control

C

BK

750

Ground

D

L-BU

195

Door Lock Control

Door Lock Actuator - RR


Object Number: 68721  Size: CH

Connector Part Information

    • AK 5023
    • 2-Way F Metri-Pack 280 Series, Sealed (BK)

Pin

Wire Color

Circuit Number

Function

A

BN

294

Door Lock Actuator Unlock Control

B

GY

295

Door Lock Actuator Lock Control

Door Jamb Switch - RR


Object Number: 1481291  Size: CH

Connector Part Information

    • AK 32419
    • 4-Way F Connector (BK)

Pin

Wire Color

Circuit Number

Function

A

BK

450

Ground

B

--

--

Not Used

C

BN

157

Door Ajar Signal

D

WH

156

Courtesy Lamp Control

Mirror Control Switch


Object Number: 1468514  Size: CH

Connector Part Information

    • AMP 174044-2
    • 8-Way F 040 Series Multi Lock Connector (BK)

Pin

Wire Color

Circuit Number

Function

1

PU/WH

889

Passenger Mirror Motor Down Control

2

GY/BK

179

Folding Mirror Fold Control

3

PK/BK

1739

Ignition 1 Voltage

4

BK

2250

Ground

5

RD/WH

881

Passenger Mirror Motor Right Control

6

GY

90

Passenger Mirror Motor Left Control

7

WH

81

Driver Mirror Motor Right Control

8

L-GN

89

Driver Mirror Motor Up Control

Outside Rearview Folding Mirror Module (North America)


Object Number: 1265436  Size: CH

Connector Part Information

    • PH 845-05010
    • 5-Way

Pin

Wire Color

Circuit Number

Function

1

YE

190

Driver Folding Mirror Motor Extend Control

2

L-BU

191

Driver Folding Mirror Motor Retract Control

3

BK

750

Ground

4

GY/BK

179

Folding Mirror Fold Control

5

OG

640

Battery Positive Voltage

Outside Rearview Folding Mirror Module (Except North America)


Object Number: 1538752  Size: CH

Connector Part Information

    • KET MG 651563
    • 23-Way

Pin

Wire Color

Circuit Number

Function

1

D-BU

1729

Sensor Ground

2

GY

890

Passenger Mirror Motor Vertical Control

3

D-GN/WH

1788

5 Volt Reference

4-5

--

--

Not Used

6

BK

750

Ground

7-8

--

--

Not Used

9

OG

640

Battery Positive Voltage

10

L-BU

191

Driver Folding Mirror Motor Retract Control

11

D-GN

1784

Sensor Signal

12

RD

1881

Motor Common

13

PU

1889

Passenger Mirror Motor Horizontal Control

14

L-GN

24

Reverse Signal

15

PK

839

Ignition 1 Voltage

16

L-GN/BK

80

Key in Ignition Signal/Sunroof Open

17-18

--

--

Not Used

19

GY/BK

179

Folding Mirror Fold Control

20

RD/WH

881

Mirror Switch Vertical Control

21

PU/WH

889

Mirror Switch Horizontal Control

22

GY

90

Switch Common

23

YE

190

Driver Folding Mirror Motor Extend Control

Outside Rearview Mirror - Left


Object Number: 1466974  Size: CH

Connector Part Information

    • AMP 173850
    • 8-Way F 070 Series Multilock Plug 8P (WH)

Pin

Wire Color

Circuit Number

Function

1

YE

190

Driver Folding Mirror Motor Extend Control

2

L-BU

191

Driver Folding Mirror Motor Retract Control

3

OG

267

Heated Mirror/ Rear Defog Relay Coil Supply Voltage

4

WH

81

Mirror Motor Right Control

5

--

--

Not Used

6

L-GN

89

Mirror Motor Down Control

7

GY

90

Mirror Motor Left Control

8

BK

750

Ground

Outside Rearview Mirror - Right (North America)


Object Number: 1466974  Size: CH

Connector Part Information

    • AMP 173850-1
    • 8-Way F 070 Series Multilock Plug 8P (WH)

Pin

Wire Color

Circuit Number

Function

1

L-BU

191

Driver Folding Mirror Motor Retract Control

2

YE

190

Driver Folding Mirror Motor Extend Control

3

OG

267

Heated Mirror/ Rear Defog Relay Coil Supply Voltage

4

RD/WH

881

Passenger Mirror Motor Right Control

5

--

--

Not Used

6

PU/WH

889

Passenger Mirror Motor Down Control

7

GY

90

Passenger Mirror Motor Left Control

8

BK

750

Ground

Outside Rearview Mirror - Right (Except North America)


Object Number: 582963  Size: CH

Connector Part Information

    • AMP 368542-1
    • 12-Way

Pin

Wire Color

Circuit Number

Function

1

D-GN

1784

Sensor Signal

2

YE

190

Driver Folding Mirror Motor Extend Control

3

L-BU

191

Driver Folding Mirror Motor Retract Control

4

OG

267

Heated Mirror/ Rear Defog Relay Coil Supply Voltage

5

BK

750

Ground

6

D-GN/WH

1788

5 Volt Reference

7

--

--

Not Used

8

D-BU

1729

Sensor Ground

9

GY

1881

Motor Common

10

RD

1881

Motor Common

11

GY

890

Passenger Mirror Motor Vertical Control

GY

1881

Motor Common

12

PU

1889

Passenger Mirror Motor Horizontal Control

Window Motor - Left Front


Object Number: 1467007  Size: CH

Connector Part Information

    • KET MG 610043
    • 2-Way F 250 Series (WH)

Pin

Wire Color

Circuit Number

Function

1

D-BU/WH

1165

Power Window Switch Drivers - Up Signal

2

OG/WH

1164

Power Window Switch Drivers - Down Signal

Window Motor - Left Rear


Object Number: 1467007  Size: CH

Connector Part Information

    • KET MG 610043
    • 2-Way F 250 Series (WH)

Pin

Wire Color

Circuit Number

Function

1

D-BU

668

Power Window Motor Left Rear Up Control

2

BN

669

Power Window Motor Left Rear Down Control

Window Motor - Right Rear


Object Number: 1467007  Size: CH

Connector Part Information

    • KET MG 610043
    • 2-Way F 250 Series (WH)

Pin

Wire Color

Circuit Number

Function

1

D-BU

668

Power Window Motor Right Rear Up Control

2

BN

669

Power Window Motor Right Rear Down Control

Window Motor - Right Front


Object Number: 1467007  Size: CH

Connector Part Information

    • KET MG 610043
    • 2-Way F 250 Series (WH)

Pin

Wire Color

Circuit Number

Function

1

D-BU

666

Power Window Motor Right Front Up Control

2

BN/RD

667

Power Window Motor Right Front Down Control

Window Switch - Left Rear


Object Number: 1468413  Size: CH

Connector Part Information

    • KET MG 610663
    • 8-Way F Device Connector (WH)

Pin

Wire Color

Circuit Number

Function

1

D-GN

168

Power Window Master Switch Left Rear Up Signal

2

PK

581

Power Window Master Switch Lockout Control

3

--

--

Not Used

4

PU

169

Power Window Master Switch Left Rear Down Signal

5

D-BU

668

Power Window Motor Left Rear Up Control

6

BK

450

Ground

7

--

--

Not Used

8

BN

669

Power Window Motor Left Rear Down Control

Window Switch - Right Rear


Object Number: 1468413  Size: CH

Connector Part Information

    • KET MG 610663
    • 8-Way F Device Connector (WH)

Pin

Wire Color

Circuit Number

Function

1

D-GN

168

Power Window Master Switch Right Rear Up Signal

2

PK

581

Power Window Master Switch Lockout Control

3

--

--

Not Used

4

PU

169

Power Window Master Switch Right Rear Down Signal

5

D-BU

668

Power Window Motor Right Rear Up Control

6

BK

450

Ground

7

--

--

Not Used

8

BN

669

Power Window Motor Right Rear Down Control

Window Switch A - Left Front


Object Number: 1467121  Size: CH

Connector Part Information

    • KET MG 651056
    • 10-Way F 090-II Series (WH)

Pin

Wire Color

Circuit Number

Function

1

L-GN

170

Power Window Master Switch Right Rear Up Signal

2

BK/D-BU

171

Power Window Master Switch Right Rear Down Signal

3

D-GN

168

Power Window Master Switch Left Rear Up Signal

4

PU

169

Power Window Master Switch Left Rear Down Signal

5

BN

167

Power Window Master Switch Passenger Front Down Signal

6

OG

580

Power Window Supply Voltage

7

L-BU

166

Power Window Master Switch Passenger Front Up Signal

8

D-BU

165

Power Window Motor Driver Front Down Control

9

PK

581

Power Window Master Switch Lockout Control

10

BK

50

Ground

Window Switch B - Left Front


Object Number: 1467115  Size: CH

Connector Part Information

    • KET MG 651044
    • 6-Way F 090 II Series (WH)

Pin

Wire Color

Circuit Number

Function

1

OG/BK

164

Power Window Motor Driver Front Up Control

2

D-BU/WH

65

Power Window Switch Driver Front Express Down Signal

3

--

--

Not Used

4

L-BU

195

Door Unlock Control

5

L-BU/WH

194

Door Lock Control

L-BU

194

Door Lock Control (w/RKE)

6

OG/D-BU

64

Auto Up

Window Switch/Door Lock - Right Front


Object Number: 1467119  Size: CH

Connector Part Information

    • KET MG 651050
    • 8-Way F 090-II Series (WH)

Pin

Wire Color

Circuit Number

Function

1

BN

167

Power Window Master Switch Passenger Front Down Signal

2

PK

581

Power Window Master Switch Lockout Control

3

L-BU

166

Power Window Master Switch Passenger Front Up Signal

4

D-BU

666

Power Window Motor Passenger Front Up Control

5

L-BU

195

Door Unlock Control

6

BK

750

Ground

7

L-BU/WH

194

Door Lock Control

8

BN/RD

667

Power Window Motor Passenger Front Down Control