GM Service Manual Online
For 1990-2009 cars only
Figure 1:

Rear Harness Routing


Object Number: 1257163  Size: LF
(1)C402
(2)License Lamp - Left Hand
(3)To Rear Compartment Lid Ajar Switch
(4)License Lamp - Right Hand
(5)Tail Lamp - Right Hand
(6)C401
(7)Tail Lamp - Left Hand
Figure 2:

Front Harness Routing


Object Number: 1257164  Size: LF
(1)C108
(2)C101
(3)Lamp Position and Turn/Signal - Left Hand
(4)Hood Ajar Switch
(5)Headlamp - Right Hand
(6)Lamp Position and Turn/Signal - Right Hand
(7)To Horn
(8)Compressor
(9)Washer Pump Motor
(10)Washer Fluid Sensor
(11)Front Fog Lamp - Right Hand
(12)Front Fog Lamp - Left Hand
(13)Ambient Temperature Sensor
(14)Cooling Fan
(15)Theft Deterrent Alarm
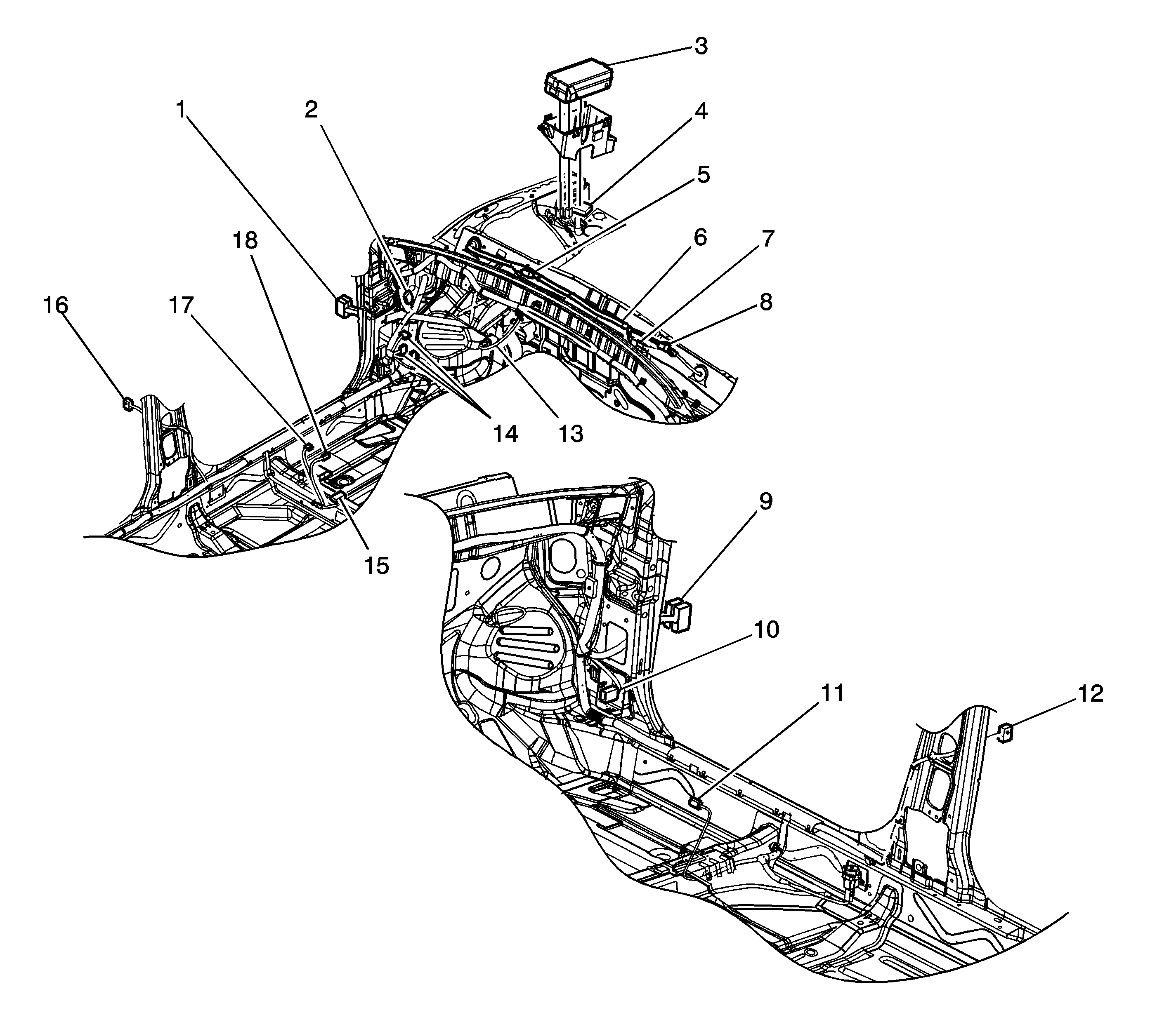
Figure 3:

Body Harness Routing


Object Number: 1257165  Size: LF
(1)C351/C352
(2)S302
(3)Underhood Fuse Block
(4)C102
(5)Wiper Motor
(6)Body Wiring Harness
(7)C107
(8)C110
(9)C361/C362
(10)C218
(11)Heated Seat Element - Right Hand
(12)C381
(13)Brake Switch
(14)Body Control Module (BCM)
(15)G302
(16)C371
(17)Power Seat
(18)Heated Seat Element - Left Hand
Figure 4:

IP Harness Routing


Object Number: 1257166  Size: LF
(1)Speaker - Left Hand
(2)Data Link Connector
(3)Speaker - Right Hand
(4)C218
(5)C219
(6)IP Compartment Lamp
(7)C217
(8)IP Compartment Lamp Switch
(9)S204
(10)S203
(11)Daytime Running Lamp (DRL) Module
(12)C216
(13)Auxiliary Power Outlet
(14)Shift Indicator Lamp
(15)Hold Switch
(16)Traction Control System (TCS) Switch
(17)Park Brake Switch
(18)Automatic Transmission Switch Lock Solenoid
(19)G201
(20)Radio
(21)Headlamp Switch
(22)Dimmer Control Switch
(23)Mirror Control Switch
(24)Instrument Panel (I/P) Fuse Block
(25)C209
(26)C208
(27)C207
(28)C210
(29)Body Control Module (BCM)
(30)C211
(31)Instrument Cluster
Figure 5:

Door Harness Routing


Object Number: 1257167  Size: LF
(1)Door Lock Solenoid (Part of Door Latch)
(2)Door Contact Switch (Part of Door Latch)
(3)Power Window Switch
(4)Power Window Motor
(5)C371/C381
(6)Speaker
(7)Rear Door
(8)Front Door, Driver Side
(9)Stop Lamp
(10)Rear Compartment Lid Release Switch
(11)Door Tamper Switch (Part of Door Latch)
(12)Outside Mirror
(13)C351/C352
(14)Front Door, Passenger Side
(15)C361/C362
(16)Folding Mirror Module