GM Service Manual Online
For 1990-2009 cars only
Makes
🢒
Chevrolet
🢒
2005
🢒
Epica
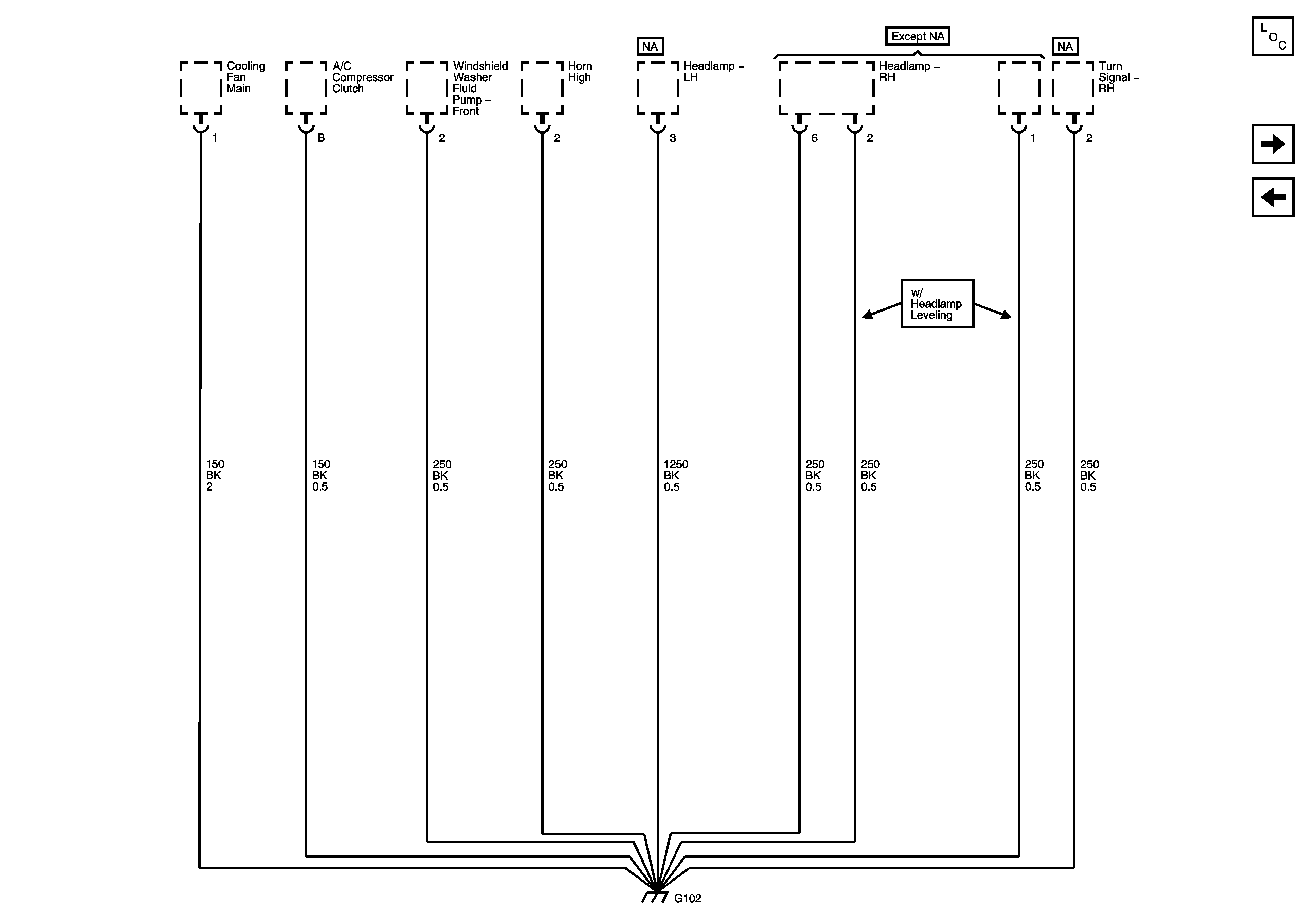
🢒 G102
G102
G102
Master Electrical Component List
G103 (2.0L MR140)
G101