GM Service Manual Online
For 1990-2009 cars only

Exhaust System Component Views 2.0L


Object Number: 1256999  Size: MH
(1)Catalytic Converter
(2)Front Exhaust Pipe
(3)3rd Muffler
(4)Metal Gasket
(5)Front Muffler
(6)Rear Muffler
(7)Exhaust Lower Bracket

Exhaust System Component Views 2.5L


Object Number: 1372474  Size: LF
(1)Exhaust Manifold
(2)Exhaust Front Pipe Protective Shield
(3)Exhaust Front Muffler Protective Shield
(4)Exhaust Rear Muffler Protective Shield
(5)Fuel Tank Shield
(6)Exhaust Rear Muffler
(7)Rubber Hanger
(8)Exhaust Front Muffler
(9)Exhaust Front Pipe-to-Exhaust Front Muffler Gasket
(10)Exhaust Front Pipe
(11)Exhaust Lower Bracket
(12)Exhaust Upper Bracket
(13)Catalytic Converter Gasket

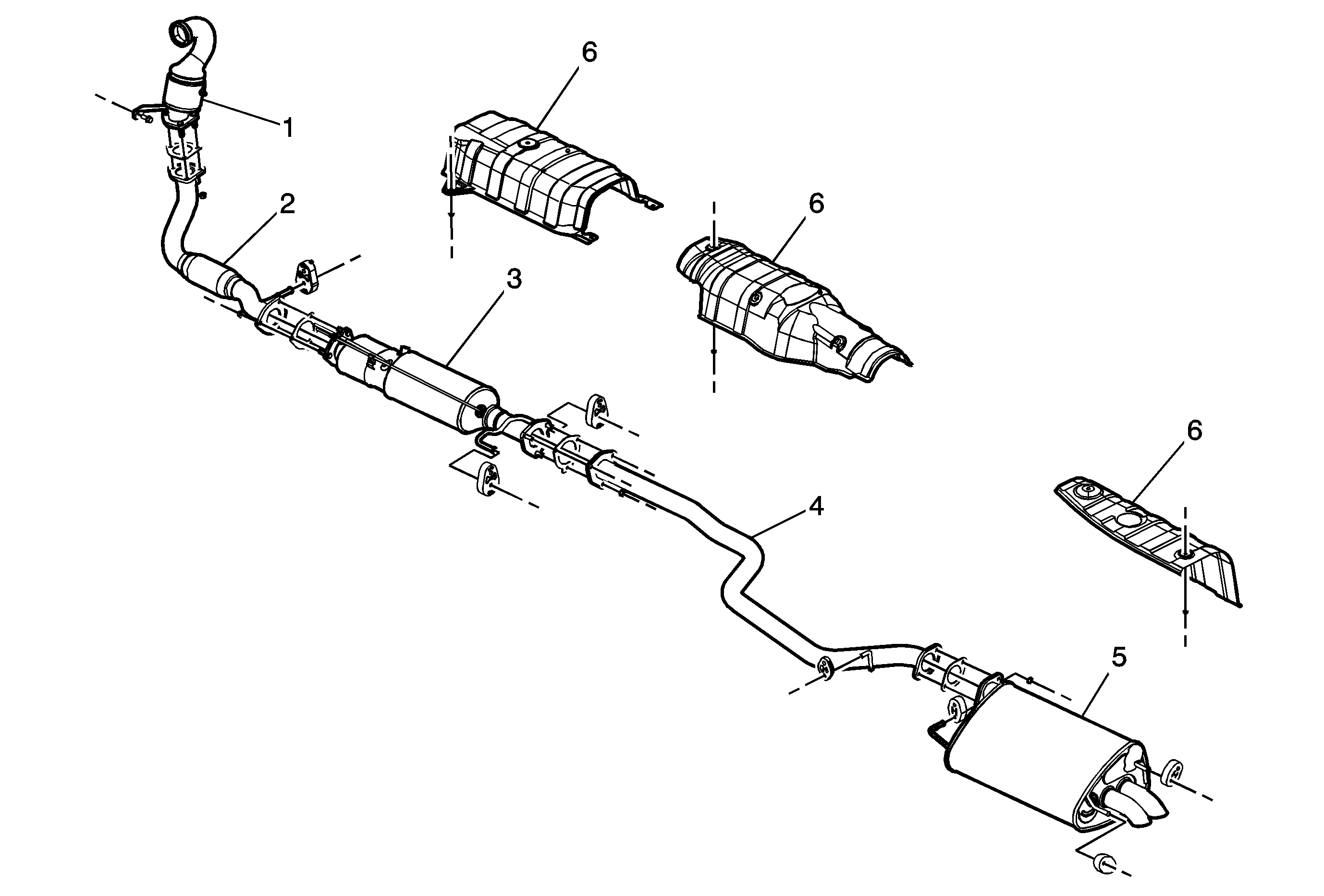
Exhaust System Component Views 2.0L Diesel

Exhaust System


Object Number: 1863817  Size: MF
(1)Pre-Catalyst
(2)Front Exhaust Pipe
(3)Diesel Particulate Filter (DPF) Assembly
(4)Rear Exhaust Pipe
(5)Rear Muffler
(6)Heat Shield