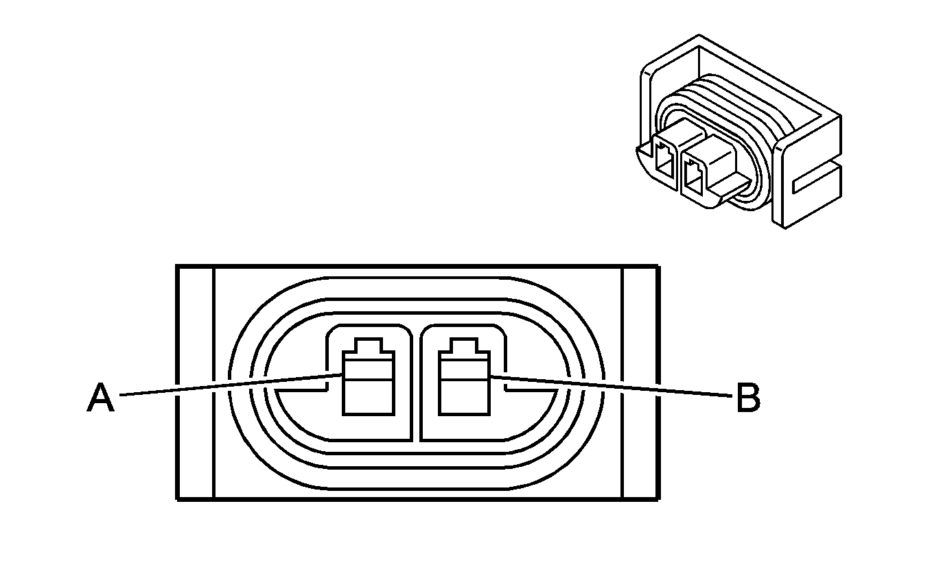
| Connector 1: | A/C Compressor Clutch |
| Connector 2: | A/C Refrigerant Pressure Sensor |
| Connector 3: | Blower Motor |
| Connector 4: | Blower Motor Resistor |
| Connector 5: | Blower Motor Switch |
| Connector 6: | HVAC Control |
| Connector 7: | Mode Actuator |
| Connector 8: | Brake Pressure Modulator Valve (BPMV) (W/VSC) |
Connector Part Information
|
Pin | Wire Color | Circuit No. | Function |
|---|---|---|---|
A | D-GN | -- | A/C Compressor Clutch Supply Voltage |
B | BK | -- | Ground |
Connector Part Information
|
Pin | Wire Color | Circuit No. | Function |
|---|---|---|---|
1 | GY(LHD) L-BU(RHD) | -- | 5-Volt Reference |
2 | BN | -- | Low Reference |
3 | OG/BK | -- | A/C Refrigerant Pressure Sensor Signal |
Connector Part Information
|
Pin | Wire Color | Circuit No. | Function |
|---|---|---|---|
1 | BK | -- | Ground |
2 | RD | -- | Blower Motor Supply Voltage |
Connector Part Information
|
Pin | Wire Color | Circuit No. | Function |
|---|---|---|---|
1 | WH | -- | Blower Motor Speed Signal |
2 | PK | -- | Blower Motor Speed Signal |
3 | RD | -- | Blower Motor Supply Voltage |
4 | D-BU | -- | Blower Motor Speed Signal |
Connector Part Information
|
Pin | Wire Color | Circuit No. | Function |
|---|---|---|---|
1 | YE | -- | Blower Relay Supply Voltage |
2 | WH/RD | -- | Blower Switch Signal |
3 | WH | -- | Blower Motor Speed Signal |
4 | D-BU | -- | Blower Motor Speed Signal |
5 | PK | -- | Blower Motor Speed Signal |
6 | RD | -- | Blower Motor Speed Signal |
Connector Part Information
|
Pin | Wire Color | Circuit No. | Function |
|---|---|---|---|
1 | PK/BK | -- | Ground |
2 | L-BU | -- | Air Mix Door Motor Control |
3 | YE | -- | Air Mix Door Motor Signal |
4 | -- | -- | Not Used |
5 | BN | -- | Ignition Voltage |
6 | D-GN/WH | -- | A/C Request Signal |
7 | BN | -- | Air Mix Door Motor Control |
8 | YE/BK | -- | Air Mix Door Motor Signal |
9 | -- | -- | Not Used |
10 | -- | -- | Not Used |
11 | D-GN/BK | -- | Recirc Door Control |
12 | PK/WH | -- | Recirc Door Control |
13 | -- | -- | Not Used |
14 | OG | -- | Battery Voltage |
15 | D-GN/BK | -- | Mode Actuator Signal |
16 | PK | -- | Mode Actuator Signal |
17 | YE/D-BU | -- | Mode Actuator Signal |
18 | WH/BK | -- | Mode Actuator Signal |
19 | PK/BK | -- | Mode Actuator Signal |
20 | WH/RD | -- | Blower Switch Signal |
Connector Part Information
|
Pin | Wire Color | Circuit No. | Function |
|---|---|---|---|
1 | YE/D-BU | -- | Lower Mode Valve Solenoid Control |
2 | PK | -- | Defrost Mode Valve Solenoid Control |
3 | D-GN/BK | -- | Upper Mode Valve Solenoid Control |
4 | BN | -- | Ignition 3 Voltage |
5 | BK | -- | Ground |
6 | PK/BK | -- | Mode Valve Signal |
7 | WH/BK | -- | Mode Valve Signal |
Connector Part Information
|
| |||||||
|---|---|---|---|---|---|---|---|
Connector Part Information |
| ||||||
Pin | Wire Color | Circuit No. | Function | ||||
1-3 | -- | -- | Not Used | ||||
4 | BN | -- | Ignition Voltage | ||||
5 | PK/WH | -- | Recirculation Door Control A | ||||
6 | -- | -- | Not Used | ||||
7 | D-GN/BK | -- | Recirculation Door Control B | ||||