GM Service Manual Online
For 1990-2009 cars only
Makes
🢒
Chevrolet
🢒
2007
🢒
Epica
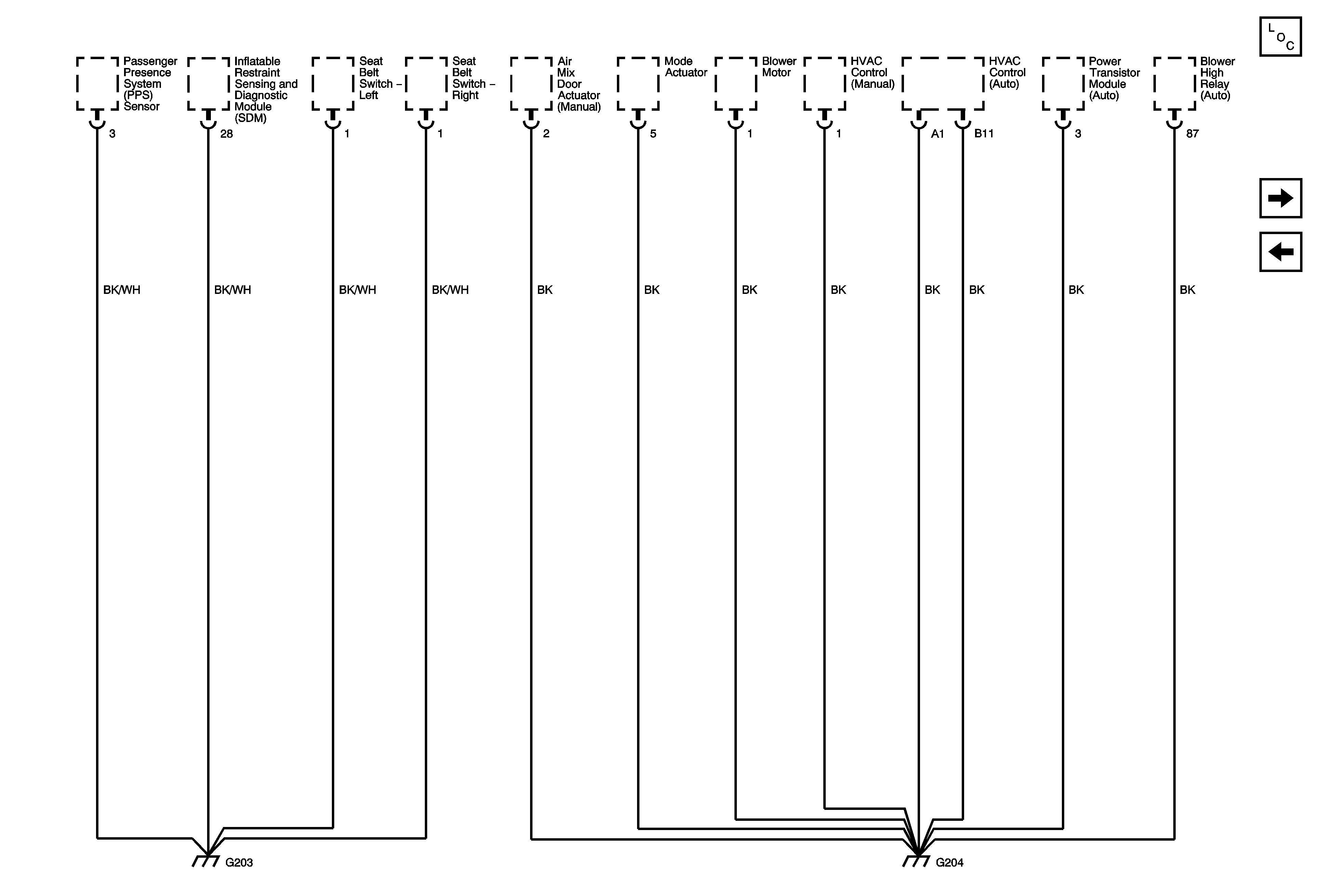
🢒 G203, G204
G203, G204
G203, G204
Master Electrical Component List
G301
G202 (2 of 2)