GM Service Manual Online
For 1990-2009 cars only
Makes
🢒
Chevrolet
🢒
2008
🢒
Epica
🢒
Suspension
🢒
Front Suspension
🢒 Front Suspension Components
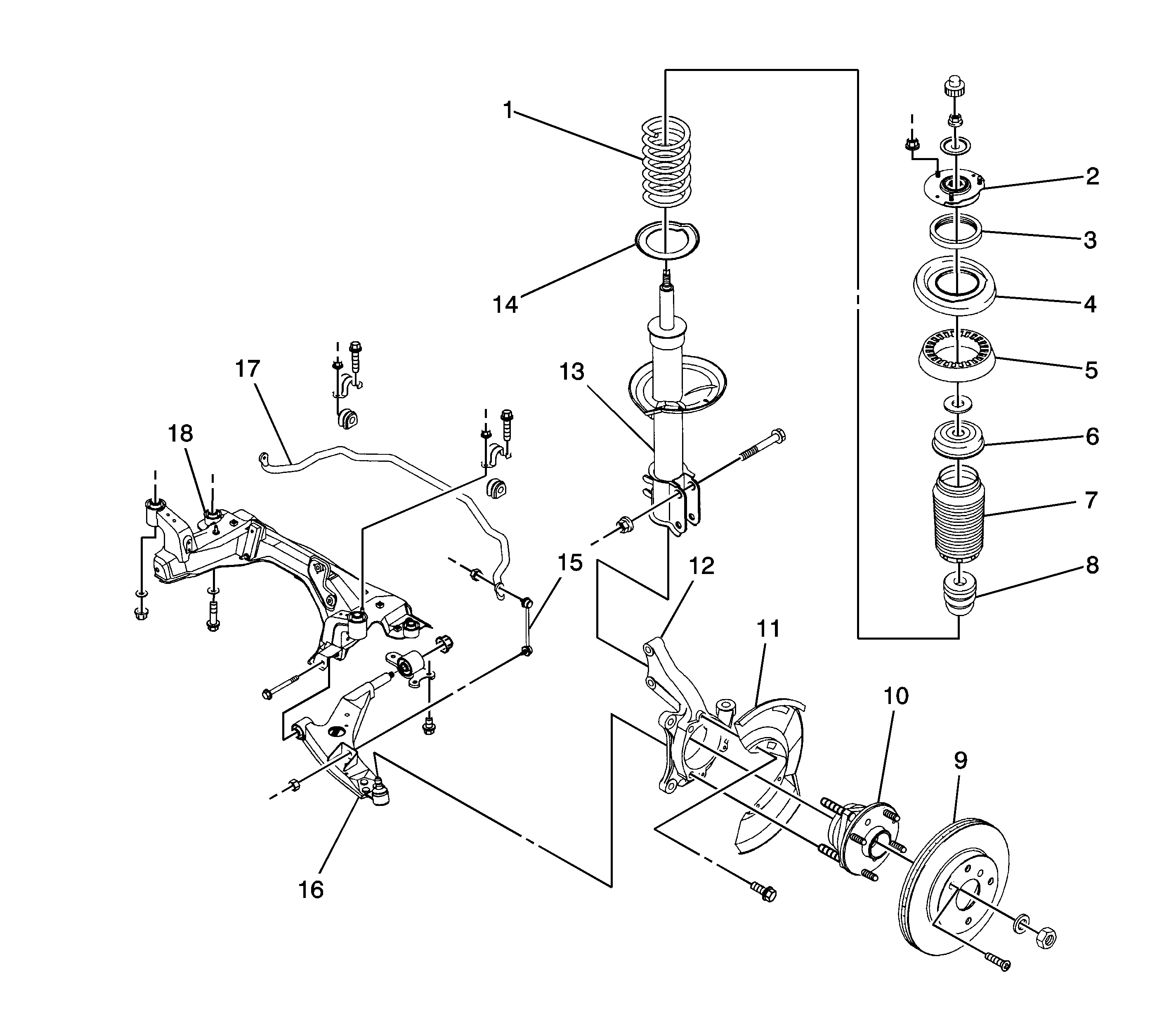
(1)
Coil Spring
(2)
Strut Mount
(3)
Mount Inner Bearing
(4)
Spring Upper Seat
(5)
Spring Upper Insulator
(6)
Piston Rod Boot Seat
(7)
Piston Rod Boot
(8)
Hollow Bumper
(9)
Front DISC
(10)
Front Hub
(11)
Brake Dust Cover
(12)
Front Knuckle
(13)
Front Strut
(14)
Spring Lower Insulator
(15)
Stabilizer Link
(16)
Control Arm
(17)
Stabilizer Bar
(18)
Crossmember