GM Service Manual Online
For 1990-2009 cars only

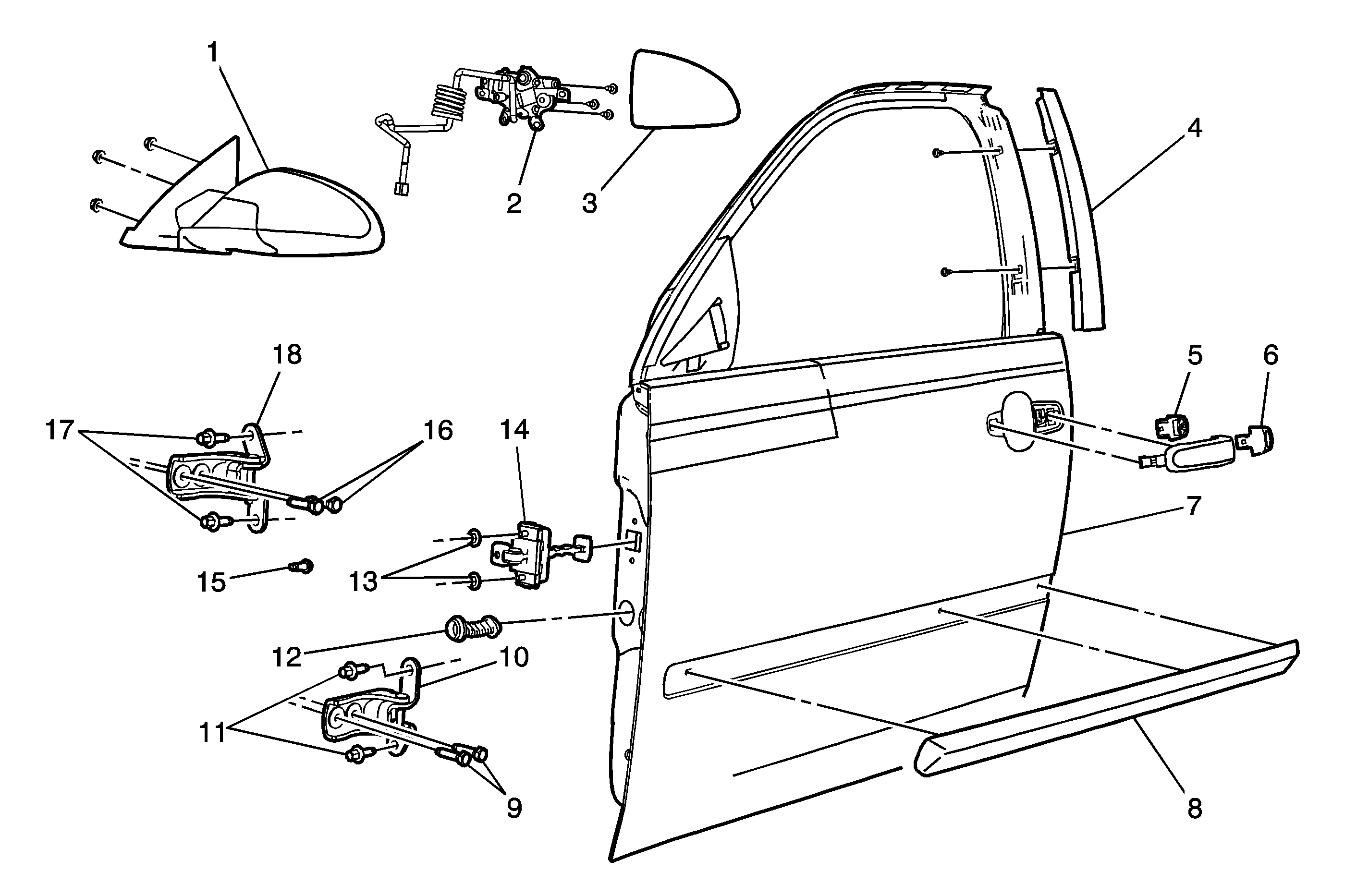
Object Number: 1327905  Size: MF

Callout

Component Name

Fastener Tightening Specifications: Fastener Notice .

1

Housing Assembly, Outside Rear View Mirror

2

Motor Assembly, Outside Rear View Mirror

3

Mirror, Outside Rear View

Mirror Replacement, refer to (Link Disabled For Test) in Body.

4

Applique, Front Side Door Window Frame Rear

5

Cylinder, Door Lock

Door Handle Replacement, refer to Door Outside Handle Replacement , for additional detail.

6

Handle Assembly, Front Side Door Outside

7

Door Assembly, Front Side

8

Molding, Door Body

TIP: Ensure the temperature of the body and the body side molding is 29-32°C (85-90°F) for maxium flexibility.

9

Bolts, Front Side Door Hinge Door Side

Tighten: 26  N·m (19 lb. ft.)

10

Hinge, Front Side Door Lower

TIP: Minimize door realignment by replacing one hinge at a time.

11

Bolts, Front Side Door Hinge Door Side

Tighten: 26  N·m (19 lb. ft.)

12

Conduit, Front Side Door Wiring

13

Nut, Front Side Door Check

Tighten: 26  N·m (19 lb. ft.)

14

Check Assembly, Front Door

15

Bolt, Front Side Door Check Link

Tighten: 26  N·m (19 lb. ft.)

16

Bolts, Front Side Door Hinge Body Side

Tighten: 26  N·m (19 lb. ft.)

17

Bolt, Front Side Door Hinge

Tighten: 26  N·m (19 lb. ft.)

18

Hinge, Front Side Door Upper

TIP: Minimize door realignment by replacing one hinge at a time.