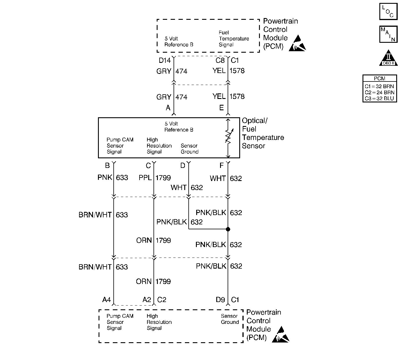
The fuel temperature sensor is a thermistor that controls the signal voltage to the PCM. When the fuel is cold, the sensor resistance is high, therefore the PCM will see high signal voltage. As the fuel warms, the sensor resistance becomes less and the voltage drops. The fuel temperature sensor is integrated with the optical sensor. This is a type B DTC.
| • | The engine has been operating for 8 minutes. |
| • | The fuel temperature is less than or equal to 18°C (64°F). |
| • | The conditions met for 2 seconds. |
Poor idle quality during hot conditions.
| • | The PCM will turn the MIL off after three consecutive trips without a fault condition. |
| • | A History DTC will clear when forty consecutive warm-up cycles during which the diagnostic does not fail (the coolant temperature has risen 5°C (40°F) from start up coolant temperature and engine coolant temperature exceeds 71°C (160°F) that same ignition cycle). |
| • | Use of a Scan Tool will clear the DTC codes. |
A scan tool reads fuel temperature in degrees centigrade. A failure to detect an increase in fuel temperature could result in a poor connection or an open in the signal circuit.
An intermittent may be caused by the following:
| • | Poor connections |
| • | Rubbed through wire insulation |
| • | A broken wire inside the insulation |
The number(s) below refer to the step number(s) on the Diagnostic Table.
This step determines if DTC P0183 is a hard failure or an intermittent condition.
This test simulates a DTC P0182. If the PCM recognizes the low signal voltage (high temp) the PCM and the wiring are OK.
This test will determine if the signal circuit is open. There should be 5 volts at the sensor connector if measured with a J 39200 . This will determine if there is a wiring problem or a malfunctioning PCM.
Step | Action | Value(s) | Yes | No |
|---|---|---|---|---|
1 |
Important: Before clearing the DTC(s), use the Scan Tool Capture Info in order to record the Freeze Frame and the failure records for reference, as the data will be lost when the Clear Info function is used. Was the Powertrain On-Board Diagnostic (OBD) System Check performed? | -- | ||
Is the Fuel Temp less than or equal to the specified value? | 18°C (64°F) | |||
Does the Scan Tool display the fuel temperature to be greater than the specified value? | 105°C (221°F) | |||
Jumper the Fuel Temperature sensor signal circuit to a known good ground. Does the Scan Tool display a Fuel Temp greater than the specified value? | 105°C (221°F) | |||
5 | The DTC is intermittent. If no other DTC(s) are stored, refer to Diagnostic Aids. If any additional DTCs are stored, refer to those table(s) first. Are there any other DTCs stored? | -- | Go to the Applicable DTC Table | Go to Diagnostic Aids |
6 | Inspect the sensor connector for a proper connection. Was a problem found? | -- | ||
7 | Check the Fuel Temperature sensor ground circuit for an open between the Fuel Temp sensor and the PCM. Was a problem found? | -- | ||
8 | Check the Fuel Sensor signal circuit for an open between the Fuel Temp sensor and the PCM. Was a problem found? | -- | ||
9 | Repair the circuit as necessary. Is the action complete? | -- | -- | |
10 | Inspect the PCM connectors for proper connections and replace the terminals, if necessary. Was a problem found? | -- | ||
11 | Replace the injection pump. Refer to Fuel Injection Pump Replacement Important: If the injection pump is malfunctioning, the new injection pump must be timed. Refer to Checking/Adjust Injection Timing . Is the action complete? | -- | -- | |
12 | Replace the PCM. Important: The new PCM must be programmed. Refer to Powertrain Control Module Replacement/Programming . Is the action complete? | -- | -- | |
13 |
Does the Scan Tool indicate that this diagnostic Passed? | -- | ||
14 | Use the Scan Tool in order to select Capture Info, Review Info. Are there any DTCs displayed that have not been diagnosed? | -- | Go to the Applicable DTC Table | System OK |