GM Service Manual Online
For 1990-2009 cars only

Removal Procedure

Refer to the following transmission component locator graphic as needed:


Object Number: 102556  Size: MF

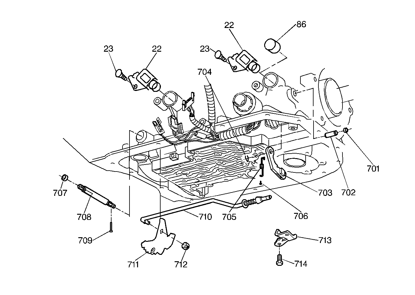
(22)Transmission Input Speed Sensor
(22)Vehicle Speed Sensor (RWD)
(23)Metric Hex Bolt
(23)Metric Hex Bolt
(86)Sensor Bore Plug
(701)Parking Pawl Shaft Hole Plug
(702)Parking Lock Pawl Shaft
(703)Parking Lock Pawl
(704)Parking Pawl Shaft Retainer
(705)Parking Pawl Return Spring
(706)Parking Pawl Return Spring Stud
(707)Manual Shift Shaft Seal Assembly
(708)Manual Shaft
(709)Manual Shaft Retainer Pin
(710)Parking Lock Actuator Assembly
(711)Inside Detent Lever and Pin Assembly
(712)Hex Head Nut
(713)Parking Lock Bracket
(714)Hex Head-M6 x 1.25 x 20.0 Bolt

  1. Remove the manual shift shaft nut.
  2. Remove the manual shaft retaining pin.
  3. Remove the inside detent lever.
  4. Remove the parking lock actuator assembly.
  5. Remove the bolts and the parking pawl bracket.
  6. Remove the stud and the parking pawl return spring.
  7. Remove the parking pawl shaft hole plug. Use a modified screw extractor.
  8. Remove the following parts:
  9. 8.1. The parking lock pawl shaft retainer
    8.2. The parking lock pawl shaft
    8.3. The parking lock pawl
  10. Remove the manual shift shaft.
  11. Remove the manual shift shaft seal assembly.
  12. Remove the vehicle speed sensors and the bracket assemblies.

Refer to the following transmission component locator graphic as needed:


Object Number: 102556  Size: MF

(22)Transmission Input Speed Sensor
(22)Vehicle Speed Sensor (RWD)
(23)Metric Hex Bolt
(23)Metric Hex Bolt
(86)Sensor Bore Plug
(701)Parking Pawl Shaft Hole Plug
(702)Parking Lock Pawl Shaft
(703)Parking Lock Pawl
(704)Parking Pawl Shaft Retainer
(705)Parking Pawl Return Spring
(706)Parking Pawl Return Spring Stud
(707)Manual Shift Shaft Seal Assembly
(708)Manual Shaft
(709)Manual Shaft Retainer Pin
(710)Parking Lock Actuator Assembly
(711)Inside Detent Lever and Pin Assembly
(712)Hex Head Nut
(713)Parking Lock Bracket
(714)Hex Head-M6 x 1.25 x 20.0 Bolt

  1. Inspect the parking lock pawl for the following conditions:
  2. • Cracks
    • Burrs
    • Damage
  3. Inspect the parking lock pawl shaft for the following conditions:
  4. • Damage
    • Freeness of fit
  5. Inspect the parking pawl return spring for the following conditions:
  6. • Distortion
    • Damage
  7. Inspect the inside detent lever and the parking lock actuator assembly for the following conditions:
  8. • Cracks
    • Damage
  9. Inspect the manual shift shaft for damaged flats or damaged threads.

Installation Procedure

Refer to the following transmission component locator graphic as needed:


Object Number: 102556  Size: MF

(22)Transmission Input Speed Sensor
(22)Vehicle Speed Sensor (RWD)
(23)Metric Hex Bolt
(23)Metric Hex Bolt
(86)Sensor Bore Plug
(701)Parking Pawl Shaft Hole Plug
(702)Parking Lock Pawl Shaft
(703)Parking Lock Pawl
(704)Parking Pawl Shaft Retainer
(705)Parking Pawl Return Spring
(706)Parking Pawl Return Spring Stud
(707)Manual Shift Shaft Seal Assembly
(708)Manual Shaft
(709)Manual Shaft Retainer Pin
(710)Parking Lock Actuator Assembly
(711)Inside Detent Lever and Pin Assembly
(712)Hex Head Nut
(713)Parking Lock Bracket
(714)Hex Head-M6 x 1.25 x 20.0 Bolt

  1. Install the parking lock pawl shaft.
  2. Install the parking lock pawl.
  3. Apply Loctite® sealer or the equivalent to a new parking pawl shaft hole plug.
  4. Install the new parking pawl shaft hole plug. Use a 8 mm (5/16 in) diameter rod in order to install the plug.
  5. Install the parking lock pawl shaft retainer.
  6. Install the parking pawl return spring stud.
  7. Install the parking pawl return spring.
  8. Install the inside detent lever to the parking lock actuator assembly.
  9. Install the parking lock actuator assembly over the parking lock pawl.
  10. Install the manual shift shaft seal assembly and the manual shift shaft.
  11. Use a 15 mm socket in order to install the manual shift shaft nut.
  12. Install the manual shaft roll pin.
  13. Install the parking lock bracket with the two bolts.
  14. Tighten
    Tighten the bolts to 24 N·m (18 lb ft).

    Notice: Use the correct fastener in the correct location. Replacement fasteners must be the correct part number for that application. Fasteners requiring replacement or fasteners requiring the use of thread locking compound or sealant are identified in the service procedure. Do not use paints, lubricants, or corrosion inhibitors on fasteners or fastener joint surfaces unless specified. These coatings affect fastener torque and joint clamping force and may damage the fastener. Use the correct tightening sequence and specifications when installing fasteners in order to avoid damage to parts and systems.