GM Service Manual Online
For 1990-2009 cars only
Makes
🢒
Chevrolet
🢒
1997
🢒
Express
🢒 Fuel Injector Controls 5.0L/5.7L
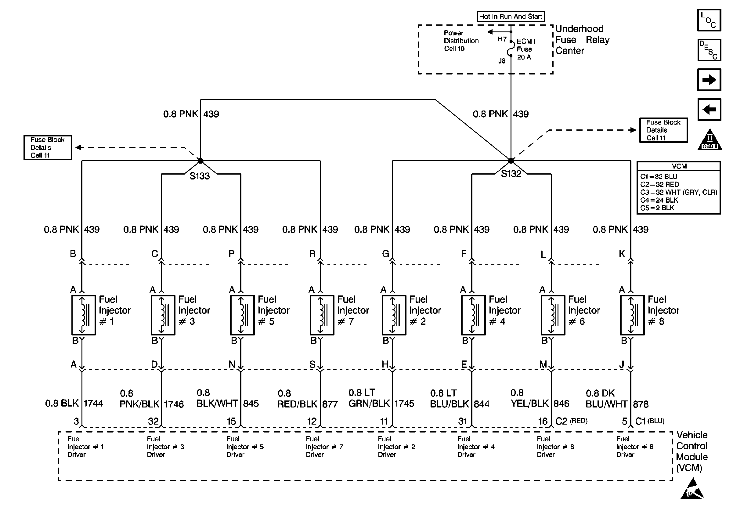
Fuel Injector Controls 5.0L/5.7L
Fuel Injector Controls 5.0L/5.7L
Engine Controls Components
Information Sensors 5.7L, 7.4L
Sensor Controls 5.0L/5.7L
Fuel Pump Controls 5.0L/5.7L
OBD II Symbol Description Notice