GM Service Manual Online
For 1990-2009 cars only

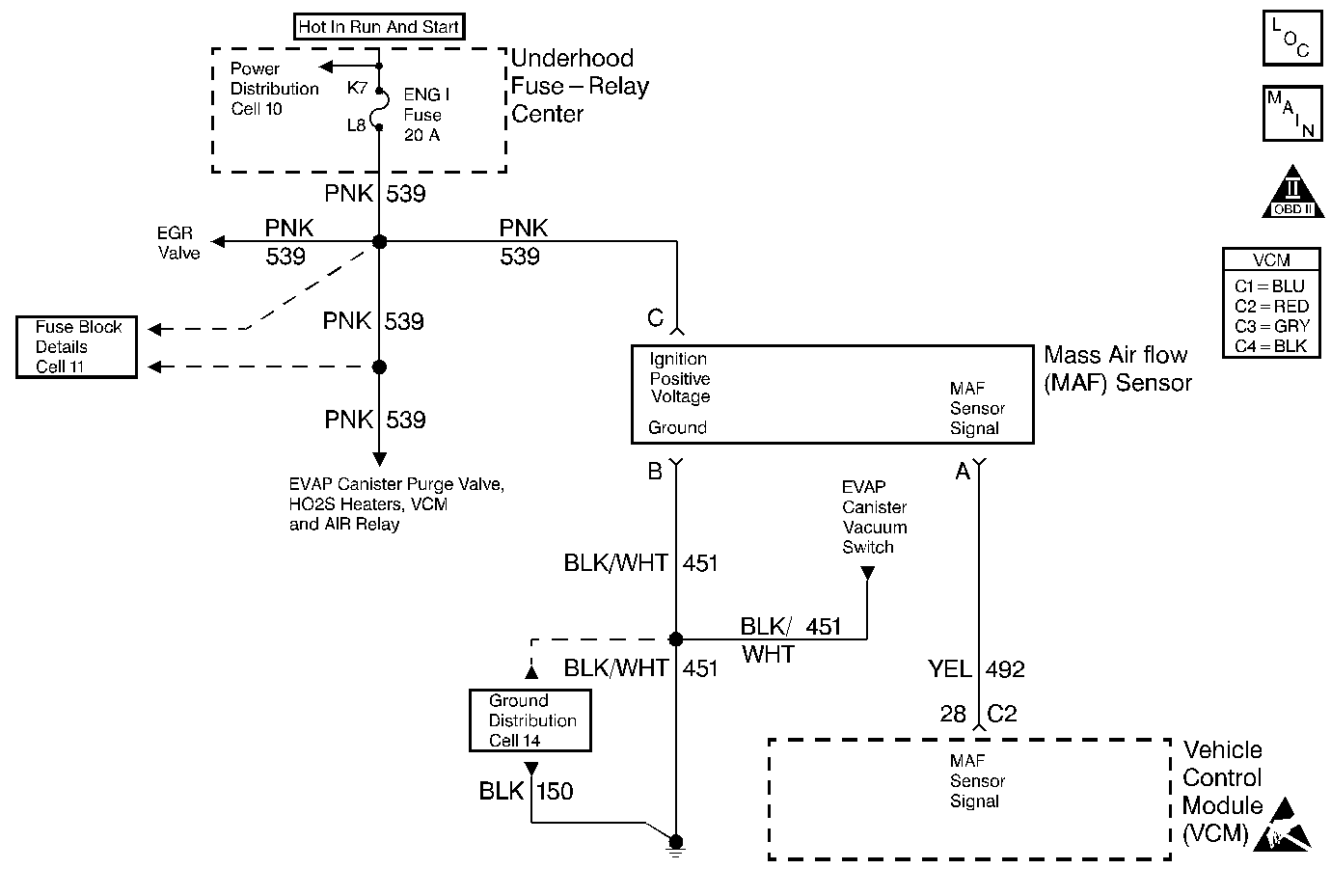
Object Number: 58129  Size: MF
Engine Controls Components
Engine Controls Schematics
OBD II Symbol Description Notice
Handling ESD Sensitive Parts Notice

Circuit Description

The Mass Air Flow (MAF) sensor measures the amount of air entering the engine during a given time. The VCM uses the Mass Air Flow information for the fuel delivery calculations. A large quantity of air entering the engine indicates an acceleration or a high load situation, while a small quantity of air indicates a deceleration or a idle situation.

The MAF sensor produces a frequency signal which a scan tool can monitor. The frequency varies within a range of around 5 to 7 g/s at idle to near 125 g/s at maximum engine load. This DTC is a type A DTC.

Conditions for Setting the DTC

Power Up Test (7.4L)

    • The engine is OFF
    • The ignition is ON for 1 second.
    • The MAF is at least 12000 Hz

High Frequency Test

    • The engine speed is at least 300 RPM
    • Engine Run Time is at least 1 second
    • System voltage is at least 8 volts
    • Throttle Position is less than 89.8%
    • The MAF sensor is at least 10400 Hz
    • The signal from the MAF sensor is above the possible range of a normally operating MAF sensor

Action Taken When the DTC Sets

    • The VCM illuminates the Malfunction Indicator Lamp (MIL) the first time the fault is detected.
    • The VCM calculates an airflow value based on the Idle Air Control (IAC) valve position, throttle position, engine speed and barometric pressure.
    • The VCM stores the conditions which were present when the DTC set as Freeze Frame and the Fail Records data.

Conditions for Clearing the MIL or DTC

    • The control module turns OFF the MIL after 3 consecutive drive trips when the test has run and passed.
    • A history DTC will clear if no fault conditions have been detected for 40 warm-up cycles. A warm-up cycle occurs when the coolant temperature has risen 22°C (40°F) from the startup coolant temperature and the engine coolant reaches a temperature that is more than 70°C (158°F) during the same ignition cycle.
    • Use a scan tool in order to clear the DTCs.

Diagnostic Aids

Check for the following conditions:

    • Poor connection at VCM Inspect harness connectors for the following conditions:
       - Backed out terminals
       - Improper mating
       - Broken locks
       - Improperly formed or damaged terminals
       - Poor terminal to wire connection
    • A misrouted harness. Inspect the MAF sensor harness in order to ensure that it is not routed too close to the high voltage wires such as spark plug leads.
    • A damaged harness. Inspect the wiring harness for damage. If the harness appears to be OK, observe the scan tool while moving connectors and wiring harnesses related to the MAF sensor. A change in the display will indicate the location of the fault.

Test Description

The numbers below refer to the step numbers on the diagnostic table:

  1. This step verifies that the problem is present at idle.

  2. A frequency reading with the MAF sensor connector disconnected indicates an Electromagnetic Interference (EMI) related fault or a poor connection.

Step

Action

Value(s)

Yes

No

1

Important: Before clearing the DTCs, use the scan tool in order to record the Freeze Frame and the Failure Records for reference. This data will be lost when the Clear DTC Information function is used.

Was the Powertrain On-Board Diagnostic (OBD) System Check performed?

--

Go to Step 2

Go to Powertrain On Board Diagnostic (OBD) System Check

2

  1. Start the engine.
  2. With the engine idling, monitor the MAF reading on the scan tool.

Is the MAF reading above the specified value?

20 g/s

Go to Step 4

Go to Step 3

3

  1. Turn ON the ignition leaving the engine OFF.
  2. Review the scan tool Failure Records data.
  3. Record the scan tool Failure Records data.
  4. Operate the vehicle within the Failure Records conditions as noted.
  5. Using a scan tool, monitor the Specific DTC information for DTC P0103.

Does the scan tool indicate DTC P0103 Failed This Ignition?

--

Go to Step 4

Refer to Diagnostic Aids

4

  1. Turn OFF the ignition.
  2. Disconnect the MAF sensor connector.
  3. Turn ON the ignition allowing the engine to idle.
  4. Monitor the MAF on the scan tool.

Is the MAF reading at the specified value?

0.0 g/s

Go to Step 5

Go to Step 7

5

  1. Check for a poor connection at the MAF sensor harness terminals.
  2. If a poor connection is found, repair the circuit as necessary. Refer to Wiring Repairs in Engine Electrical.

Was a poor connection found?

--

Go to Step 10

Go to Step 6

6

Replace the MAF sensor. Refer to MAF Sensor Replacement .

Is the action complete?

--

Go to Step 10

--

7

  1. Perform the following MAF sensor harness checks for incorrect routing near:
  2. • Secondary ignition wires or coils.
    • Other high voltage components (solenoids, relays, motors).
  3. If an incorrect routing is found, correct the harness routing.

Was a problem found?

--

Go to Step 10

Go to Step 8

8

  1. Check the MAF signal circuit terminal connections at the VCM.
  2. If a poor connection is found, repair the circuit as necessary. Refer to Wiring Repairs in Engine Electrical.

Was a poor connection found?

--

Go to Step 10

Go to Step 9

9

Replace the VCM.

Important:  When replacing the VCM, the new VCM will need to be programmed. Refer to VCM Replacement/Programming (With KS Calibration PROM) .

Is the action complete?

--

Go to Step 10

--

10

  1. Use the scan tool in order to select DTC and the Clear DTC Information function.
  2. Start the Engine.
  3. Allow the engine to idle until the normal operating temperature is reached.
  4. Select DTC and the Specific DTC function.
  5. Enter the DTC number which was set.
  6. Operate the vehicle within the conditions for setting this DTC as specified in the supporting text.

Does the scan tool indicate that this diagnostic ran and passed?

--

Go to Step 11

Go to Step 2

11

Use the scan tool in order to display the Capture Info and the Review Capture Info function.

Are there any DTCs displayed that have not been diagnosed?

--

Go to Applicable DTC Table

System OK