GM Service Manual Online
For 1990-2009 cars only

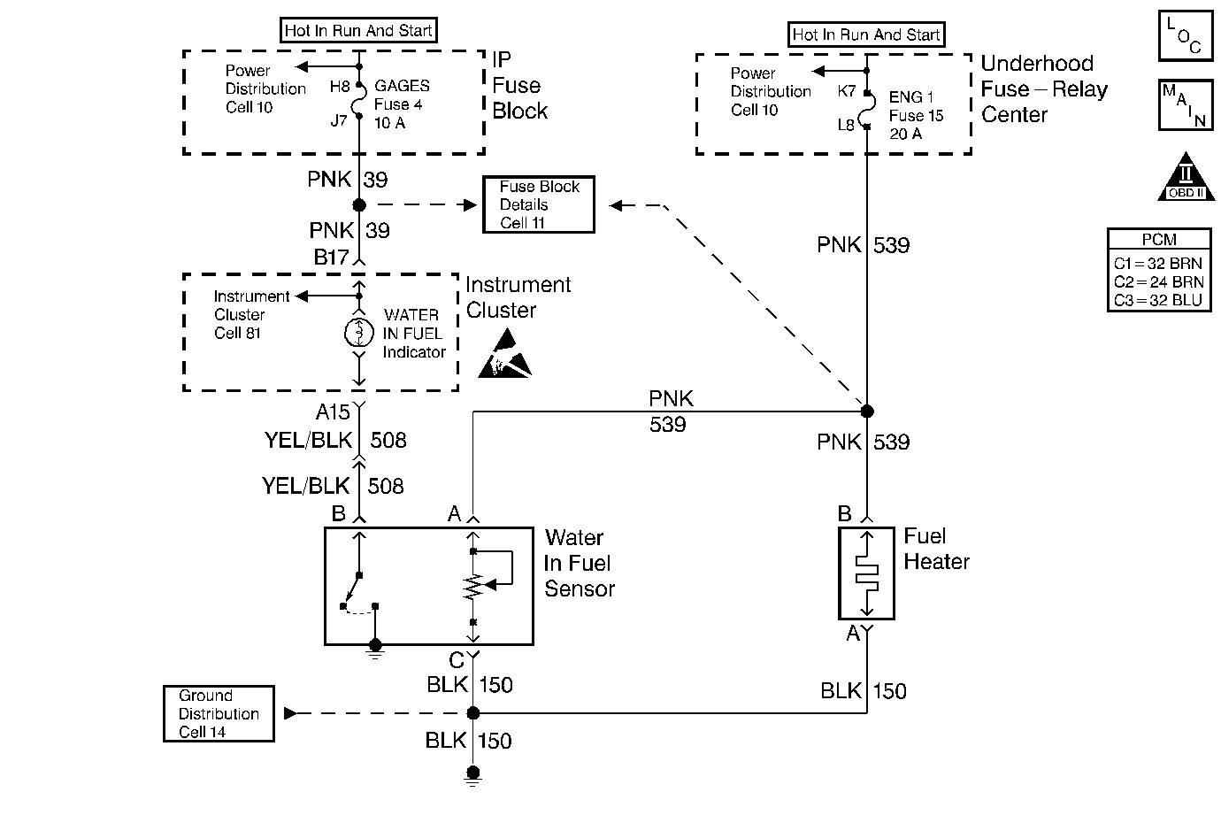
Object Number: 195191  Size: MF
Engine Controls Components
Cell 22: Fuel Controls
OBD II Symbol Description Notice
Handling ESD Sensitive Parts Notice

Circuit Description

The fuel manager/filter assembly consists of the fuel heater, the water in fuel sensor and a filter. The filter contains the coalescer (the device that combines small droplets of water into larger ones) and the filter/separator.

A fuel lift pump delivers diesel fuel from the tank to the fuel filter. As fuel enters the filter, it passes first though the fuel heater. The heater contains a thermostatic switch. The switch opens or closes to turn the heater OFF or ON, depending on the temperature of the fuel.

The fuel then passes through the filter. Next the fuel flows through the water coalescer. Here, the droplets of water in the fuel combine into larger drops that fall to the water reservoir in the filter. When fuel flows from the fuel manager/filter assembly to the injection pump, the fuel is clean and free of water.

The fuel heater is operated by a built-in thermostatic switch. The thermostatic switch completes the circuit for the fuel heater element when it senses a temperature below 8°C (46°F).

Test Description

Number(s) below refer to step number(s) on the Diagnostic Table.

  1. This step checks for a fuel heater that is suck ON.

  2. This steps checks for a thermostatic switch that completes the circuit.

Step

Action

Value(s)

Yes

No

1

Is the Water In Fuel lamp operating properly?

--

Go to Step 2

Go to Water-in-Fuel Lamp Diagnosis

2

  1. Disconnect the fuel heater connector and remove the fuel heater from the filter housing.
  2. With the fuel heater at room temperature, connect terminal C of the fuel heater to B+ and connect terminal A of the fuel heater to ground.
  3. Observe the heater element.

Does heat occur?

--

Go to Step 4

Go to Step 3

3

  1. Cool the sensor part of the fuel heater with ice.
  2. With the fuel heater below 8°C (46°F), wet the heating element with fuel.
  3. Connect terminal C of the fuel heater to B+ and connect terminal A of the fuel heater to ground.
  4. Observe the heating element.

Does heat occur?

--

Go to Step 5

Go to Step 4

4

Replace the fuel heater. Refer to Fuel Heater Replacement .

Is the action complete?

--

Go to Step 5

--

5

Operate the vehicle under which the problem was noted.

Does the system operate properly?

--

System OK

Go to Step 1