|
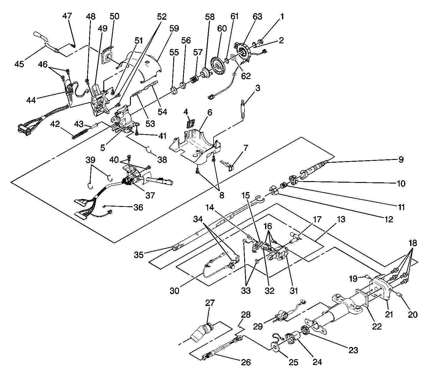
| (1) | Flange Prevail Torque Nut |
| (2) | Retainer Ring |
| (3) | Shroud Mounting Stud |
| (4) | Shroud Protector |
| (5) | Steering Column Tilt Head Assembly |
| (6) | Lower Shroud |
| (7) | Tilt Lever Assembly |
| (8) | Pan Head Tapping
Screw |
| (9) | Race & Upper Shaft Assembly |
| (10) | Centering Sphere |
| (11) | Joint Preload Spring |
| (12) | Centering Sphere |
| (13) | Linear Shift Assembly |
| (14) | Ball & Actuator Assembly |
| (15) | Cable Shift Cam Assembly |
| (16) | Flat Head 6-lobed
Soc. Tap Screw |
| (17) | Shift Lever Clevis |
| (18) | Torx Head Screw |
| (19) | Pivot Pin |
| (20) | Pivot Pin |
| (21) | Steering Column Support Assembly |
| (22) | Steering
Column Jacket Assembly |
| (23) | Foam Insulator |
| (24) | Adapter & Bearing Assembly |
| (25) | Steering
Wheel Speed Sensor Assembly |
| (26) | Coupling & Steering Shaft Assembly |
| (27) | Inner
Boot Seal |
| (28) | Pinch Bolt |
| (29) | Electrical (BTSI) Actuator |
| (30) | Park Lock Cable Assembly |
| (31) | Gear Shift Lever
Assembly Support Bracket |
| (32) | Cam Bushing |
| (33) | Hex Flange Head Bolt |
| (34) | Oval Head 6-Lobed
Soc. Tap Screw |
| (35) | Lower Steering Shaft Assembly |
| (36) | Axial Position Assur Connector |
| (37) | Turn Signal
& Multifunction Switch Assembly |
| (38) | Wire Harness Strap |
| (39) | Wire Harness Strap |
| (40) | Pan Head Tapping Screw |
| (41) | Torx Head Screw |
| (42) | Tilt Spring |
| (43) | Spring Guide |
| (44) | Ign & Key Alarm Switch Assembly |
| (45) | Automatic Transmission Control Lever Assembly |
| (46) | Tapping Screw |
| (47) | Shift Lever Screw |
| (48) | Pan Head Tapping Screw |
| (49) | Lock Module Assembly |
| (50) | Shift Lever Seal |
| (51) | Torx Head Screw |
| (52) | Pan Head Tapping Screw |
| (53) | Lock Bolt Spring |
| (54) | Lock Bolt Assembly |
| (55) | Inner Race |
| (56) | Upper Bearing Inner Race Seat |
| (57) | Upper
Bearing Spring |
| (58) | Turn Signal Cancel Cam Assembly |
| (59) | Upper Shroud |
| (60) | Shaft Lock Shield Assembly |
| (61) | Bearing Retainer |
| (62) | Wave Washer |
| (63) | Inflatable Restraint Steering Wheel Module Coil Assembly |