GM Service Manual Online
For 1990-2009 cars only

The cycling clutch orifice tube (CCOT) refrigerant system cycles a compressor ON and OFF in order to maintain the desired cooling. This cycling also prevents evaporator freeze-up. The temperature selector on the control assembly maintains comfort in the passenger compartment.

A switch that senses low side pressure as an indicator of the evaporator pressure controls the refrigeration cycle, or the ON and OFF operation of the compressor. The cycling pressure switch is the freeze protection device in the system. The switch also senses refrigerant pressure on the suction side of the system. This switch is located on the accumulator. With air temperatures of 10°C (50°F), the equalized pressures within the charged air conditioning system closes the contacts of the pressure switch.

When you select an air conditioning mode, the compressor clutch coil receives electrical energy. As the compressor reduces the evaporator pressure to approximately 159 kPa (23 psi), the pressure switch opens, de-energizing the compressor clutch. The system equalizes and the pressure reaches approximately 315 kPa (46 psi). Then, the pressure switch contacts close, re-energizing the clutch coil. The cycling continues and maintains the evaporator discharge air temperature at approximately 1°C (33°F).

Some slight increases and decreases of engine speed/power may occur under certain conditions, due to the cycling. This is normal. The system cycles in order to maintain the desired cooling, which prevents the evaporator freeze-up.

Additional compressor protection results from the operating characteristics of the low-side cycling pressure system. If a massive discharge occurs in the low side of the system, or the orifice tube becomes plugged, the contacts of the pressure switch may not close due to insufficient low-side pressures. If there is a low charge, insufficient cooling accompanied by rapid compressor clutch cycling is noticeable at high air temperatures.

When the engine is OFF while the air conditioning system is operating, the refrigerant in the system flows from the high-pressure side of the expansion tube (orifice) to the low pressure side until the pressure equalizes. This may be detected as a hissing sound for 30-60 seconds. The hissing is normal.

The following air conditioning systems are available for the vehicle:

Figure 1:

C69 Front Heat and A/C


Object Number: 300807  Size: MF
(1)Auxiliary Evaporator Hose
(2)Compressor Auxiliary Tube
(3)Compressor and Condenser Hose
(4)A/C Condenser
(5)A/C Compressor
(6)A/C Accumulator
(8)Auxiliary Evaporator Tube
(9)Auxiliary Evaporator and Blower Motor
Figure 2:

YF7 Front and Rear Heat/A/C


Object Number: 300808  Size: MF
(1)Evaporator Tube Fitting
(2)Compressor and Condenser Hose
(3)A/C Compressor
(4)A/C Condenser
(5)Evaporator Inlet Tube
(6)A/C Accumulator
(7)Evaporator Inlet Tube
Figure 3:

C60 Front Heat and A/C


Object Number: 300809  Size: MF
(1)Compressor and Condenser Hose
(2)A/C Compressor
(3)A/C Condenser
(4)Evaporator Inlet Tube
(5)A/C Accumulator
(6)Evaporator Inlet Tube
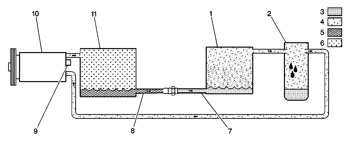
Figure 4:

C60 A/C System Refrigerant Flow


Object Number: 399351  Size: SF
(1)Evaporator
(2)Accumulator
(3)Low Pressure Liquid
(4)Low Pressure Vapor
(5)High Pressure Liquid
(6)High Pressure Vapor
(7)Orifice Tube
(8)Liquid Line
(9)Pressure Relief Valve
(10)Compressor
(11)Condenser
    • C36 Rear Auxiliary Heat Only
    • C42 Front Base Heat
    • C60 Front Heat and A/C
    • C69 Rear Auxiliary A/C and Heat
    • C42 and C36 Front and Rear Heat
    • C60 and C36 Front Heat A/C and Rear Heat
    • C60 and C69 Front and Rear A/C and Heat