GM Service Manual Online
For 1990-2009 cars only
Figure 1:

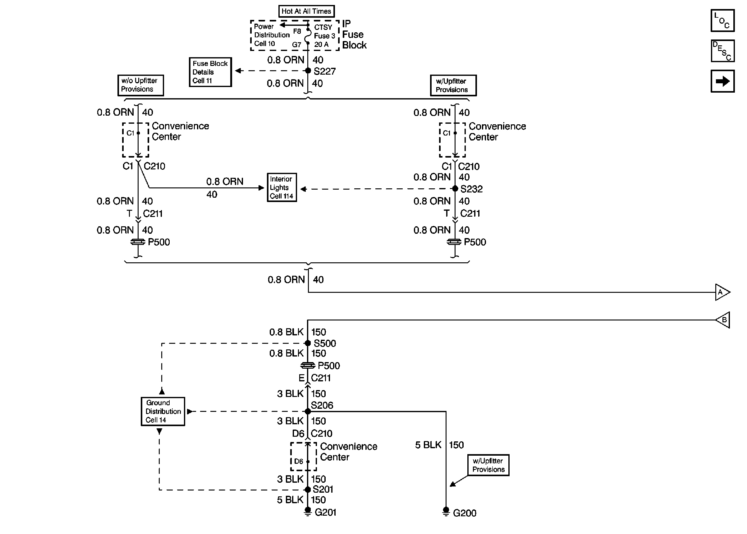
Cell 147: CTSY Fuse, G200, G201


Object Number: 458331  Size: FS
Power Door Systems Components
Outside Mirrors Circuit Description
Cell 147: Power Mirror Switch and Motors
Power Distribution Schematics
Power Distribution Schematics
Interior Lights Schematics
Ground Distribution Schematics
Cell 147: Power Mirror Switch and Motors
Cell 147: Power Mirror Switch and Motors
Figure 2:

Cell 147: Power Mirror Switch and Motors


Object Number: 512595  Size: FS
Power Door Systems Components
Outside Mirrors Circuit Description
Cell 147: CTSY Fuse, G200, G201
Cell 147: CTSY Fuse, G200, G201
Cell 147: CTSY Fuse, G200, G201
Figure 3:

Cell 147: Heated Outside Mirrors


Object Number: 512599  Size: FS
Power Door Systems Components
Heated Mirror Circuit Description
Handling ESD Sensitive Parts Notice
Power Distribution Schematics
Power Distribution Schematics
Power Distribution Schematics
Ground Distribution Schematics
Ground Distribution Schematics