GM Service Manual Online
For 1990-2009 cars only
Makes
🢒
Chevrolet
🢒
1998
🢒
Express
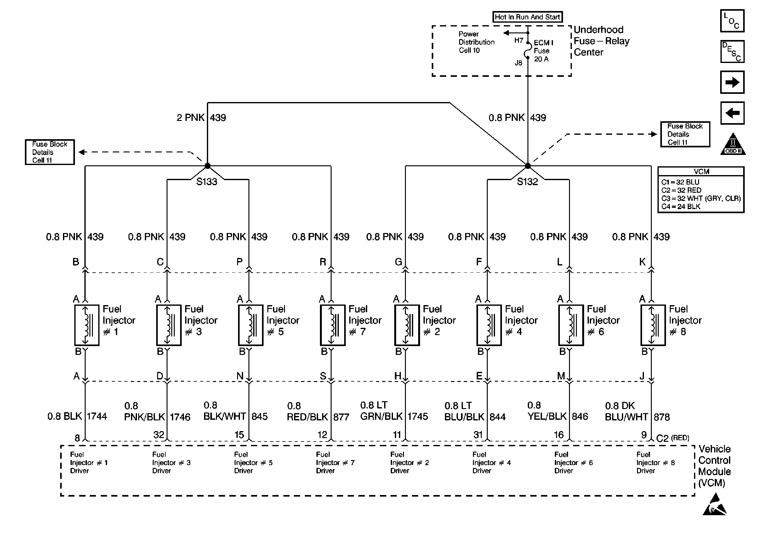
🢒 Cell 21: Fuel Injector Controls
Cell 21: Fuel Injector Controls
Cell 21: Fuel Injector Controls
Engine Controls Components
Information Sensors/Switches Description
Cell 21: Sensor Controls
Cell 21: Fuel Pump Controls
OBD II Symbol Description Notice
VCM Connector End Views
Handling ESD Sensitive Parts Notice
Fuse Block Schematics
Fuse Block Schematics
Power Distribution Schematics