GM Service Manual Online
For 1990-2009 cars only
Makes
🢒
Chevrolet
🢒
1998
🢒
Express
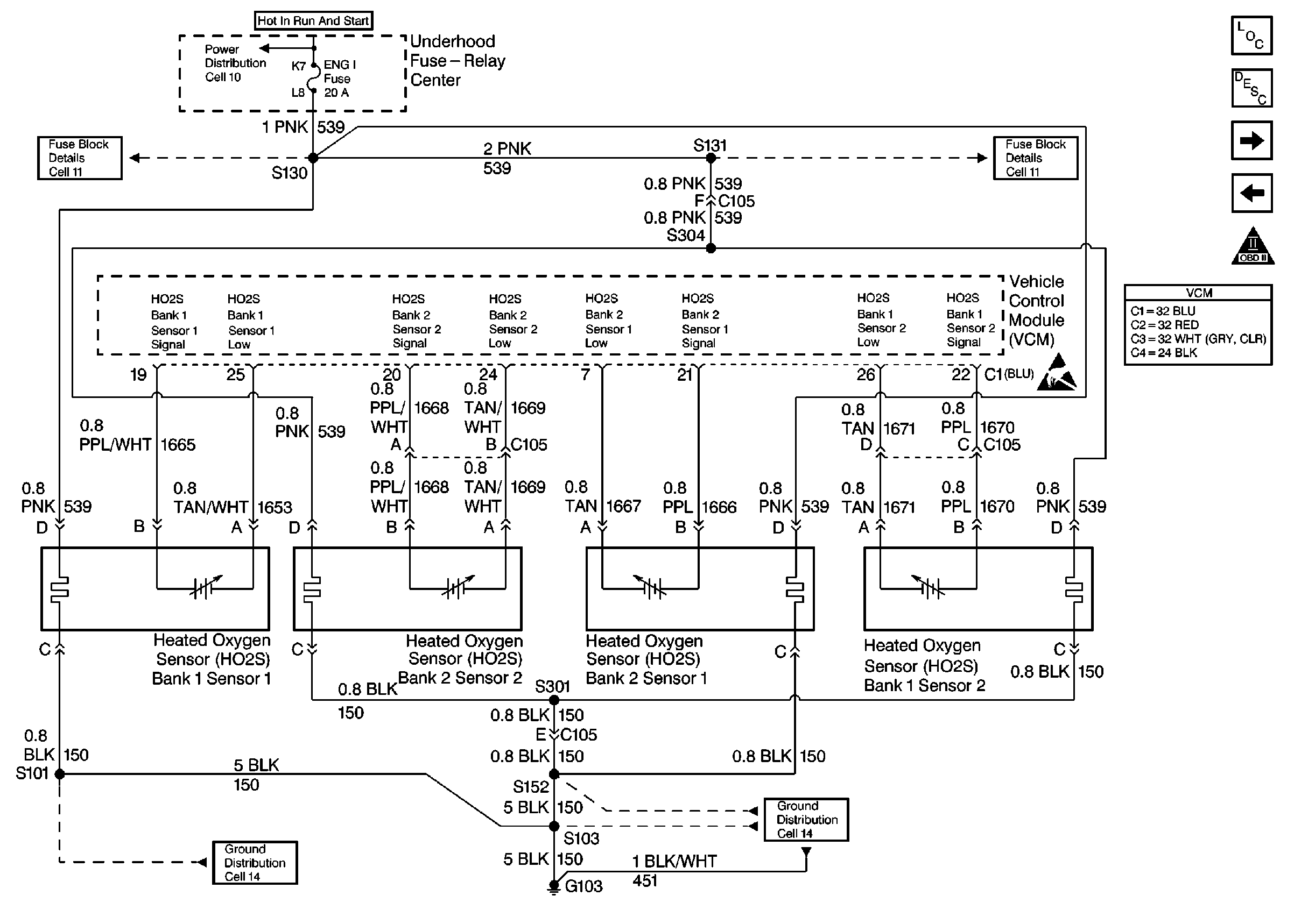
🢒 Cell 23: Oxygen Sensor Controls
Cell 23: Oxygen Sensor Controls
Cell 23: Oxygen Sensor Controls
Engine Controls Components
Information Sensors/Switches Description
Cell 23: Vehicle Speed Sensor and Cruise Control
Cell 23: EGR and EVAP Controls
OBD II Symbol Description Notice
VCM Connector End Views
Handling ESD Sensitive Parts Notice
Power Distribution Schematics
Fuse Block Schematics
Fuse Block Schematics
Ground Distribution Schematics
Ground Distribution Schematics