GM Service Manual Online
For 1990-2009 cars only
Makes
🢒
Chevrolet
🢒
1998
🢒
Express
🢒 MAF and IAT - 98 G Figure
MAF and IAT - 98 G Figure
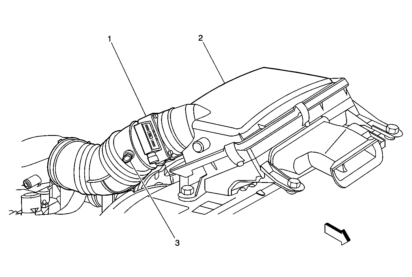
MAF, IAT and Air Cleaner
(1)
Mass Air Flow (MAF) Sensor
(2)
Air Cleaner Assembly
(3)
Intake Air Temperature (IAT) Sensor