GM Service Manual Online
For 1990-2009 cars only
Makes
🢒
Chevrolet
🢒
1998
🢒
Express
🢒 Cell 11 (1 of 17)
Cell 11 (1 of 17)
Cell 11 (1 of 17)
Handling Electrostatic Discharge Sensitive Parts Notice
Handling Electrostatic Discharge Sensitive Parts Notice
Cell 11 (2 of 17)
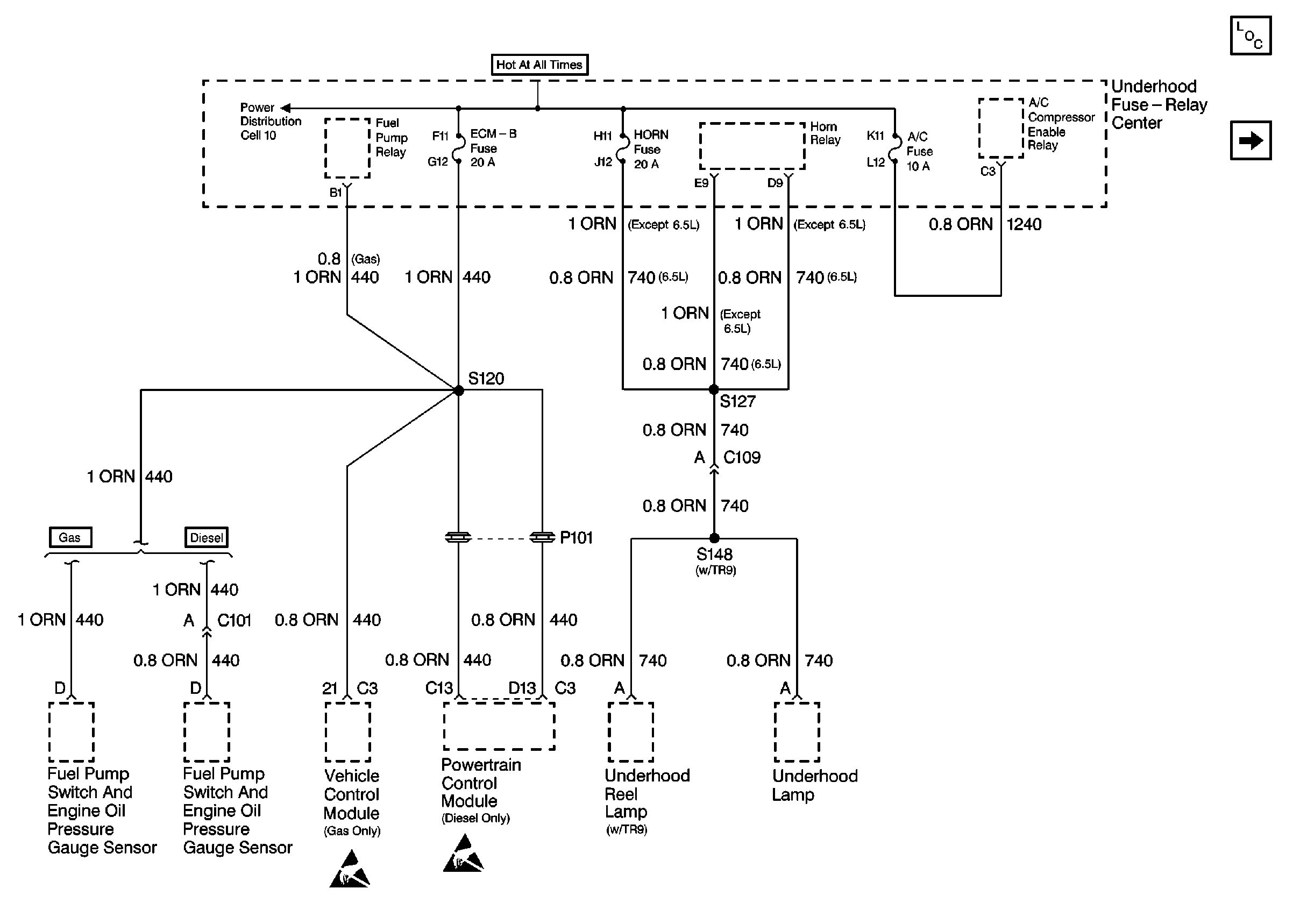
Power and Grounding Components
Power Distribution Schematics