GM Service Manual Online
For 1990-2009 cars only
Makes
🢒
Chevrolet
🢒
1998
🢒
Express
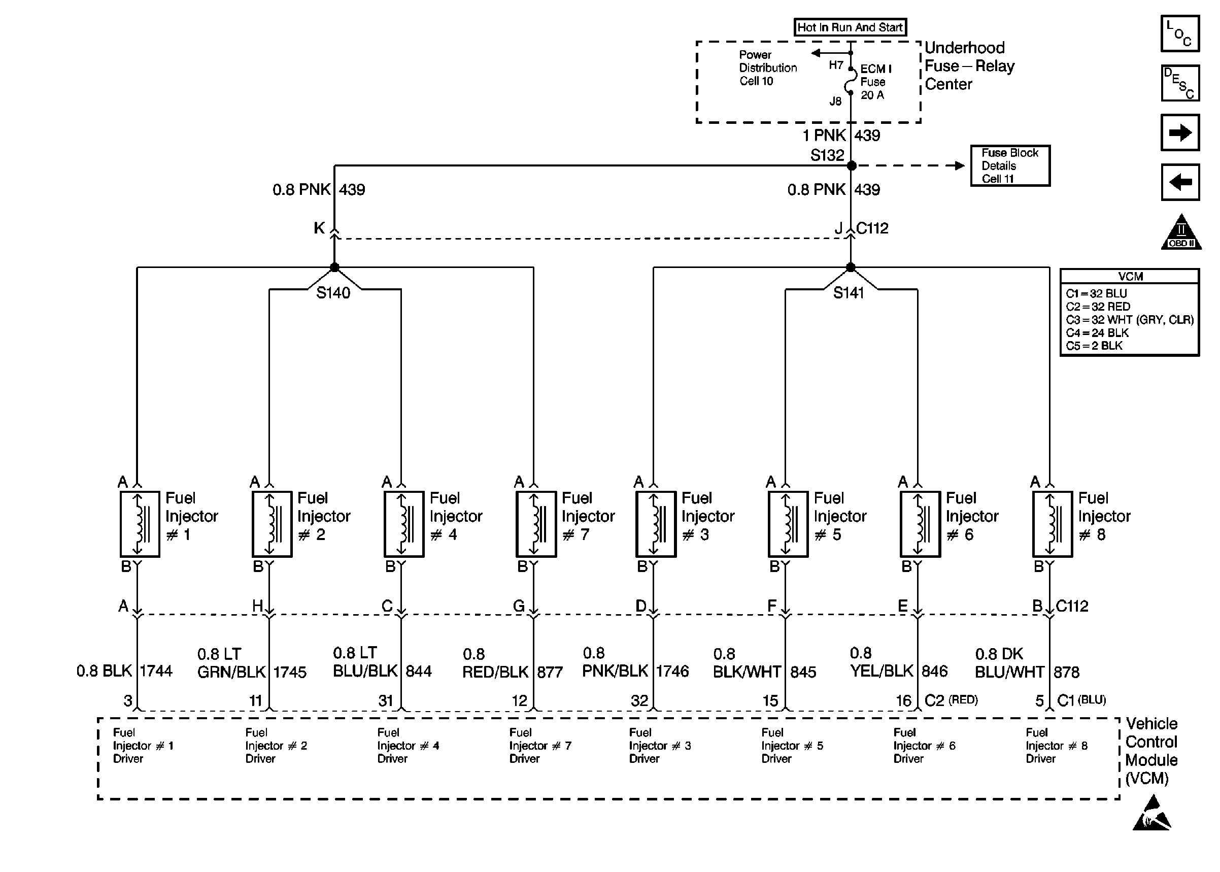
🢒 Fuel Injector Controls 7.4L
Fuel Injector Controls 7.4L
Fuel Injector Controls 7.4L
Engine Controls Components
Information Sensors 5.7L, 7.4L
Sensor Controls 7.4L
Fuel Pump Controls 7.4L
OBD II Symbol Description Notice