GM Service Manual Online
For 1990-2009 cars only

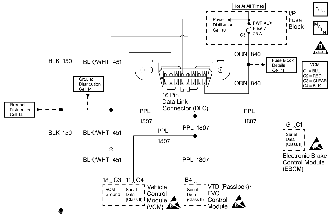
Object Number: 255650  Size: MF
FIGURE - G Van DLC Comp Loc
Cell 21: PWR, GND and DLC
OBD II Symbol Description Notice
Handling ESD Sensitive Parts Notice
Handling ESD Sensitive Parts Notice
Handling ESD Sensitive Parts Notice

Circuit Description

The control module communicates with other modules using the Class 2 Serial Data circuit. The vehicle theft deterrent (VTD) (Passlock) module sends a vehicle security password to the control module, via the Class 2 Serial Data circuit, after the system has sensed the proper operation of the ignition switch and lock, and determined that the switch and lock have not been tampered with. If this password matches the password stored in the control module, fuel will be enabled. If the VTD (Passlock) module does not send a password, or if the control module does not receive it, the vehicle will not start, or it may start and stall. This will set a DTC P1626 in the control module memory. If communication is lost after receiving the password, the VTD (Passlock) system will go into Fail Enable, set a U1192 in the control module, and the engine will continue to run. This will allow the engine to restart on future ignition cycles but may set a DTC P1626 as the engine is started. If the battery is disconnected or the codes are cleared, the vehicle will lose its Fail Enable status and will not start until communication is re-established.

Conditions for Running the DTC

    • The VTD system is enabled.
    • The fuel enable decision point has been reached (engine cranking).

Conditions for Setting the DTC

The VCM has not established communications with the VTD (Passlock) control module and has not received a valid password before reaching the fuel enable decision point.

Action Taken When the DTC Sets

When the failure occurs before the VCM receives a Fuel Continue Password (during engine cranking):

    • The vehicle does not start; or it starts and stalls.
    • The VCM disables fuel delivery, until the fault is corrected and a valid password is received from the VTD (Passlock) Control Module.
    • A DTC P1626 is stored in the VCM memory.
    • The VCM will not illuminate the MIL.

When the failure is present on an ignition cycle after the VTD system went into Fail Enable Mode (VCM lost communication with the VTD after receiving the Fuel Continue Password):

    • The vehicle starts.
    • The VCM continues to enable fuel delivery (Fuel Enabled after Security Fault mode) until the fault is corrected and a valid password is received from the VTD (Passlock) Control Module.
    • A DTC P1626 is stored in the VCM memory.
    • The VCM will not illuminate the MIL.

Conditions for Clearing the MIL/DTC

    • A history DTC will clear if no fault conditions have been detected for 40 warm-up cycles.
    • A warm-up cycle occurs when the coolant temperature has risen 22°C (40°F) from the startup coolant temperature and the engine coolant temperature exceeds 70°C (160°F) during the same ignition cycle.
    • Use the scan tool Clear Information function.

Diagnostic Aids

Important: Do not clear DTCs unless directed by a diagnostic procedure. Clearing DTCs will also clear valuable Freeze Frame and Failure Records data.

    • Check for published service bulletins relating to exhibited symptoms or component operation.
    • Inspect all related wiring and connections including the VCM and VTD (Passlock) Control Module connections. These may cause an intermittent malfunction.
    • If the Class 2 serial data circuit is shorted to ground or shorted to voltage, then all systems connected to the serial data circuit will not be able to communicate properly. Systems capable of storing loss of communications DTCs (DTCs with the letter U as a prefix) will have these codes stored in their memory. If a DTC U1192 is stored in the VCM memory along with the P1626, then a fault occurred at some point after the VCM received the correct password. The VTD must also be checked for intermittent operation due to a loss of power or ground to the module itself. After repairing the cause of DTC P1626, clear all DTCs from the systems capable of storing this DTC and DTC U1192.
    • The VTD (Passlock) parameters can be monitored in the VCM data display with a scan tool.
    • The scan tool's Diagnostic Circuit Check can be used to:
       - Monitor the Class 2 Serial Data circuit for modules which have been or are communicating.
       - Monitor for loss of communication DTCs (DTCs with the letter U as a prefix: U1001-U1199).
       - Clear loss of communication DTCs. When a Clear Codes command is issued, all codes, Freeze Frame and Failure Records information is cleared.
    • The scan tool's Class 2 Message Monitor will show the status of each module on the Class 2 circuit. A status of Active indicates that the module is communicating with the scan tool. An Inactive status indicates that the module previously communicated with the scan tool, but it is not communicating currently. The inactive status will only appear if the loss of communication occurs while on the Message Monitor screen. If a module is not listed at all, then the missing module never successfully established communications with the scan tool or lost communication while on another screen. Refer to Data Link Communications System Check in Wiring Systems for the complete Class 2 data link to determine if there are any unlisted modules.

An intermittent may be caused by any of the following conditions:

    • A poor connection
    • Rubbed through wire insulation
    • A broken wire inside the insulation

Thoroughly check any circuitry that is suspected of causing the intermittent complaint. Refer to Intermittents and Poor Connections Diagnosis in Wiring Systems.

If a repair is necessary, refer to Wiring Repairs or Connector Repairs in Wiring Systems.

Test Description

The numbers below refer to the step numbers on the diagnostic table.

  1. This test checks if communications can be established between the scan tool and the VTD. If the scan tool cannot communicate with the VTD, refer to Theft Deterrent Diagnostic System Check in Theft Deterrent.

  2. This test checks for any opens in the serial data circuit between the VCM and the VTD. This also checks for any intermittent malfunctions associated with the serial data circuit.

  3. This step is to determine if the condition that set the DTC is still present. The engine must be cranked in order to set this DTC. If the condition is present, the engine will start and then stall, indicating the VCM is disabling fuel.

  4. Use a scan tool to clear and check for any DTCs in all the modules connected to the Class 2 Serial Data circuit (VCM, VTD, ATC, and BCM).

Step

Action

Value(s)

Yes

No

1

Important: Before clearing the DTCs, use the scan tool Capture Info to save the Freeze Frame and Failure Records for reference. The control module's data is deleted once the Clear Info function is used.

Did you perform the Powertrain On-Board Diagnostic (OBD) System Check?

--

Go to Step 2

Go to Powertrain On Board Diagnostic (OBD) System Check

2

  1. Install the scan tool.
  2. Turn ON the ignition leaving the engine OFF.
  3. Attempt to establish communications with the VTD (Passlock) Control Module.

Does the scan tool communicate with the VTD (Passlock) Control Module?

--

Go to Step 3

Go to Diagnostic System Check - Theft Deterrent in Theft Deterrent

3

Check the Class 2 Serial Data circuit for the following intermittent conditions:

    • An open in the Class 2 Serial Data circuit between the VCM and the VTD (Passlock) Control Module.
    • A short to ground.
    • A short to voltage.
    • Loose or damaged terminals at the DLC, VCM, or the VTD (Passlock) Control Module.

Did you find a problem?

--

Go to Step 6

Go to Step 4

4

  1. Turn OFF the ignition.
  2. Connect or install any connectors or components that were disconnected or removed.
  3. Clear all DTCs using a scan tool.
  4. Turn OFF the ignition for 15 seconds.
  5. Attempt to start the engine.

Does DTC P1626 reset?

--

Go to Diagnostic System Check - Theft Deterrent in Theft Deterrent

Go to Step 5

5

This DTC is intermittent.

Are any additional DTCs stored?

--

Go to the applicable DTC table

Go to Diagnostic Aids

6

Repair the circuit as necessary. Refer to Wiring Repairs or Connector Repairs in Wiring Systems.

Is the action complete?

--

Go to Step 7

--

7

  1. Turn OFF the ignition.
  2. Connect or install any connectors or components that were disconnected or removed.
  3. Clear all DTCs using a scan tool.
  4. Turn OFF the ignition for 15 seconds.
  5. Start the engine and allow it to run.

Are any new DTCs displayed?

--

Go to Powertrain On Board Diagnostic (OBD) System Check

System OK