GM Service Manual Online
For 1990-2009 cars only

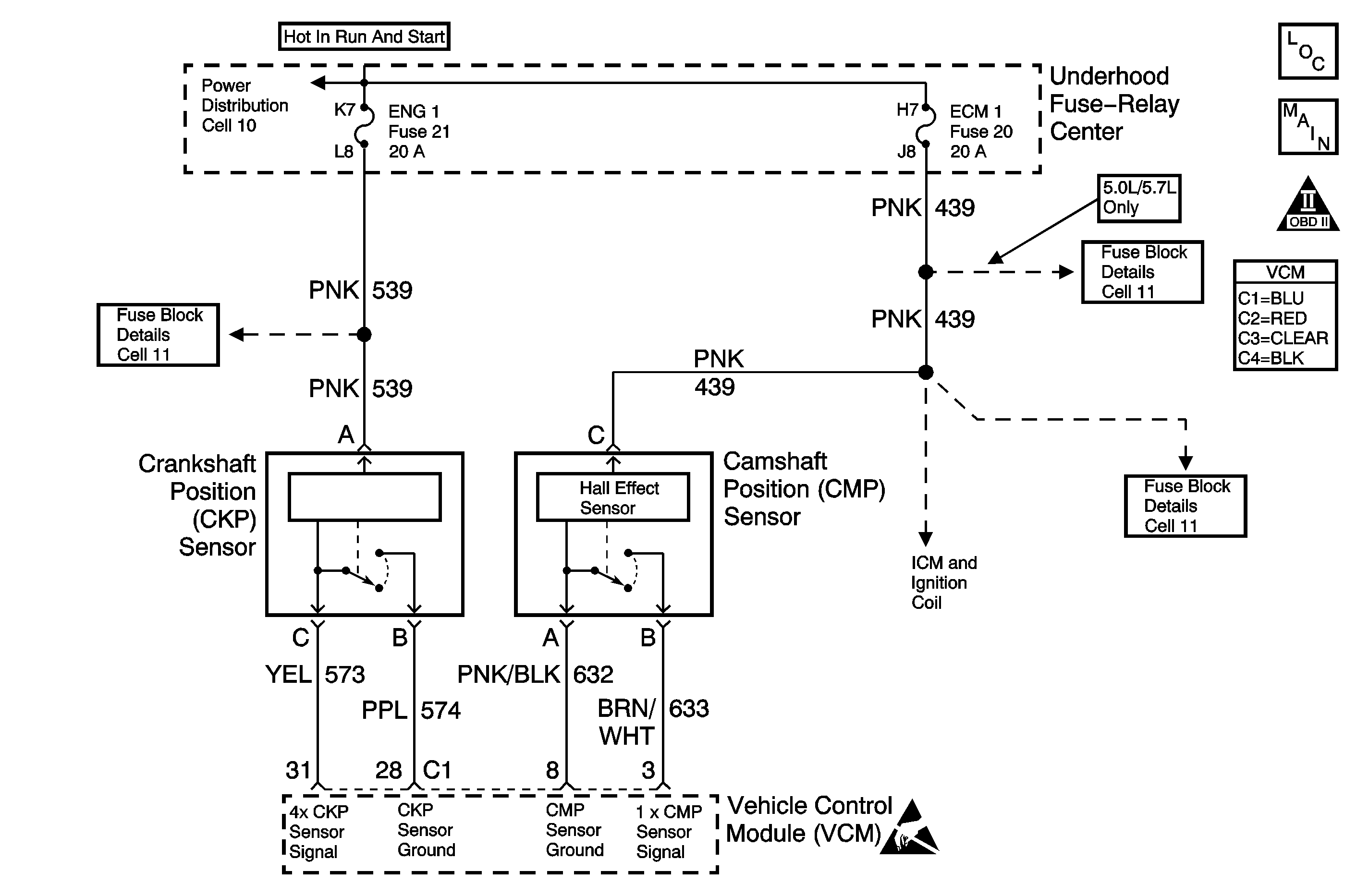
Object Number: 33715  Size: MF
Engine Controls Components
Cell 23: Ignition Controls
OBD II Symbol Description Notice
Handling ESD Sensitive Parts Notice

Circuit Description

The crankshaft position (CKP) sensor is a sensor designed to detect changes in a magnetic field. The control module supplies the CKP sensor a signal and ground circuits. Ignition voltage is supplied to the sensor by an independent circuit. The CKP sensor produces a magnetic field whenever the ignition is ON. The CKP sensor is mounted near a reluctor wheel that is attached to the crankshaft. When the crankshaft rotates, when the engine is cranking or running, the toothed reluctor wheel changes the magnetic field. The CKP sensor converts each change in the magnetic field into a PULSE. The number of teeth on the reluctor wheel determines how many pulses the CKP sensor detects per crankshaft rotation. The CKP sensor signal is used in order to determine the engine speed, the crankshaft position, and to detect misfire.

If a loss of the CKP signal or an erratic signal is detected by the VCM while the engine is running, this DTC will be set.

Conditions for Running the DTC

The MAF is 5 g/s or more.

Conditions for Setting the DTC

The VCM detects an instantaneous change in engine speed more than 1,000 RPM.

Action Taken When the DTC Sets

    • The VCM illuminates the MIL during the second consecutive drive cycle in which the diagnostic reports a fail.
    • The VCM will set the DTC and records the operating conditions at the time the diagnostic fails. The VCM stores the failure information in the scan tools Freeze Frame and Failure Records.

Conditions for Clearing the MIL or DTC

    • The control module turns OFF the MIL after 3 consecutive drive trips when the test has run and passed.
    • A history DTC will clear if no fault conditions have been detected for 40 warm-up cycles. A warm-up cycle occurs when the coolant temperature has risen 22°C (40°F) from the startup coolant temperature and the engine coolant reaches a temperature that is more than 70°C (158°F) during the same ignition cycle.
    • Use a scan tool in order to clear the DTCs.

Diagnostic Aids

Inspect the face of the CKP sensor for metallic particles. This could result in an intermittent DTC.

Check for the following:

    • A chipped or damaged reluctor wheel
    • Incorrect reluctor wheel
    • Incorrect alignment of the CKP sensor to reluctor wheel
    • Excessive crankshaft end play
    • Refer to Symptoms .

Test Description

The numbers below refer to the step numbers on the diagnostic table.

  1. This test checks the ignition positive voltage circuit to the crankshaft position sensor.

  2. This test checks the duty cycle of the crankshaft position sensor.

Step

Action

Value(s)

Yes

No

1

Important: Before clearing DTCs, use the scan tool Capture Info function to save the Freeze Frame and the Failure Records for reference. The control module's data is deleted once the Clear Info function is used.

Did you perform the Powertrain On-Board Diagnostic (OBD) System Check?

--

Go to Step 2

Go to Powertrain On Board Diagnostic (OBD) System Check

2

Does the vehicle start and continue to run?

--

Go to Diagnostic Aids

Go to Step 3

3

  1. Disconnect the crankshaft position (CKP) sensor harness connector.
  2. Connect a test lamp to a ground.
  3. Turn ON the ignition leaving the engine OFF.
  4. Probe the crankshaft position sensor connector ignition positive voltage circuit.

Is the test lamp ON?

--

Go to Step 4

Go to Step 6

4

Connect the test lamp between the CKP sensor connector gnition positive voltage and ground terminals.

Is the test lamp ON?

--

Go to Step 5

Go to Step 7

5

  1. Turn OFF the ignition.
  2. Install the gray jumpers from the J 35616 connector test adaptor kit between the engine harness connector and the CKP sensor ignition positive voltage and ground circuits.
  3. Install a J 39200 DMM set to the duty cycle position (select AC voltage and press Hz button twice to display duty cycle), between the CKP sensor (4X) signal circuit and the CKP sensor ground circuit.
  4. Crank the engine.

Is the duty cycle within the specified value?

23 %-43 %

Go to Step 8

Go to Step 9

6

Repair the open or short to ground in the CKP sensor ignition positive voltage circuit. Refer to Wiring Repairs in Wiring Systems.

Is the action complete?

--

Go to Step 16

--

7

Check the CKP sensor ground circuit for an open.

Did you find a problem?

--

Go to Step 14

Go to Step 13

8

Check for an open or a short in the CKP sensor (4X) signal circuit.

Did you find a problem?

--

Go to Step 14

Go to Step 11

9

Check the crankshaft position (CKP) sensor and the crankshaft reluctor wheel for damage. Refer to Diagnostic Aids.

Did you find a problem?

--

Go to Step 10

Go to Step 12

10

  1. Replace the crankshaft position (CKP) sensor and/or the crankshaft reluctor wheel. Refer to Crankshaft Position Sensor Replacement and/or Crankshaft Position Sensor Reluctor Ring Replacement in Engine Mechanical.
  2. Perform the CKP System Variation Learn Procedure. Refer to Crankshaft Position System Variation Learn .

Is the action complete?

--

Go to Step 16

--

11

Check for a poor connection at the CKP sensor.

Did you find a problem?

--

Go to Step 14

Go to Step 13

12

Important: Inspect the CKP sensor mounting surface to ensure that the surface is clean and free of debris.

  1. Replace the CKP sensor. Refer to Crankshaft Position Sensor Replacement .
  2. Perform the CKP System Variation Learn Procedure.
  3. Refer to Crankshaft Position System Variation Learn .

Is the action complete?

--

Go to Step 16

--

13

Check for a poor connection at the VCM.

Did you find a problem?

--

Go to Step 14

Go to Step 15

14

Repair the circuit as necessary. Refer to Connector Repairs or Wiring Repairs in Wiring Systems.

Is the action complete?

--

Go to Step 16

--

15

  1. Replace the VCM.
  2. Program the new VCM. Refer to VCM Replacement/Programming .
  3. Perform the VTD Password Learn Procedure. Refer to Password Learn .
  4. Perform the CKP System Variation Learn Procedure.
  5. Refer to Crankshaft Position System Variation Learn .

Is the action complete?

--

Go to Step 16

--

16

  1. Using the scan tool, clear the DTCs.
  2. Start the engine.
  3. Allow the engine to idle until the engine reaches normal operating temperature.
  4. Select the DTC and the Specific DTC functions.
  5. Enter the DTC number which was set.
  6. Operate the vehicle, with the Conditions for Setting this DTC, until the scan tool indicates that the diagnostic Ran.

Does the scan tool indicate that the diagnostic Passed?

--

Go to Step 17

Go to Step 2

17

Does the scan tool display any additional undiagnosed DTCs?

--

Go to the applicable DTC table

System OK