GM Service Manual Online
For 1990-2009 cars only

DTC P0713 Transmission Fluid Temperature (TFT) Sensor Circuit High Input Gas


Object Number: 69953  Size: MF
Automatic Transmission Components Gas Engines
Automatic Transmission Controls Schematics Gas Engines
OBD II Symbol Description Notice
Handling ESD Sensitive Parts Notice
Handling ESD Sensitive Parts Notice

Circuit Description

The Automatic Transmission Fluid Temperature (TFT) Sensor is part of the 4L80-E Automatic Transmission Wiring Harness Assembly (A/T Wiring Harness Assy). The TFT Sensor is a resistor, or thermistor, which changes value based on temperature. The sensor has a negative-temperature coefficient. This means that as the temperature increases, the resistance decreases, and as the temperature decreases the resistance increases. The Vehicle Control Module (VCM) supplies a 5-volt reference signal to the sensor on circuit 1227 and measures the voltage drop in the circuit. When the transmission fluid is cold, the sensor resistance is high and the VCM detects high signal voltage. As the fluid temperature warms to a normal operating temperature, the resistance becomes less and the signal voltage decreases. The VCM uses this information to control shift quality and torque converter clutch apply.

If the VCM detects a continuous open or short to the power in the TFT signal circuit or the TFT Sensor, then DTC P0713 sets. DTC P0713 is a type D DTC.

Conditions for Setting the DTC

    • The TFT Sensor indicates a voltage greater than 4.94 volts.
    • The ignition is ON.
    • All conditions met for 400 seconds.

Action Taken When the DTC Sets

    • The VCM does not illuminate the Malfunction Indicator Lamp (MIL).
    • The VCM commands increased line pressure.
    • The VCM freezes shift adapts.
    • The VCM determines a TFT default Transmission Temperature (TFT) using the following matrix:
       - If the Engine Run Time is less than 60 seconds then Default TFT equals the Intake AIR Temperature (IAT), plus 5 degrees.
       - If the Engine Coolant Temperature (ECT) is less than 85°C (185°F) then Default TFT equals IAT plus 10 degrees.
       - If the ECT is 85°-110°C (185°-230°F) then Default TFT equals ECT plus 10 degrees.
       - If the ECT is greater 110°C (230°F) then Default TFT is set to 140°C (284°F) and transmission shift pattern is in Hot Mode.
       - If ECT and TFT DTCs are both set then Default TFT is 140°C (284°F).
    • DTC P0713 is stored in VCM history.

Conditions for Clearing the DTC

    • A scan tool can clear the DTC from the VCM history. The VCM clears the DTC from the VCM history if the vehicle completes 40 warm-up cycles without a failure reported.
    • The VCM cancels the DTC default actions when the fault no longer exists and the ignition is OFF long enough in order to power down the VCM.

Diagnostic Aids

    • Inspect the harness for a faulty connection or an open in circuit 1227.
    • Inspect the wiring at the VCM, the transmission connector and all other circuit connecting points for the following conditions:
       - A bent terminal
       - A backed out terminal
       - A damaged terminal
       - Poor terminal tension
       - A chafed wire
       - A broken wire inside the insulation
       - Moisture intrusion
       - Corrosion
    • High voltage (B+) in circuit 1227 may also damage the TFT Sensor.
    • When diagnosing for an intermittent short or open, massage the wiring harness while watching the test equipment for a change.
    • The scan tool displays the transmission fluid temperature (TFT) in degrees. After the transmission operates, the temperature rises steadily to about 100°C (212°F). The temperature then stabilizes.
    • Test the TFT Sensor at the various temperatures in order to evaluate the possibility of a skewed (mis-scaled) sensor. Use the Temperature vs Resistance table. A skewed sensor may cause firm shifts or TCC complaints.
    • First diagnose and clear any engine DTCs or TP Sensor codes that are present. Then inspect for any transmission DTCs that may have reset.

Test Description

The numbers below refer to the step numbers on the diagnostic table.

  1. This step tests for higher than normal circuit voltage which may also damage the TFT Sensor.

  2. This step simulates a TFT Sensor DTC P0712. If the VCM recognizes the low signal voltage (high temperature), and the scan tool displays 146°C (295°F) or greater, the VCM and the wiring are OK.

  3. This step verifies a problem in the TFT Sensor circuit inside the transmission.

  4. This step inspects the TFT Sensor and the Automatic Transmission Wiring Harness Assembly (A/T Wiring Harness Assy). for an open. Circuit 470 becomes circuit 452 inside the transmission.

P0713

Step

Action

Value(s)

Yes

No

1

Was the Powertrain On-Board Diagnostic (OBD) System Check performed?

--

Go to Step 2

Go to Powertrain On Board Diagnostic (OBD) System Check (4.3L) or Powertrain On Board Diagnostic (OBD) System Check (5.7L) or Powertrain On Board Diagnostic (OBD) System Check (7.4L)

2

Perform the Transmission Fluid Checking Procedure.

Refer to Transmission Fluid Check .

Did you perform the Transmission Fluid Checking Procedure?

--

Go to Step 3

Go to Transmission Fluid Check

3

  1. Install the Scan Tool .
  2. With the engine OFF, turn the ignition switch to the RUN position.
  3. Important: Before clearing the DTCs, use the scan tool in order to record the Failure Records for reference. The Clear Info function erases the stored Failure Records from the VCM.

  4. Record the DTC Failure Records.

Does the scan tool display a TFT Sensor signal voltage greater than the specified value?

4.92 volts

Go to Step 4

Go to Diagnostic Aids

4

Important: Refer to Test Description for information about Step 4.

Does the scan tool display a TFT voltage greater than the specified value?

5.1 volts

Go to Step 11

Go to Step 5

5

  1. Turn the ignition OFF.
  2. Disconnect the transmission 20-way connector.
  3. Install the J 39775 Jumper Harness on the engine side of the 20-way connector.
  4. Using the J 39200 DMM and the J 35616 Connector Test Adapter Kit, measure the voltage between jumper harness terminal L and a good ground.
  5. Refer to Electronic Component Description .

  6. Turn the ignition switch to the RUN position.

Is the voltage within the specified value?

4.9-5.0 Volts

Go to Step 6

Go to Step 10

6

  1. Turn the ignition OFF.
  2. Install a J 36169-A Fused Jumper Wire between terminals L and M on the transmission 20-way connector (Automatic Transmission Connector End View).
  3. Turn the ignition switch to the RUN position.

Is the scan tool TFT Sensor signal voltage less than the specified value?

0.2 volts

Go to Step 7

Go to Step 12

7

  1. Turn the ignition OFF.
  2. Install the J 39775 Jumper Harness to the transmission side of the 20-way connector (Automatic Transmission Connector End View).
  3. Using the J 39200 DMM, measure the resistance between terminals L and M.
  4. Refer to Electronic Component Description .

Is the resistance within the specified values?

16kohms at 10°C (50°F) to 133ohms at 110°C (230°F)

Go to Diagnostic Aids

Go to Step 8

8

  1. Remove the transmission oil pan.
  2. Refer to Automatic Transmission Fluid and Filter Replacement .

  3. Inspect the A/T Wiring Harness Assy. for an open in circuits 1227 and 452. Refer to General Electrical Diagnosis in Wiring Systems.

Did you find the open condition?

--

Go to Step 9

Go to Step 15

9

Replace the A/T Wiring Harness Assy.

Refer to Interior Wiring Harness Replacement, in On-Vehicle Service.

Is the replacement complete?

--

Go to Step 16

--

10

Inspect circuit 1227 for high resistance or an open.

Refer to General Electrical Diagnosis in Wiring Systems.

Did you find the condition?

--

Go to Step 16

Go to Step 13

11

Inspect circuit 1227 for a short to voltage B+.

Refer to General Electrical Diagnosis in Wiring Systems.

Did you find the condition?

--

Go to Step 16

Go to Step 13

12

Inspect circuit 470 for an open.

Refer to General Electrical Diagnosis in Wiring Systems.

Did you find the condition?

--

Go to Step 16

Go to Step 13

13

Inspect the VCM for faulty or intermittent connections.

Did you find the condition?

--

Go to Step 16

Go to Step 14

14

Replace the VCM.

Refer to:

    •  VCM Replacement/Programming (4.3L)
    •  VCM Replacement/Programming (5.7L)
    •  VCM Replacement/Programming (7.4L)

Is the Replacement complete?

--

Go to Step 16

--

15

Replace the TFT Sensor.

Refer to A/T Fluid Temperature Sensor Replacement.

Is the replacement complete?

--

Go to Step 16

--

16

In order to verify your repair, perform the following procedure:

  1. Select DTC.
  2. Select Clear Info.
  3. Operate the vehicle so that the TFT Sensor indicates a voltage less than 4.92 volts for 400 seconds (6.8 minutes).
  4. Select Specific DTC. Enter DTC P0713.

Has the test run and passed?

--

System OK

Begin the diagnosis again. Go to Step 1.

DTC P0713 Transmission Fluid Temperature (TFT) Sensor Circuit High Input Diesel


Object Number: 69998  Size: MF
Automatic Transmission Components Diesel Engines
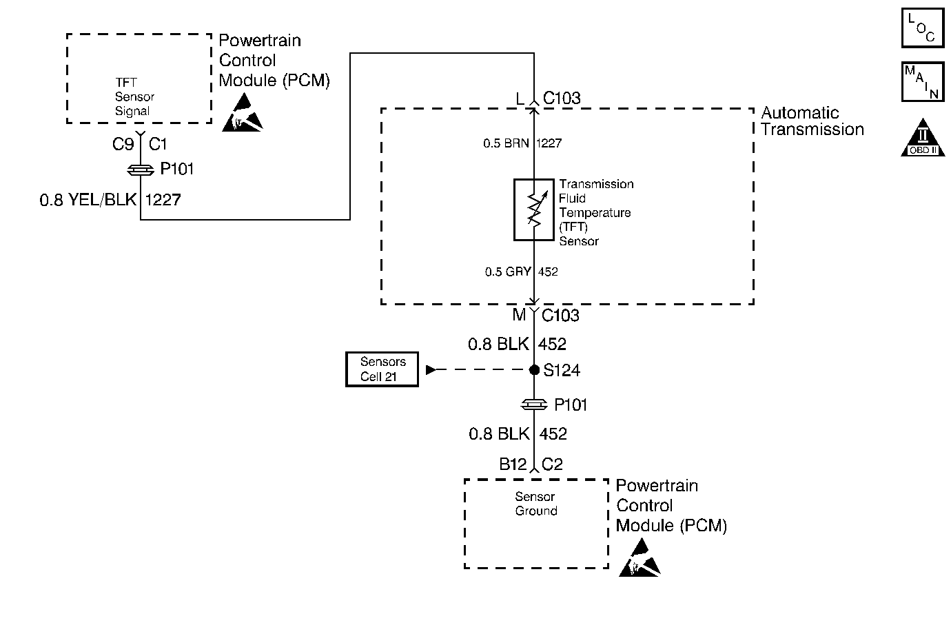
Automatic Transmission Controls Schematics Diesel Engines
OBD II Symbol Description Notice
Handling ESD Sensitive Parts Notice
Handling ESD Sensitive Parts Notice

Circuit Description

The Automatic Transmission Fluid Temperature (TFT) Sensor is part of the 4L80-E Automatic Transmission Wiring Harness Assembly (A/T Wiring Harness Assy.). The TFT Sensor is a resistor, or thermistor, which changes value based on temperature. The sensor has a negative-temperature coefficient. This means that as the temperature increases, the resistance decreases, and as the temperature decreases the resistance increases. The Powertrain Control Module (PCM) supplies a 5-volt reference signal to the sensor on circuit 1227 and measures the voltage drop in the circuit. When the transmission fluid is cold, the sensor resistance is high and the PCM detects high signal voltage. As the fluid temperature warms to a normal operating temperature, the resistance becomes less and the signal voltage decreases. The PCM uses this information to control shift quality and torque converter clutch apply.

DTC P0713 is a type D DTC.

Conditions for Setting the DTC

    • The ignition is ON.
    • The TFT Sensor indicates a voltage greater than 4.94 volts.
    • All conditions are met for 400 seconds.

Action Taken When the DTC Sets

    • The PCM does not illuminate the Malfunction Indicator Lamp (MIL).
    • The PCM commands increased line pressure.
    • The PCM freezes shift adapts.
    • The PCM determines a TFT default Transmission Temperature (TFT) using the following matrix:
       - If the Engine Run Time is less than 60 seconds then Default TFT equals the Intake AIR Temperature (IAT), plus 5 degrees.
       - If the Engine Coolant Temperature (ECT) is less than 85°C (185°F) then Default TFT equals IAT plus 10 degrees.
       - If the ECT is 85°-110°C (185°-230°F) then Default TFT equals ECT plus 10 degrees.
       - If the ECT is greater 110°C (230°F) then Default TFT is set to 140°C (284°F) and transmission shift pattern is in Hot Mode.
       - If ECT and TFT DTCs are both set then Default TFT is 140°C (284°F).
    • DTC P0713 is stored in PCM history.

Conditions for Clearing the DTC

    • A scan tool can clear the DTC from the PCM history. The PCM clears the DTC from the PCM history if the vehicle completes 40 warm-up cycles without a failure reported.
    • The PCM cancels the DTC default actions when the fault no longer exists and the ignition is OFF long enough in order to power down the PCM.

Diagnostic Aids

    • Inspect the wiring at the PCM, the transmission connector and all other circuit connecting points for the following conditions:
       - A bent terminal
       - A backed out terminal
       - A damaged terminal
       - Poor terminal tension
       - A chafed wire
       - A broken wire inside the insulation.
       - Moisture intrusion
       - Corrosion
    • When diagnosing for an intermittent short or open, massage the wiring harness while watching the test equipment for a change.
    • First diagnose and clear any engine DTCs or TP Sensor DTCs that are present. Then inspect for any transmission DTCs that may have reset.
    • DTC P0218 may set approximately 600 seconds after DTC P0713 has set. Follow the diagnostic table for DTC P0713 before proceeding to the diagnostic table for DTC P0218.

Test Description

The numbers below refer to the step numbers on the diagnostic table.

  1. This step tests for higher than normal circuit voltage which may also damage the TFT Sensor.

  2. This step simulates a TFT Sensor DTC P0712. If the PCM recognizes the low signal voltage (high temperature), and the scan tool displays 146°C (295°F) or greater, the PCM and the wiring are OK.

  3. This step verifies a problem in the TFT Sensor circuit.

  4. This step inspects the TFT sensor and the A/T Wiring Harness Assy. for an open.

P0713

Step

Action

Value(s)

Yes

No

1

Was the Powertrain On-Board Diagnostic (OBD) System Check performed?

--

Go to Step 2

Go to Powertrain On Board Diagnostic (OBD) System Check

2

Perform the Transmission Fluid Checking Procedure.

Refer to Transmission Fluid Check .

Did you perform the fluid checking procedure?

--

Go to Step 3

Go to Transmission Fluid Check

3

  1. Install the Scan Tool .
  2. With the engine OFF, turn the ignition switch to the RUN position.
  3. Important: Before clearing the DTCs, use the scan tool in order to record the Failure Records for reference. Using the Clear Info function erases the stored Failure Records from the PCM.

  4. Record the DTC Failure Records, then clear the DTC.

Does the scan tool display a TFT Sensor signal voltage greater than the specified value?

4.92 volts

Go to Step 4

Go to Diagnostic Aids

4

Important:: Refer to Test Description for information about Step 4.

Does the scan tool display a TFT voltage greater than the specified value?

5.1 volts

Go to Step 11

Go to Step 5

5

  1. Turn the ignition OFF.
  2. Disconnect the transmission 20-way connector (multiple DTCs will set).
  3. Install the J 39775 Jumper Harness on the engine side of the 20-way connector.
  4. Using the J 39200 DMM and the J 35616 Connector Test Adapter Kit, measure the voltage between Jumper Harness terminal L and a good ground.
  5. Turn the ignition switch to the RUN position.

Is the voltage within the specified value?

4.9-5.0 volts

Go to Step 6

Go to Step 10

6

  1. Turn the ignition OFF.
  2. Install a J 36169-A Fused Jumper Wire between terminals L and M of the transmission 20-way connector.
  3. Turn the ignition switch to the RUN position.

Is the TFT sensor signal voltage less than the specified value?

0.2 volts

Go to Step 7

Go to Step 12

7

  1. Turn the ignition OFF.
  2. Install the J 39775 Jumper Harness to the transmission side of the 20-way connector.
  3. Using the DMM, measure the resistance between terminals L and M.
  4. Refer to Electronic Component Description .

Is the resistance within the specified values?

16kohms at 10°C (50°F) to 133ohms at 110°C (230°F)

Go to Diagnostic Aids

Go to Step 8

8

  1. Remove the transmission oil pan.
  2. Refer to On-Vehicle Service, Transmission Pan removal.

  3. Inspect the Automatic Transmission Wiring Harness Assembly (A/T Wiring Harness Assy.) for an open in circuit 1227.
  4. Inspect for an open in A/T Wiring Harness Assy. circuit 452. Refer to General Electrical Diagnosis in Wiring Systems.

Did you find the open condition?

--

Go to Step 9

Go to Step 15

9

Replace the A/T Wiring Harness Assy.

Refer to Interior Wiring Harness Replacement, in On-vehicle Service.

Is the replacement complete?

--

Go to Step 16

--

10

Inspect circuit 1227 for high resistance or an open.

Refer to General Electrical Diagnosis in Wiring Systems.

Did you find the condition?

--

Go to Step 16

Go to Step 13

11

Inspect circuit 1227 for a short to voltage B+.

Refer to General Electrical Diagnosis in Wiring Systems.

Did you find the condition?

--

Go to Step 16

Go to Step 13

12

Inspect circuit 452 for an open.

Refer to General Electrical Diagnosis in Wiring Systems.

Did you find the condition?

--

Go to Step 16

Go to Step 13

13

Inspect the PCM for faulty or intermittent connections.

Did you find the condition?

--

Go to Step 16

Go to Step 14

14

Replace the PCM.

Refer to Powertrain Control Module Replacement/Programming .

Is the Replacement complete?

--

Go to Step 16

--

15

Replace the TFT Sensor.

Refer to A/T Fluid Temperature Sensor Replacement.

Is the Replacement complete?

--

Go to Step 16

--

16

In order to verify your repair, perform the following procedure:

  1. Select DTC.
  2. Select Clear Info.
  3. Operate the vehicle so that the TFT Sensor indicates a voltage less than 4.92 volts for 10 seconds.
  4. Select Specific DTC. Enter DTC P0713.

Has the test run and passed?

--

System OK

Begin the diagnosis again. Go to Step 1