GM Service Manual Online
For 1990-2009 cars only

DTC P0719 Brake Switch Circuit Low Input Gas


Object Number: 70011  Size: MF
Automatic Transmission Components Gas Engines
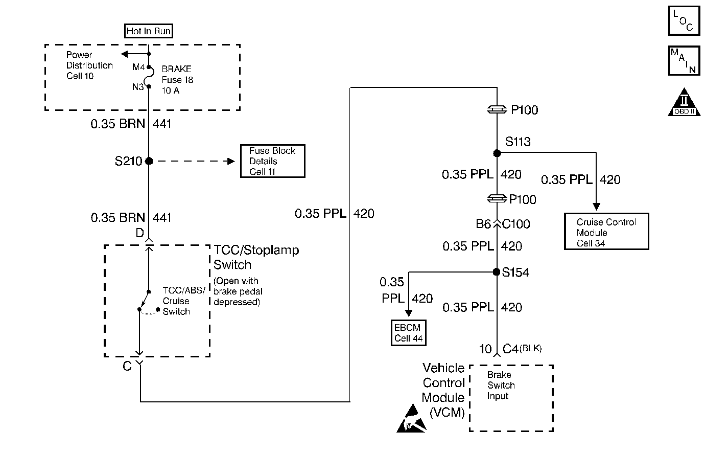
Automatic Transmission Controls Schematics Gas Engines
OBD II Symbol Description Notice
Handling ESD Sensitive Parts Notice

Circuit Description

The TCC/Stoplamp switch indicates the brake pedal status. The normally-closed TCC/Stoplamp switch supplies a B+ signal on circuit 420 to the Vehicle Control Module (VCM). The signal voltage circuit opens when the brakes are applied.

If the VCM detects an open TCC/Stoplamp Switch circuit during accelerations, then DTC P0719 sets. DTC P0719 is a type D DTC.

Conditions for Setting the DTC

    • No OSS DTC P0502 or DTC P0503.
    • The VCM detects an open TCC/Stoplamp switch circuit (0 volts) for 15 minutes.
    • The following sequence of events occurs eight consecutive times:
       - The vehicle speed is less than 8 km/h (5 mph).
       - Then the vehicle speed is 8-40 km/h (5-25 mph) for 3.5 seconds.
       - Then the vehicle speed is greater than 40 km/h (25 mph) for 6 seconds.

Action Taken When the DTC Sets

    • The VCM does not illuminate the Malfunction Indicator Lamp (MIL).
    • For TCC scheduling, the VCM disregards the brake switch state if the TP Sensor is greater than 1% and the vehicle speed is greater than 20 MPH.
    • DTC P0719 is stored in VCM history.

Conditions for Clearing the DTC

    • A scan tool can clear the DTC from the VCM history. The VCM clears the DTC from the VCM history if the vehicle completes 40 warm-up cycles without a failure reported.
    • The VCM cancels the DTC default actions when the fault no longer exists and the ignition is OFF long enough in order to power down the VCM.

Diagnostic Aids

    • Inspect the wiring at the VCM, the TCC/Stoplamp Switch and all other circuit connecting points for the following conditions:
       - A bent terminal
       - A backed out terminal
       - A damaged terminal
       - Poor terminal tension
       - A chafed wire
       - A broken wire inside the insulation
       - Moisture intrusion
       - Corrosion
    • When diagnosing for an intermittent short or open, massage the wiring harness while watching the test equipment for a change.
    • Ask about the customer's driving habits and any unusual driving conditions he or she might have, such as stop and go traffic or expressway driving.
    • Inspect the brake switch for proper mounting and adjustment.
    • Inspect for the most current calibration ID and the latest bulletins.
    • First diagnose and clear any engine DTCs or TP Sensor codes that are present. Then inspect for any transmission DTCs that may have reset.

Test Description

The numbers below refer to the step numbers on the diagnostic table.

  1. This step tests for TCC/Stoplamp switch voltage to the VCM connector.

  2. This step isolates the TCC/Stoplamp switch as a source for setting the DTC.

  3. This step tests for a short to ground in circuit 441 (ignition voltage) to the TCC/Stoplamp switch.

  4. This step tests for a short to ground in circuit 420, from the TCC/Stoplamp switch to the VCM.

  5. This step isolates the VCM as a source for causing the fuse to open.

P0719

Step

Action

Value(s)

Yes

No

1

Was the Powertrain On-Board Diagnostic (OBD) System Check performed?

--

Go to Step 2

Go to Powertrain On Board Diagnostic (OBD) System Check (4.3L) or Powertrain On Board Diagnostic (OBD) System Check (5.7L) or Powertrain On Board Diagnostic (OBD) System Check (7.4L)

2

  1. Install the Scan Tool .
  2. With the engine OFF, turn the ignition switch to the RUN position.
  3. Important: Before clearing the DTCs, use the scan tool in order to record the Failure Records for reference. The Clear Info function erases the stored Failure Records from the VCM.

  4. Record the DTC Failure Records then clear the DTC.
  5. Select the TCC Brake Switch on the scan tool.
  6. Do not apply the brake pedal.

Does the scan tool TCC Brake Sw. indicate CLOSED, when the brake pedal is not applied?

--

Go to Diagnostic Aids

Go to Step 3

3

  1. Remove the Brake fuse.
  2. Inspect the Brake fuse for an open.
  3. Refer to General Electrical Diagnosis in Wiring Systems.

Is the fuse open?

--

Go to Step 10

Go to Step 4

4

  1. Turn the ignition switch to the OFF position.
  2. Disconnect the C4 (BLK) connector from the VCM.
  3. Connect a 12-volt test lamp to a good ground.
  4. Using the J 35616-A Connector Test Adaptor Kit and the 12-volt test lamp, probe terminal C4-10 (420 PPL).
  5. Re-install the fuse.
  6. Turn the ignition switch to the RUN position.
  7. Do not apply the brake pedal.

Is the test lamp on?

--

Go to Step 15

Go to Step 5

5

  1. Turn the ignition key to the OFF position.
  2. Remove the connector from the TCC/Stoplamp switch.
  3. Use the J 39200 DMM to measure B+ voltage at terminal D (441 BRN) of the brake switch connector.
  4. Turn the ignition switch to the RUN position.

Is B+ voltage indicated?

10-13 volts

Go to Step 7

Go to Step 6

6

Inspect circuit 441 for an open.

Refer to General Electrical Diagnosis in Wiring Systems.

Did you find and correct an open condition?

--

Go to Step 17

--

7

  1. Turn the key to the RUN position.
  2. Install a fused jumper wire from terminal C (420 PPL) to terminal D (441 BRN) of the TCC Stoplamp switch connector.
  3. Probe the VCM connector terminal C4-10 (420 PPL) with the test lamp.

Is the test lamp on?

--

Go to Step 9

Go to Step 8

8

Inspect circuit 420 for an open.

Refer to General Electrical Diagnosis in Wiring Systems.

Did you find and correct an open condition?

--

Go to Step 17

--

9

Replace the stoplamp switch.

Refer to Stop Lamp Switch Replacement in Hydraulic Brakes.

Is the replacement complete?

--

Go to Step 17

--

10

  1. Turn the key to the RUN position.
  2. Apply and hold the brake pedal.
  3. Install a new fuse while keeping the brake pedal applied.

Does the fuse open with the brake pedal applied?

--

Go to Step 11

Go to Step 12

11

Inspect circuit 441 for a short to ground. Refer to General Electrical Diagnosis in Wiring Systems.

Did you find and correct the short to ground condition?

--

Go to Step 17

--

12

With the key in the RUN position, release the brake pedal.

Does the fuse open when the brake pedal is released?

--

Go to Step 13

Go to Diagnostic Aids

13

  1. Disconnect the C4 (BLK) connector from the VCM (additional DTCs may set).
  2. Turn the key to the RUN position.
  3. Install a new fuse.
  4. Do not apply the brake pedal.

Does the fuse open?

--

Go to Step 14

Go to Step 15

14

Inspect circuit 420 for a short to ground. Refer to General Electrical Diagnosis in Wiring Systems.

Did you find and correct the short to ground condition?

--

Go to Step 17

--

15

Inspect the VCM terminals for corroded or weak connections.

Did you find a shorted condition?

--

Go to Step 17

Go to Step 16

16

Replace the VCM. Refer to:

    •  VCM Replacement/Programming (4.3L)
    •  VCM Replacement/Programming (5.7L)
    •  VCM Replacement/Programming (7.4L)

Is the replacement complete?

--

Go to Step 17

--

17

In order to verify your repair, perform the following procedure:

  1. Select DTC.
  2. Select Clear Info.
  3. Operate the vehicle under the following conditions:
    • With the engine OFF, turn the ignition switch to the RUN position.
    • The brake pedal is not applied.
    • Select TCC Brake Sw. on the scan tool.

Does the TCC Brake Sw. indicate Closed when the brake pedal is not applied, then indicate Open when the brake pedal is applied?

--

Repair verified, exit DTC table

Begin Diagnosis again, Go to Step 1

DTC P0719 Brake Switch Circuit Low Input Diesel


Object Number: 202336  Size: MF
Automatic Transmission Components Diesel Engines
Automatic Transmission Controls Schematics Diesel Engines
OBD II Symbol Description Notice
Handling ESD Sensitive Parts Notice

Circuit Description

The normally open TCC/Stoplamp switch indicates brake pedal status to the Powertrain Control Module (PCM). Applying the brake pedal closes the switch, supplying voltage to the PCM. Releasing the brake pedal interrupts voltage to the PCM.

If the PCM detects an open TCC/Stoplamp Switch (stuck OFF) during decelerations, then DTC P0719 sets. DTC P0719 is a type D DTC.

Conditions for Setting the DTC

    • No OSS Sensor DTC P0722 or P0723.
    • The PCM detects an open TCC/Stoplamp switch/circuit (0 volts) and the following sequence of events occur ten consecutive times:
        1. the vehicle speed is greater than 32 km/h (20 mph) for 6 seconds.
        2. Then the vehicle speed is 8-32 km/h (5-20 mph) for 3 seconds.
        3. Then the vehicle speed is less than 8 km/h (5 mph).
        4. DTC P0719 has not passed.

Action Taken When the DTC Sets

    • The PCM does not illuminate the Malfunction Indicator Lamp (MIL).
    • DTC P0719 is stored in PCM history.

Conditions for Clearing the DTC

    • A scan tool can clear the DTC from the PCM history. The PCM clears the DTC from the PCM history if the vehicle completes 40 warm-up cycles without a failure reported.
    • The PCM cancels the DTC default actions when the fault no longer exists and the ignition is OFF long enough in order to power down the PCM.

Diagnostic Aids

    • Inspect the wiring at the PCM, the TCC/Stoplamp switch connector and all other circuit connecting points for the following conditions:
       - A bent terminal
       - A backed out terminal
       - A damaged terminal
       - Poor terminal tension
       - A chafed wire
       - A broken wire inside the insulation
       - Moisture intrusion
       - Corrosion
    • When diagnosing for an intermittent short or open, massage the wiring harness while watching the test equipment for a change.
    • Ask about the customer's driving habits and any unusual driving conditions he or she might have, such as stop and go traffic or expressway driving.
    • A short in the stoplamp circuit will cause the fuse to open.
    • Inspect the TCC/Stoplamp switch for proper mounting and adjustment.
    • First diagnose and clear any engine DTCs codes that are present. Then inspect for any transmission DTCs that may have reset.

Test Description

The numbers below refer to the step numbers on the diagnostic table.

  1. This step isolates the TCC/Stoplamp Switch as a source for setting the DTC.

  2. This step tests for a short to ground between the fuse and the TCC/Stoplamp Switch.

  3. This step tests for a short to ground in circuit 17.

  4. This step removes the PCM from circuit 17 as the source of a short to ground.

P0719

Step

Action

Value(s)

Yes

No

1

Was the Powertrain On-Board Diagnostic (OBD) System Check performed?

--

Go to Step 2

Go to Powertrain On Board Diagnostic (OBD) System Check

2

  1. Install the Scan Tool .
  2. With the engine OFF, turn the ignition switch to the RUN position.
  3. Important: Before clearing the DTCs, use the scan tool in order to record the Freeze Frame and Failure Records for reference. Using the Clear Info function erases the stored Failure Records from the PCM.

  4. Record the DTC Failure Records, then clear the DTC.
  5. Select the TCC/Brake Switch on the scan tool.
  6. Disconnect the TCC/Stoplamp Switch connector from the TCC/Stoplamp Switch.
  7. Connect a test lamp from cavity B (circuit 140 ORN) of the TCC/Stoplamp Switch connector to a known good ground.

Is the test lamp ON?

--

Go to Step 3

Go to Step 4

3

Install a J 36169-A Fused Jumper Wire from terminal E (circuit  140 ORN) to terminal F (circuit 17 WHT) of the TCC/Stoplamp Switch connector.

Did the scan tool TCC/Brake Switch status change from Open to Closed?

--

Go to Step 10

Go to Step 12

4

  1. Remove the Stop/Hazard fuse.
  2. Inspect the Stop/Hazard fuse for an open.
  3. Refer to General Electrical Diagnosis in Wiring Systems.

Is the fuse open?

--

Go to Step 5

Go to Step 11

5

Replace the Stop/Hazard fuse.

Does the replacement fuse open immediately?

--

Go to Step 6

Go to Step 7

6

Inspect circuit 140 for a short to ground.

Refer to General Electrical Diagnosis in Wiring Systems.

Did you find and repair the condition?

--

Go to Step 15

--

7

  1. Reconnect the TCC/Stoplamp Switch connector.
  2. Apply the brake pedal.

Does the fuse open immediately?

--

Go to Step 8

Intermittent short to ground. Go to Diagnostic Aids.

8

  1. Disconnect the C2 (BRN-24 Pin) connector from the PCM.
  2. Replace the Stop/Hazard fuse.
  3. Apply the brake pedal.

Does the fuse open immediately?

--

Go to Step 9

Go to Step 13

9

Inspect circuit 17 for a short to ground.

Refer to General Electrical Diagnosis in Wiring Systems.

Did you find and repair the condition?

--

Go to Step 15

--

10

Replace the Stoplamp Switch.

Refer to Stop Lamp Switch Replacement in Hydraulic Brakes.

Is the replacement complete?

--

Go to Step 15

--

11

Inspect circuit 140 for an open.

Refer to General Electrical Diagnosis in Wiring Systems.

Did you find and correct the condition?

--

Go to Step 15

--

12

Inspect circuit 17 for an open.

Refer to General Electrical Diagnosis in Wiring Systems.

Did you find the condition?

--

Go to Step 15

Go to Step 13

13

Inspect the PCM pins, the connector terminals, and the wiring for corrosion or shorting together.

Did you find the condition?

--

Go to Step 15

Go to Step 14

14

Replace the PCM.

Refer to Powertrain Control Module Replacement/Programming .

Is the replacement complete?

--

Go to Step 15

--

15

In order to verify your repair, perform the following procedure:

  1. Select DTC.
  2. Select Clear Info.
  3. Operate the vehicle under the following conditions:
  4. • With the engine OFF, the ignition switch is in the RUN position.
    • Depress the brake pedal.
    • The scan tool TCC Brake Switch status must indicate Closed (12 volts) for 2 seconds.
  5. Select Specific DTC. Enter DTC P0719.

Has the test run and passed?

--

System OK

Begin the diagnosis again. Go to Step 1