GM Service Manual Online
For 1990-2009 cars only
Makes
🢒
Chevrolet
🢒
1999
🢒
Express
🢒
Body and Accessories
🢒
Wiring Systems
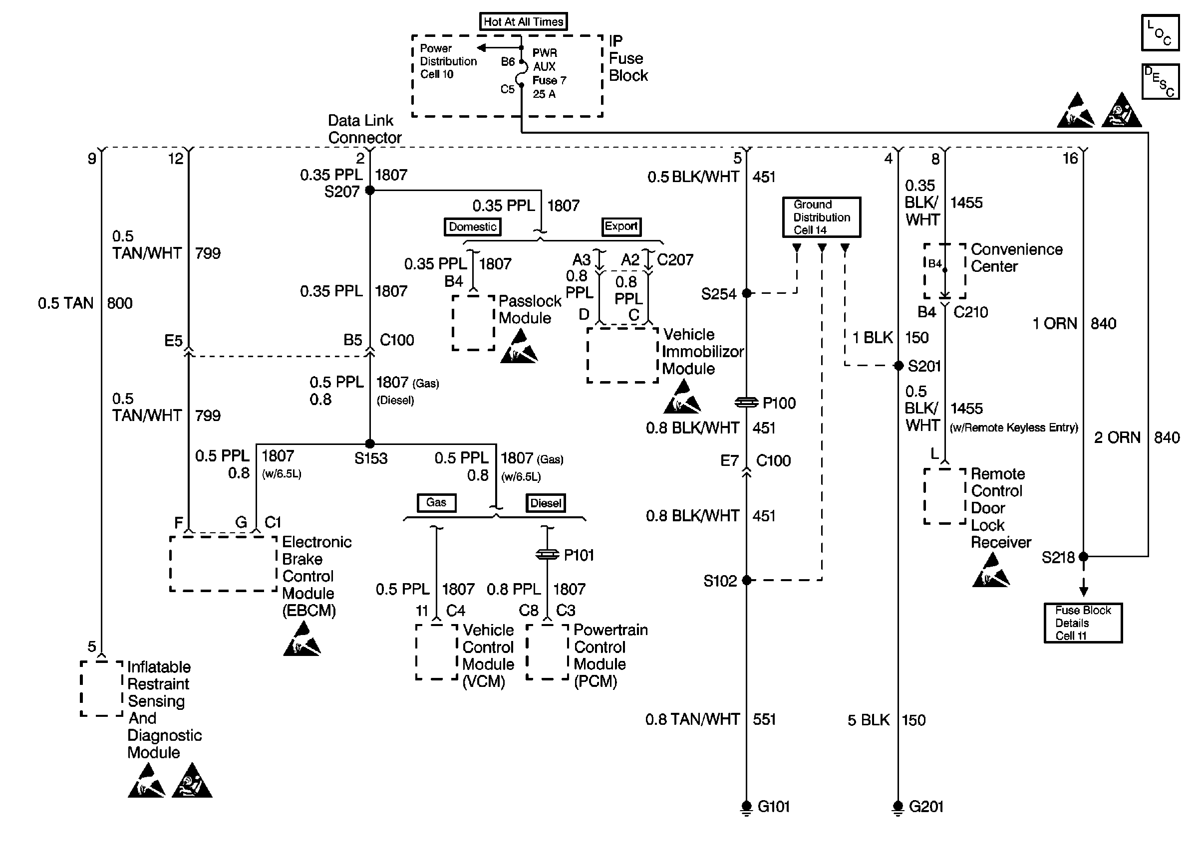
🢒 Data Link Connector Schematics
Cell 50
Data Link Communications Components
Data Link Communications Circuit Description
Power Distribution Schematics Domestic
Handling ESD Sensitive Parts Notice
Ground Distribution Schematics Domestic
Handling ESD Sensitive Parts Notice
SIR Caution
Handling ESD Sensitive Parts Notice
Handling ESD Sensitive Parts Notice
Fuse Block Schematics Domestic