GM Service Manual Online
For 1990-2009 cars only
Makes
🢒
Chevrolet
🢒
1999
🢒
Express
🢒
Body and Accessories
🢒
Stationary Windows
🢒 Stationary Windows Component Views
Figure
1:
IP Wiring, Right Side
(1)
Daytime Running Lamp Rear Park Lamp Relay
(2)
Rear Fog Lamp Relay
(3)
Rear Window Defogger Relay
(4)
C203
(5)
C214
Figure
2:
Left Rear Door Wiring
(1)
P908
(2)
C413
(3)
P906
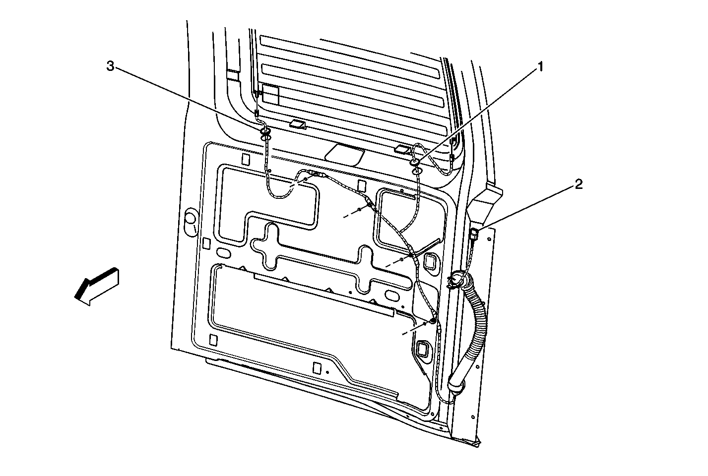
Figure
3:
Right Rear Door Wiring
(1)
P907
(2)
C414
(3)
P905