GM Service Manual Online
For 1990-2009 cars only

Rear Bumper Reflector Replacement Domestic

Removal Procedure


    Object Number: 314791  Size: SH
  1. Remove the nuts (1) that retain the reflectors to the rear bumper step pad.
  2. Remove the reflectors (3) from the rear bumper step pad (2).

Installation Procedure


    Object Number: 314791  Size: SH
  1. Install the reflectors (3) to the rear bumper step pad (2).
  2. Install the reflectors retaining nuts (1) to the step pad (2).

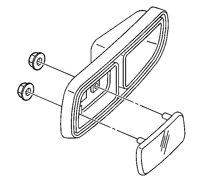
Rear Bumper Reflector Replacement Export

Removal Procedure


    Object Number: 357883  Size: SH
  1. Remove the rear back-up and the fog lamp bezel from the bumper. Refer to Rear Backup/Fog Lamp Bezel Replacement .
  2. Remove the nuts that retain the reflector to the bezel.
  3. Remove the reflector from the bezel.

Installation Procedure


    Object Number: 357883  Size: SH
  1. Install the reflector to the bezel.
  2. Install the nuts that retain the reflector to the bezel.
  3. Install the rear back-up and the fog lamp bezel to the bumper. Refer to Rear Backup/Fog Lamp Bezel Replacement .