GM Service Manual Online
For 1990-2009 cars only
Makes
🢒
Chevrolet
🢒
1999
🢒
Express
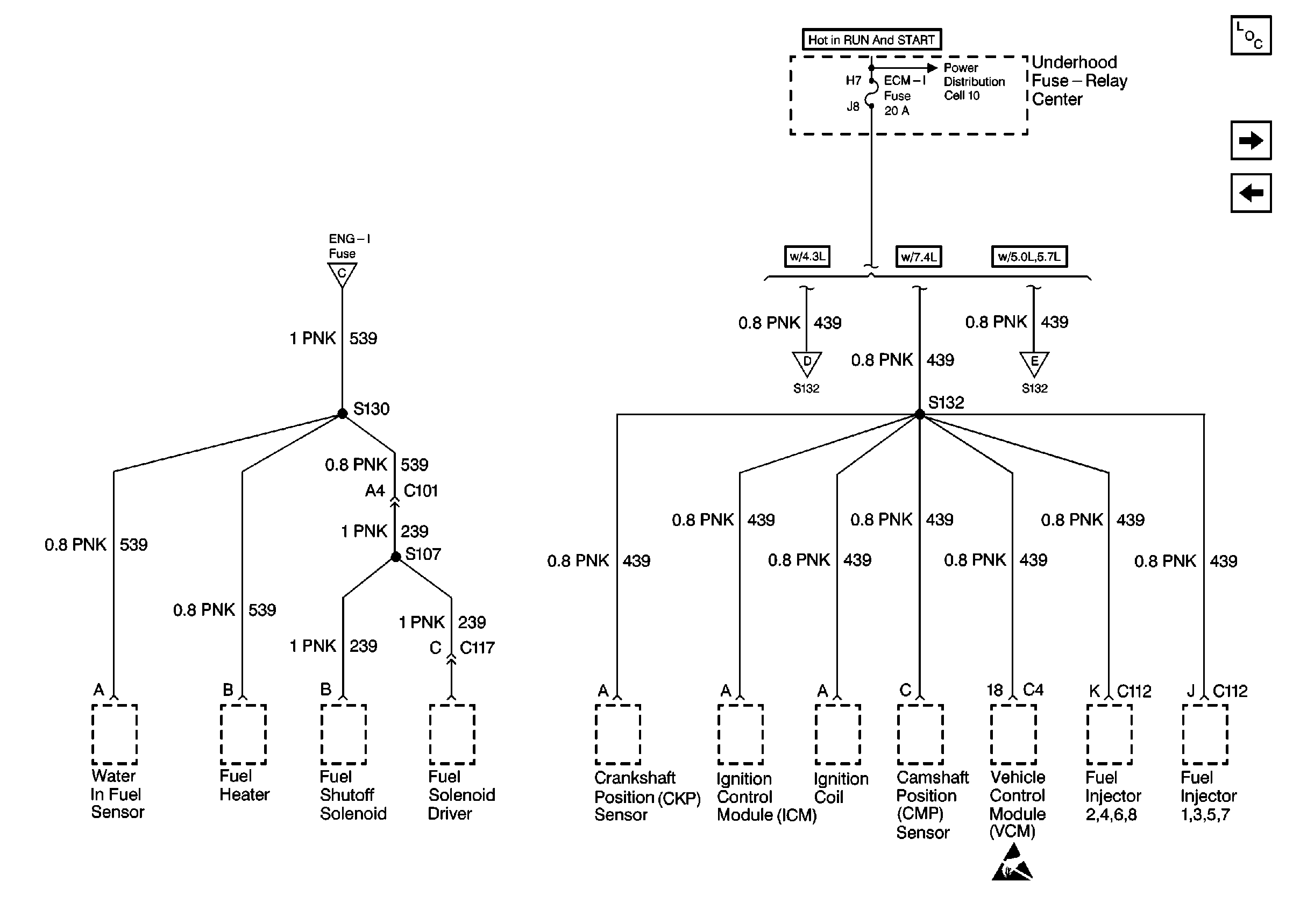
🢒 Cell 11: ENG-I Fuse (6.5L) and ECM-I Fuse (7.4L)
Cell 11: ENG-I Fuse (6.5L) and ECM-I Fuse (7.4L)
Cell 11: ENG-I Fuse (6.5L) and ECM-I Fuse (7.4L)
Power and Grounding Components
Cell 11: ECM-I Fuse (4.3L)
Cell 11: ENG-I Fuse (7.4L)
Cell 11: ENG-I Fuse
Cell 11: ECM-I Fuse (4.3L)
Cell 11: ECM-I Fuse (5.0L, 5.7L)
Handling ESD Sensitive Parts Notice
Power Distribution Schematics Domestic