GM Service Manual Online
For 1990-2009 cars only

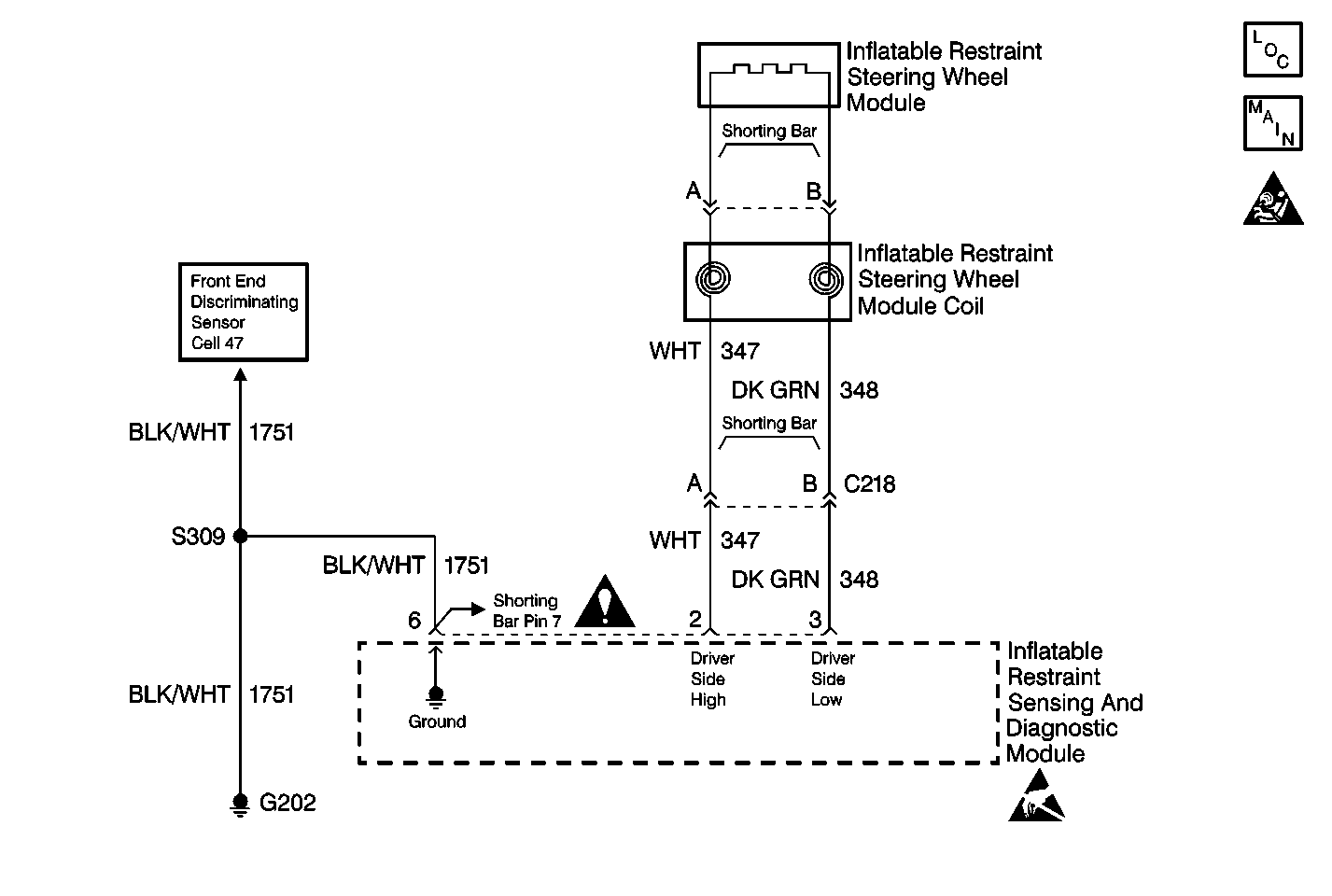
Object Number: 396073  Size: MF
SIR Components
SIR Schematic Icons
SIR Caution
SIR Caution
SIR Caution
Handling ESD Sensitive Parts Notice

Circuit Description

When you first turn the ignition switch to the RUN position, the inflatable restraint sensing and diagnostic module (SDM) performs tests to diagnose critical malfunctions within the SDM. Upon passing these tests the following circuits are measured to ensure that they are within their respective normal voltage ranges:

    • IGNITION 1
    • 23 VLR
    • Deployment loop voltages

The SDM monitors the voltages at DRIVER SIDE LOW terminal 3 and PASSENGER SIDE LOW terminal 4 to detect shorts-to-B+ in the inflator module circuits.

Conditions for Setting the DTC

    • The voltage at PASSENGER SIDE LOW terminal 4 is less than 4.8 volts.
    • The voltage at DRIVER SIDE LOW terminal 3 is more than 4.8 volts for 500 milliseconds.

The CONTINUOUS MONITORING test inspects for this DTC. This test occurs when IGNITION 1 is within the normal operating voltage range.

Action Taken When the DTC Sets

    • The SDM sets a diagnostic trouble code.
    • The SDM turns ON the AIR BAG warning lamp.

Conditions for Clearing the DTC

    • Current DTC--The voltage at DRIVER SIDE LOW terminal 3 is less than 4.8 volts for 500 milliseconds.
    • History DTC
       - You issue a scan tool CLEAR CODES command
       - After 250 malfunction free ignition cycles have occurred

Diagnostic Aids

A short to B+ in the inflatable restraint steering wheel module circuit may cause an intermittent condition. Inspect CKT 347 and CKT 348 carefully for cut or chafed wires. The diagnostic table directs the technician to note the entry value of DRIVER SENSELO. Comparing the value of DRIVER SENSELO may be helpful in determining if an intermittent condition exists.

When measurements are requested in this table, use the J 39200 DMM with the correct terminal adapter from the J 35616 Connector Test Adapter Kit. When an inspection for proper connection is requested, refer to Testing for Electrical Intermittents in Wiring Systems. When a wire, connector or terminal repair is requested, use the J-38125 Terminal Repair Kit and refer to Wiring Repairs in Wiring Systems.

Test Description

The numbers below refer to the step numbers on the diagnostic table:

  1. This test determines the driver side low voltage which is measured by the inflatable restraint sensing and diagnostic module (SDM).

  2. This test isolates the malfunction to one side of the inflatable restraint steering wheel module coil yellow 2-way connector.

  3. This test determines whether the malfunction is due to the inflatable restraint steering wheel module or the module coil.

  4. This test determines whether the malfunction is in CKT 347.

  5. This test determines whether the malfunction is in CKT 348.

DTC B1025 Driver Deployment Loop Short to Voltage

Step

Action

Value(s)

Yes

No

1

Was the SIR Diagnostic System Check performed?

--

Go to Step 2

Go to SIR Diagnostic System Check

2

  1. Turn the ignition switch to the OFF position.
  2. Connect the Scan Tool to the DLC.
  3. Turn the ignition switch to the RUN position.
  4. Request the SIR data list display.
  5. Read and record on the repair order the driver side low voltage DRIVER SENSELO.

Has the DRIVER SENSELO been read and recorded on the repair order?

--

Go to Step 3

--

3

  1. Turn the ignition switch to the OFF position.
  2. Disconnect the inflatable restraint steering wheel and IP module yellow 2-way connectors at the base of the steering column and behind the passenger knee bolster.
  3. Connect the J 38715-A SIR Driver Passenger Load Tool to the harness connectors.
  4. Turn the ignition switch to the RUN position.
  5. Using the Scan Tool , request the SIR data list display.
  6. Read the driver side low voltage DRIVER SENSELO.

Is DRIVER SENSELO more than the specified value?

4.8 V

Go to Step 7

Go to Step 4

4

  1. Turn the ignition switch to the OFF position.
  2. Remove the inflatable restraint steering wheel module. Refer to Inflatable Restraint Steering Wheel Module Replacement .
  3. Disconnect the J 38715-A SIR Driver Passenger Load Tool from the driver 2-way harness connector.
  4. Connect the driver 2-way connector at the base of the steering column.
  5. Connect the J 38715-A SIR Driver Passenger Load Tool to the upper inflatable restraint steering wheel module coil connector on the steering column.
  6. Turn the ignition switch to the RUN position.
  7. Using the Scan Tool , request the SIR data list display.
  8. Read the driver side low voltage DRIVER SENSELO.

Is DRIVER SENSELO more than the specified value?

4.8 V

Go to Step 6

Go to Step 5

5

  1. Turn the ignition switch to the OFF position.
  2. Replace the inflatable restraint steering wheel module. Refer to Inflatable Restraint Steering Wheel Module Replacement .

Is the repair complete?

--

Go to Step 11

--

6

  1. Turn the ignition switch to the OFF position.
  2. Remove the inflatable restraint steering wheel module coil. Refer to Inflatable Restraint Steering Wheel Module Coil Replacement .
  3. Inspect the coil and the wires for damage.
  4. Replace the inflatable restraint steering wheel module coil. Refer to Inflatable Restraint Steering Wheel Module Coil Replacement .

Is the repair complete?

--

Go to Step 11

--

7

  1. Turn the ignition switch to the OFF position.
  2. Disconnect the inflatable restraint sensing and diagnostic module (SDM). Refer to Inflatable Restraint Sensing and Diagnostic Module Replacement .
  3. Disconnect the J 38715-A SIR Driver Passenger Load Tool.
  4. Turn the ignition switch to the RUN position.
  5. Measure the voltage on the SDM harness connector from terminal 2 circuit to terminal 6 circuit.

Is the measured voltage equal to the specified value?

0.0 V

Go to Step 9

Go to Step 8

8

  1. Turn the ignition switch to the OFF position.
  2. Repair a short to B+ condition in CKT 347.

Is the repair complete?

--

Go to Step 11

--

9

Measure the voltage on the SDM harness connector from terminal 3 circuit to terminal 6 circuit.

Is the measured voltage equal to the specified value?

0.0 V

Go to Sensing and Diagnostic Module Integrity Check

Go to Step 10

10

  1. Turn the ignition switch to the OFF position.
  2. Repair a short to B+ condition in CKT 348.

Is the repair complete?

--

Go to Step 11

--

11

  1. Reconnect all the SIR components.
  2. Ensure that all of the components are properly mounted.

Have all the SIR components been reconnected and properly mounted?

--

Go to Step 12

--

12

Clear all the SIR DTCs.

Have all the SIR DTCs been cleared?

--

Go to SIR Diagnostic System Check

--