GM Service Manual Online
For 1990-2009 cars only

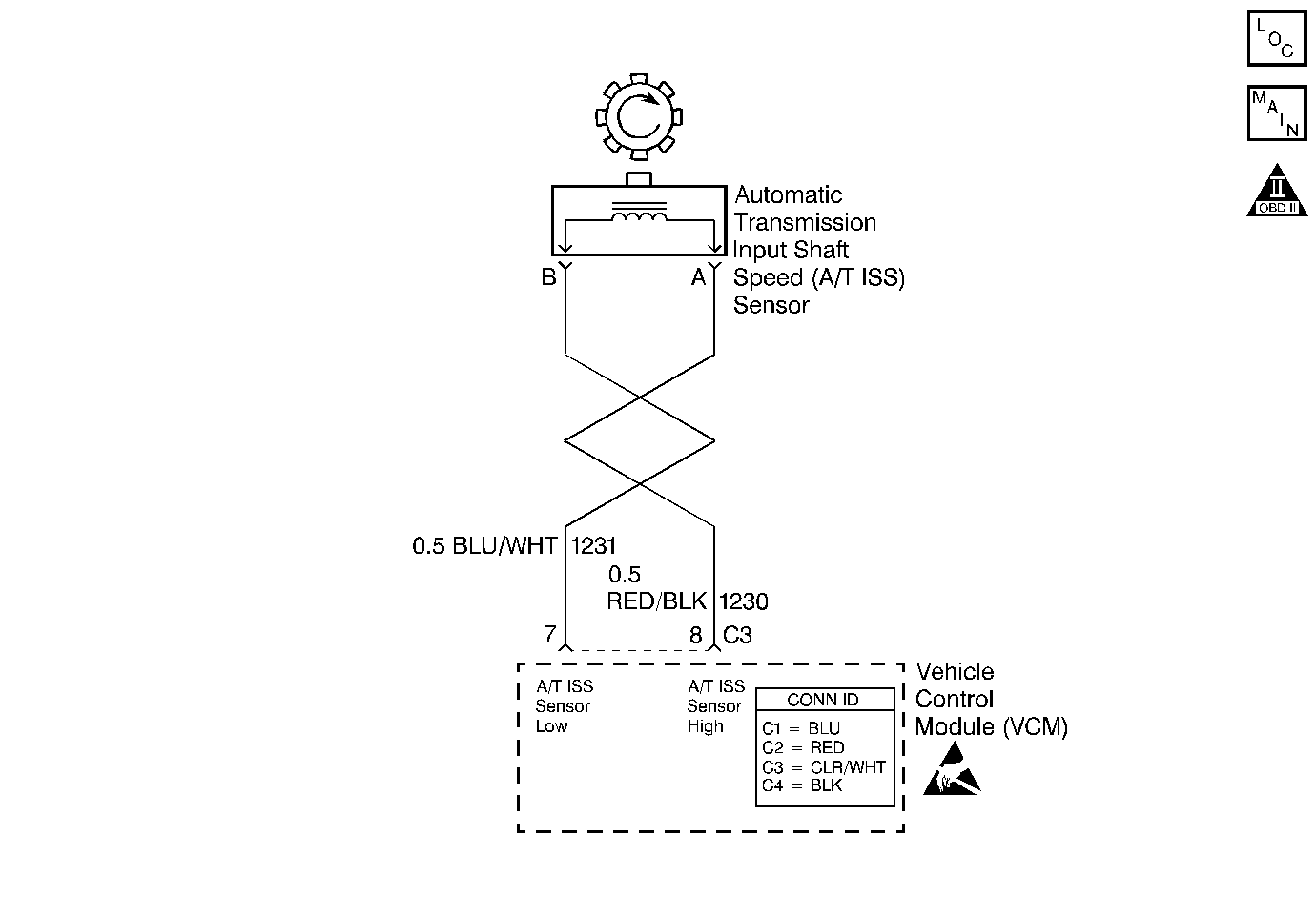
DTC P0716 Input Speed Sensor Circuit Intermittent Gas


Object Number: 354545  Size: MF
Automatic Transmission Components Gas
Automatic Transmission Controls Schematics Gas
OBD II Symbol Description Notice
Handling ESD Sensitive Parts Notice

Circuit Description

The automatic transmission input (shaft) speed (A/T ISS) sensor provides transmission input speed to the vehicle control module (VCM). The A/T ISS sensor is a permanent magnet (PM) generator. The sensor mounts into the transmission case and maintains a slight air gap between the sensor and the forward clutch housing. The PM generator produces an AC voltage as the forward clutch housing rotor teeth pass through the sensor's magnetic field. The AC voltage level increases as the turbine shaft speed increases. The VCM converts the AC voltage into a digital signal. The VCM determines actual turbine speed using the digital signal. The VCM uses the input speed to calculate torque converter slip speed, and gear ratios.

When the VCM detects an unreasonably large change in the input speed, in a very short period of time, then DTC P0716 sets. DTC P0716 is a type D DTC. For California emissions vehicles, DTC P0716 is a type B DTC.

Conditions for Running the DTC

    • No throttle position (TP) sensor DTCs P0121, P0122 or P0123.
    • No OSS DTC P0502 or P0503.
    • No A/T ISS DTC P0717.
    • No shift solenoid DTC P0751 or P0753.
    • The TP is greater than 10%.
    • The vehicle speed is greater than 25 mph.
    • The engine is running greater than 475 RPM for more than 7 seconds.

Conditions for Setting the DTC

    • The transmission is not in PARK or NEUTRAL.
    • The input speed varies by 1,300 RPM for greater than 5 seconds.

Action Taken When the DTC Sets

    • For California emission vehicles only, the VCM illuminates the malfunction indicator lamp (MIL).
    • The VCM commands maximum line pressure.
    • The VCM freezes shift adapts.
    • The VCM stores DTC PO716 in VCM History.

Conditions for Clearing the MIL/DTC

    • For California emissions, the VCM turns OFF the MIL during the third consecutive trip in which the diagnostic test runs and passes.
    • A scan tool clears the DTC from VCM history.
    • For California emissions, the VCM clears the DTC from VCM history if the vehicle completes 40 consecutive warm-up cycles without an emission related diagnostic fault occurring.
    • For Federal emissions, the VCM clears the DTC from VCM history if the vehicle completes 40 consecutive warm-up cycles without a non-emission related diagnostic fault occurring.
    • The VCM cancels the DTC default actions when the fault no longer exists and the ignition switch is OFF long enough in order to power down the VCM.

Diagnostic Aids

    • Inspect the wiring at the VCM, the OSS connector and all other circuit connecting points for the following:
       - A backed out terminal
       - A damaged terminal
       - Reduced terminal tension
       - A chafed wire
       - A broken wire inside the insulation
       - Moisture intrusion
       - Corrosion
       - The A/T ISS sensor harness being near the DIS components or the ignition wires.
    • When diagnosing for an intermittent short or open, massage the wiring harness while watching the test equipment for a change.
    • First diagnose and clear any engine DTCs or TP sensor codes that are present. Then inspect for any transmission DTCs that may have reset.

Test Description

The numbers below refer to the step numbers on the diagnostic table.

  1. This step tests for proper operation to the A/T ISS Sensor.

  2. This step tests for proper A/T ISS circuit operation up to the VCM connections. Remove the fuel pump relay in order to eliminate a flooding condition during this step.

DTC P0716 Input Speed Sensor Circuit Intermittent (1999 G Van)

Step

Action

Value(s)

Yes

No

1

Did you perform the Powertrain Diagnostic System Check?

--

Go to Step 2

Go to Powertrain On Board Diagnostic (OBD) System Check (4.3 L) or Powertrain On Board Diagnostic (OBD) System Check (5.7 L) or Powertrain On Board Diagnostic (OBD) System Check (7.4 L) Section 6E3

2

  1. Install a Scan Tool .
  2. Turn ON the ignition, with the engine OFF.
  3. Important: Before clearing the DTC, use the Scan Tool in order to record the Freeze Frame and Failure Records for reference. The Clear Info function will erase the data.

  4. Record the DTC Freeze Frame and Failure Records.
  5. Clear the DTC.
  6. Raise and support the rear axle assembly.
  7. Start the engine.
  8. Place the transmission in any drive range.

With the drive wheels rotating, does the Scan Tool Transmission ISS increase with the drive wheel speed?

--

Go to Intermittent Conditions (4.3 L) or Intermittent Conditions (5.7 L) or Intermittent Conditions (7.4 L) in Engine Controls

Go to Step 3

3

  1. Turn OFF the ignition.
  2. Disconnect the VCM connector C3.
  3. Using the J 39200 digital multimeter (DMM) and the J 35616 connector test adapter kit, measure the resistance between harness connector terminals C3-8 and C3-7.

Does the resistance measure within the specified range?

1377-3355 ohms

Go to Step 4

Go to Step 7

4

Measure the resistance from terminal C3-7 to ground.

Does the resistance measure greater than the specified value?

50 K ohms

Go to Step 5

Go to Step 8

5

  1. Reconnect the VCM connector C3.
  2. Disconnect the engine wiring harness from the ISS assembly.
  3. Turn ON the ignition, with the engine OFF.
  4. Test the high circuit (CKT 1230) of the ISS assembly for a short to power.
  5. Test the low circuit (CKT 1231) of the ISS assembly for a short to power.
  6. Refer to General Electrical Diagnosis in Wiring Systems.

Did you find and correct the condition?

--

Go to Step 13

Go to Step 12

6

  1. Disconnect the engine wiring harness from the ISS assembly.
  2. Measure the resistance of the ISS assembly.

Does the resistance measure within the specified range?

1377-3355 ohms

Go to Step 7

Go to Step 11

7

Was the resistance measured in Step 3 greater than the specified value?

3355 ohms

Go to Step 9

Go to Step 10

8

  1. Test the high circuit (CKT 1230) of the ISS assembly for a short to ground.
  2. Test the low circuit (CKT 1231) of the ISS assembly for a short to ground.
  3. Refer to General Electrical Diagnosis in Wiring Systems.

Did you find and correct the condition?

--

Go to Step 13

--

9

  1. Test the high circuit (CKT 1230) of the ISS assembly for an open.
  2. Test the low circuit (CKT 1231) of the ISS assembly for an open.
  3. Refer to General Electrical Diagnosis in Wiring Systems.

Did you find and correct the condition?

--

Go to Step 13

--

10

Test the high circuit (CKT 1230) and the low circuit (CKT 1231) of the ISS assembly for a short together.

Refer to General Electrical Diagnosis in Wiring Systems.

Did you find and correct the condition?

--

Go to Step 13

--

11

Replace the ISS assembly.

Refer to Vehicle Speed Sensor Replacement .

Did you complete the replacement?

--

Go to Step 13

--

12

Replace the VCM.

Refer to VCM Replacement/Programming (4.3 L) or VCM Replacement/Programming (5.7 L) or VCM Replacement/Programming (7.4 L) in Engine Controls.

Did you complete the replacement?

--

Go to Step 13

--

13

Perform the following procedure in order to verify the repair:

  1. Select DTC.
  2. Select Clear Info.
  3. Operate the vehicle under the following conditions:
  4. • The transmission output speed is greater than 500 RPM.
    • No RPM change greater than 200 RPM.
    • All conditions met for 1 second.
  5. Select Specific DTC.
  6. Enter DTC P0716.

Has the test run and passed?

--

System OK

Go to Step 1

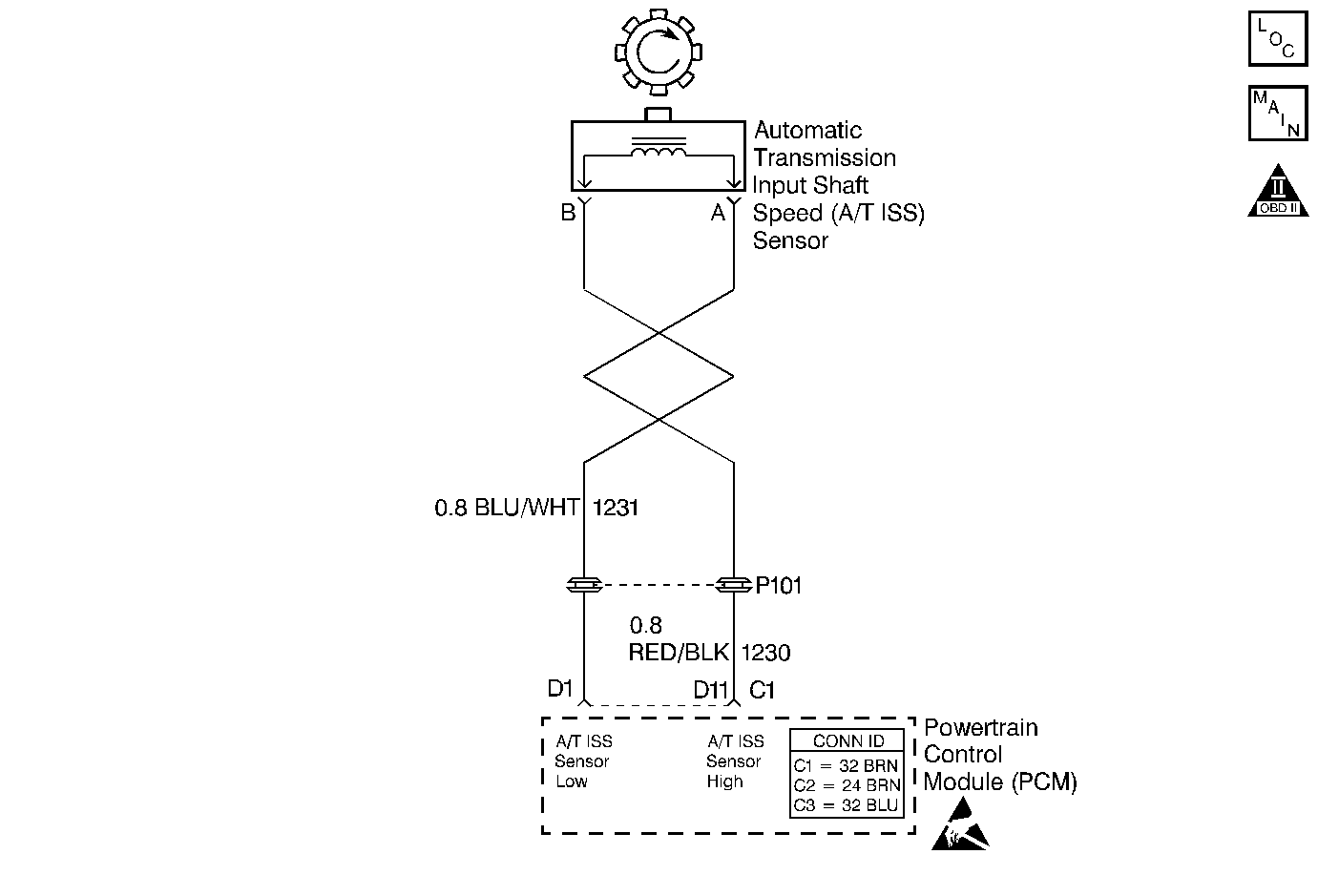
DTC P0716 Input Speed Sensor Circuit Intermittent Diesel


Object Number: 357408  Size: MF
Automatic Transmission Components Diesel
Automatic Transmission Controls Schematics Diesel
OBD II Symbol Description Notice
Handling ESD Sensitive Parts Notice

Circuit Description

The automatic transmission input (shaft) speed (A/T ISS) sensor provides transmission input speed to the powertrain control module (PCM). The A/T ISS sensor is a permanent magnet (PM) generator. The sensor mounts into the transmission case and maintains a slight air gap between the sensor and the forward clutch housing. The PM generator produces an AC voltage as the forward clutch housing rotor teeth pass through the sensor's magnetic field. The AC voltage level increases as the turbine shaft speed increases. The PCM converts the AC voltage into a digital signal. The PCM determines actual turbine speed using the digital signal. The PCM uses the input speed to calculate torque converter slip speed, and gear ratios.

When the PCM detects an unrealistically large change in input speed, then DTC P0716 sets. DTC P0716 is a type B DTC.

Conditions for Running the DTC

    • No A/T ISS sensor DTC P0717.
    • No OSS sensor DTCs P0722 or P0723
    • No shift solenoid DTCs P0751 or P0753.
    • System voltage is 8.0-18.0 volts.
    • Engine speed is greater than 475 RPM.
    • The APP angle is greater than 15%.
    • Transmission fluid pressure manual valve position switch is not indicating PARK or NEUTRAL.
    • The vehicle speed is greater than 32 Km/h (20 mph).

Conditions for Setting the DTC

The A/T ISS varies by more than 1200 RPM within 4 seconds.

Action Taken When the DTC Sets

    • The PCM illuminates the malfunction indicator lamp (MIL).
    • The PCM commands maximum line pressure.
    • The PCM freezes shift adapts.
    • The PCM stores DTC P0716 in PCM history.

Conditions for Clearing the MIL/DTC

    • For Federal and California emissions, the PCM turns OFF the MIL during the third consecutive trip in which the diagnostic test runs and passes.
    • A scan tool clears the DTC from PCM history.
    • For Federal and California emissions, the PCM clears the DTC from PCM history if the vehicle completes 40 consecutive warm-up cycles without an emission related diagnostic fault occurring.
    • For vehicles equal to or greater than 15,000 lbs GVW, the PCM clears the DTC from PCM history if the vehicle completes 40 consecutive warm-up cycles without a non-emission related diagnostic fault occurring.
    • The PCM cancels the DTC default actions when the fault no longer exists and the ignition switch is OFF long enough in order to power down the PCM.

Diagnostic Aids

    • Inspect the wiring at the PCM, the transmission connector and all other circuit connecting points for the following conditions:
       - A backed out terminal
       - A damaged terminal
       - Reduced terminal tension
       - A chafed wire
       - A broken wire inside the insulation
       - Moisture intrusion
       - Corrosion
    • When diagnosing for an intermittent short or open, massage the wiring harness while watching the test equipment for a change.
    • You may have to drive the vehicle in order to experience a fault.
    • First diagnose and clear any engine DTCs that are present. Then inspect for any transmission DTCs that may have reset.

Test Description

The numbers below refer to the step numbers on the diagnostic table.

  1. This step tests for proper operation of the A/T ISS sensor.

  2. This step tests for proper A/T ISS sensor circuit operation up to the PCM connections. You remove the fuel solenoid fuse in order to eliminate a flooding condition during this step.

  3. This step tests for a short to ground in the A/T ISS sensor circuit.

DTC P0716

Step

Action

Value(s)

Yes

No

1

Was the Powertrain On-Board Diagnostic (OBD) System Check performed?

--

Go to Step 2

Go to Powertrain On Board Diagnostic (OBD) System Check

2

  1. Install the Scan Tool .
  2. Turn the ignition to the RUN position with the engine OFF.
  3. Important: Before clearing the DTCs, use the scan tool in order to record the Freeze Frame and Failure Records. Using the Clear Info function erases Freeze Frame and Failure Records from the PCM.

  4. Record the Freeze Frame and Failure Records.
  5. Clear the DTC
  6. With the transmission in PARK, start the engine.
  7. Observe the scan tool, Transmission ISS.
  8. Run the engine to 2,000 RPM and hold the engine speed steady.

Does the Transmission ISS RPM change by more than 1,200 RPM at steady engine speed?

--

Go to Step 3

Go to Diagnostic Aids

3

  1. Turn the ignition to the OFF position.
  2. Disconnect the A/T ISS sensor harness connector from the A/T ISS sensor.
  3. Using the J 35616 connector test adapter kit select the OHMS scale. Connect the J 39200 digital multimeter (DMM) to the A/T ISS sensor terminals.

Is the A/T ISS sensor resistance within the specified value?

1042-2088ohms

Go to Step 4

Go to Step 15

4

  1. With the J 39200 DMM connected to the ISS sensor, select AC Volts.
  2. With the transmission in PARK, start the engine.
  3. Run the engine to 2,000 RPM and hold the engine speed steady.

Is the DMM voltage steady?

Greater than 10.0 volts AC

Go to Step 5

Go to Step 15

5

  1. Turn the ignition to the OFF position.
  2. Select DC Volts on the J 39200 DMM.
  3. Turn the ignition to the RUN position with the engine OFF.
  4. Measure the voltage at both A/T ISS sensor harness connector terminals A and B to a good ground.

Is either voltage reading greater than the specified value?

10.5 volts DC

Go to Step 6

Go to Step 8

6

  1. Inspect circuit 1230 (RED/BLK) for a short to power.
  2. Inspect circuit 1231 (BLU/WHT) for a short to power.

Refer to General Electrical Diagnosis in Wiring Systems.

Was the condition found?

--

Go to Step 7

Go to Step 16

7

Repair the short to power in circuits 1230 (RED/BLK) and/or 1231 (BLU/WHT).

Refer to Wiring Repairs in Wiring Systems.

Is the repair complete?

--

Go to Step 18

--

8

  1. Reconnect the A/T ISS harness connector to the A/T ISS sensor.
  2. Turn the ignition to the OFF position.
  3. Disconnect the PCM connector C1.
  4. Connect the J 39200 DMM on AC Volts to the C1 connector terminals D1 and D11.
  5. Remove the fuel solenoid fuse in the Fuse/Relay Center.
  6. Refer to Automatic Transmission Components .

  7. Turn the ignition to the RUN position and crank the engine while observing the J 39200 DMM.

Is the voltage greater than the specified value and steady?

0.4 volts AC

Go to Step 16

Go to Step 9

9

With the J 39200 DMM measure the resistance between terminals D1 and D11 of the PCM connector C1.

Is the circuit resistance within the specified value?

1042-2088ohms

Go to Step 10

Go to Step 12

10

  1. Measure the resistance from both PCM connector C1 terminals D1 and D11 to a good ground.
  2. Measure the resistance from PCM connector C1 terminal D11 to a good ground.

Is either resistance less than the specified value?

50kohms

Go to Step 11

Go to Diagnostic Aids

11

Inspect circuits 1230 (RED/BLK) and 1231 (BLU/WHT) for short to ground.

Refer to General Electrical Diagnosis in Wiring Systems.

Was the condition found?

--

Go to Step 18

--

12

Is the resistance reading from Step 9 less than the specified value?

1042-2088ohms

Go to Step 13

Go to Step 14

13

Repair circuits 1230 (RED/BLK) and 1231 (BLU/WHT) for a short together.

Refer to Wiring Repairs in Wiring Systems.

Is the repair complete?

--

Go to Step 19

--

14

  1. Inspect circuit 1230 (RED/BLK)
  2. Inspect circuit 1231 (BLU/WHT) for high resistance or an open.

Refer to General Electrical Diagnosis in Wiring Systems.

Was the condition found?

--

Go to Step 18

--

15

Replace the A/T ISS sensor.

Refer to Vehicle Speed Sensor Replacement .

Is the replacement complete?

--

Go to Step 19

--

16

Inspect the PCM pins and connector terminals for corrosion or reduced terminal tension.

Was the condition found?

--

Go to Step 19

Go to Step 17

17

Replace the PCM.

Refer to Powertrain Control Module Replacement/Programming in Engine Controls.

Is the replacement complete?

--

Go to Step 19

--

18

Repair the circuits as necessary.

Refer to Wiring Repairs in Wiring Systems.

Is the repair complete?

--

Go to Step 19

--

19

Perform the following procedure in order to verify the repair:

  1. Select DTC.
  2. Important: Failure to clear codes first may cause poor engine performance and high idle at start up.

  3. Select Clear Info.
  4. Operate the vehicle under the following conditions:
  5. • Start and run the engine greater than 475 RPM.
    •  The PCM must see an A/T ISS change of less than 500 RPM for 1 second.
  6. Select Specific DTC.
  7. Enter DTC P0716.

Has the test run and passed?

--

System OK

Go to Step 1