GM Service Manual Online
For 1990-2009 cars only
Makes
🢒
Chevrolet
🢒
2000
🢒
Express
🢒
Engine
🢒
Engine Controls - 5.0L and 5.7L
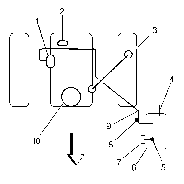
🢒 Emission Hose Routing Diagram
(1)
EVAP Canister Purge Valve
(2)
Manifold Absolute Pressure (MAP) Sensor
(3)
Positive Crankcase Ventilation
(4)
To Fuel Tank
(5)
EVAP Canister Vent Hose
(6)
EVAP Canister
(7)
EVAP Canister Vent Valve
(8)
EVAP Service Port
(9)
EVAP Canister Purge Hose
(10)
Throttle Body