GM Service Manual Online
For 1990-2009 cars only
Figure 1:

Headlamp


Object Number: 314691  Size: MF
(1)Headlamp, Left (Sealed Beam), Right Opposite
Figure 2:

Headlamp, Low Beam and High Beam


Object Number: 314694  Size: MF
(1)Headlamp, Left Low Beam (Composite) and Left High Beam (Composite), Right Opposite
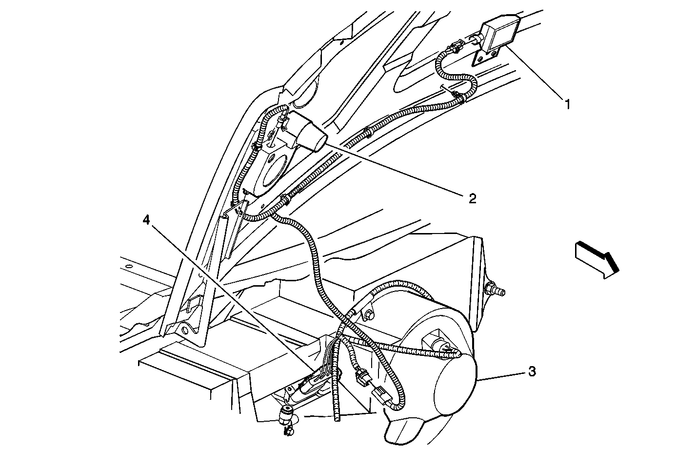
Figure 3:

Headlamp Leveling Actuator


Object Number: 348829  Size: MF
(1)Headlamp Leveling Actuator, Left (Right Oppostite)
Figure 4:

Park and Turn Signal Lamp, Front


Object Number: 314692  Size: MF
(1)Park and Turn Signal Lamp, Left Front (Base), Right Front Opposite
Figure 5:

Auxiliary Side Front Signal Lamp


Object Number: 348832  Size: MF
(1)Auxiliary Side Front Turn Signal Lamp, Left (Right Opposite)
Figure 6:

Side Marker Lamp, Front; Park and Turn Signal Lamp, Front, Inner and Outer


Object Number: 314695  Size: MF
(1)Side Marker Lamp, Left Front, Right Front Opposite
(2)Park and Turn Signal Lamp, Left Front, Inner and Outer, Right Front Opposite
Figure 7:

R100 (Turn Signal Resistor)


Object Number: 314696  Size: MF
(1)R100
(2)Horns
(3)Windshield Washer Pump Motor
Figure 8:

Underhood Lamp, Underhood Reel Lamp


Object Number: 314697  Size: MF
(1)Underhood Lamp
(2)Underhood Reel Lamp (TR9)
(3)Blower Motor
(4)Blower Motor Resistor/Relay (Internal to Blower Motor)
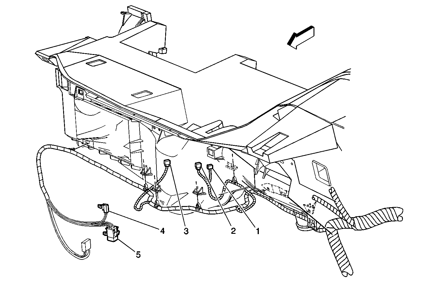
Figure 9:

Relays (IP Harness, Right Side)


Object Number: 348847  Size: MF
(1)Daytime Running Lamp Rear Park Lamp Relay
(2)Rear Fog Lamp Relay
(3)Lighting Control Relay
(4)C203
(5)C214
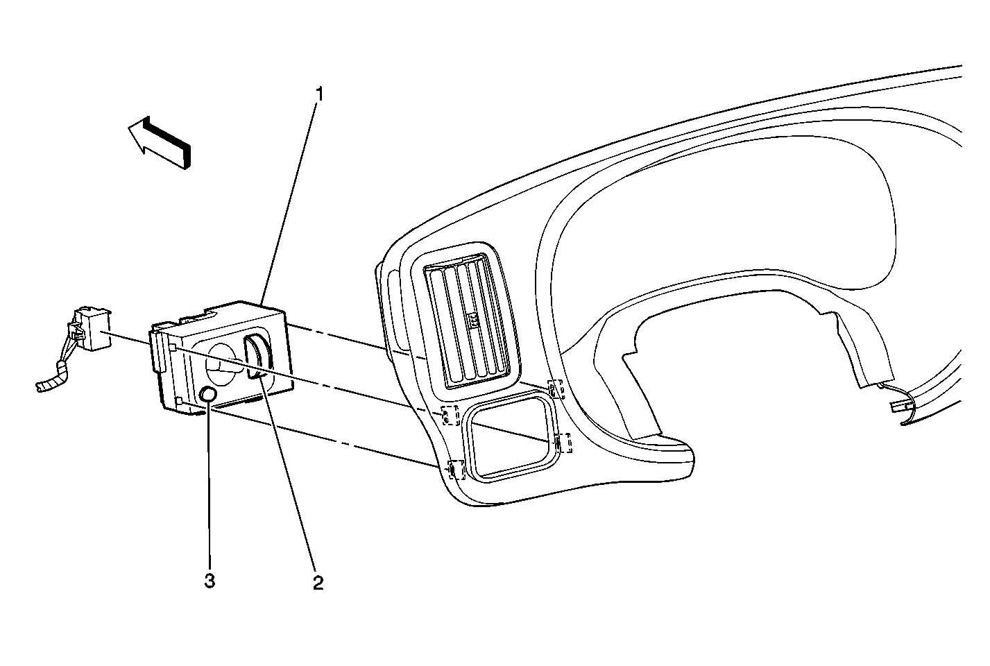
Figure 10:

Lower IP Console (Export)


Object Number: 612564  Size: MF
(1)Accessory Switch Mounting Plate
(2)Headlamp Leveling Switch
(3)Rear Fog Lamp Switch
Figure 11:

IP Relay Center


Object Number: 583939  Size: LF
(1)Multi-Function Alarm Module
(2)Daytime Running Lamp Diode Module
(3)Turn/Hazard Lamp Flasher
(4)IP Relay Center
(5)Daytime Running Lamp Relay
Figure 12:

Daytime Running Lamp Control Module


Object Number: 607841  Size: MF
(1)Data Link Connector (DLC)
(2)Daytime Running Lamp Control Module
Figure 13:

IP Compartment Lamp Switch, IP Compartment Lamp, Ashtray Lamp


Object Number: 314698  Size: MF
(1)Auxiliary Power Outlet
(2)IP Compartment Lamp
(3)IP Compartment Lamp Switch
(4)Ashtray Lamp (Internal to Console)
(5)Cigarette Lighter
Figure 14:

Headlamp Switch, Dome Lamp Override Switch, IP Dimmer Switch


Object Number: 314699  Size: MF
(1)Headlamp Switch
(2)IP Dimmer Switch
(3)Dome Lamp Override Switch
Figure 15:

TCC/Stoplamp Switch


Object Number: 375642  Size: MF
(1)TCC/Stoplamp Switch
Figure 16:

Multifunction Switch (Headlamp Dimmer Switch)


Object Number: 314700  Size: MF
(1)Inflatable Restraint Steering Wheel Module
(2)Horn Switch (Internal to Column)
(3)Key-In Warning Switch (Internal to Column)
(4)Inflatable Restraint Steering Wheel Module Coil (Internal to Column)
(5)Headlamp Dimmer Switch (Internal to Steering Column)
Figure 17:

Turn Signal (Multifunction) Switch, Hazard Waring Switch


Object Number: 314701  Size: MF
(1)Steering Wheel
(2)Steering Column
(3)Turn Signal Switch
(4)Windshield Washer/Wiper Switch
(5)Cruise Control Switch
(6)Hazard Warning Switch
Figure 18:

Illuminated Entry Module, Remote Control Door Lock Receiver


Object Number: 314702  Size: MF
(1)Power Door Lock Relay
(2)Inner and Outer Mode Valve Actuator
(3)Outer Mode Valve Actuator
(4)Illuminated Entry Module
(5)Remote Control Door Lock Receiver
Figure 19:

Sun Shade Mirror Lamp


Object Number: 314703  Size: MF
(1)Sunshade Mirror Lamp, Left (Right Opposite)
Figure 20:

Left Stepwell Lamp


Object Number: 314704  Size: MF
(1)Left Stepwell Lamp
Figure 21:

Right Stepwell Lamp and Side Stepwell Lamp


Object Number: 314705  Size: MF
(1)Right Stepwell Lamp
(2)Side Stepwell Lamp
Figure 22:

Front Door Jamb Switch


Object Number: 314706  Size: MF
(1)Door Lock Actuator Motor, Left Front (Right Front Opposite)
(2)Left Front Door Jamb Switch (Right Front Opposite)
Figure 23:

Side Door Jamb Switch


Object Number: 314707  Size: MF
(1)Side Door Jamb Switch
Figure 24:

Dome Lamps


Object Number: 314708  Size: MF
(1)Front Dome Lamp
(1)Front Dome Lamp
(2)Rear Dome Lamp
(3)Center Dome Lamp
Figure 25:

In-line Fuse (For Rear Parklamp, Export)


Object Number: 314714  Size: MF
(1)In-Line Fuse
Figure 26:

Rear License Plate Lamp (Domestic)


Object Number: 314710  Size: MF
(1)Rear License Plate Lamp
Figure 27:

Rear Park and Turn Signal Lamp; Taillamp; Backup Lamp


Object Number: 314712  Size: MF
(1)Left Rear Park and Turn Signal Lamp, (Right Opposite)
(2)Taillamp (Park and Stop), Left, (Right Opposite)
(3)Left Backup Lamp (Domestic), (Right Opposite)
Figure 28:

Center High Mounted Stoplamp


Object Number: 314713  Size: MF
(1)Center High Mounted Stoplamp
Figure 29:

Rear Door Jamb Switch


Object Number: 314709  Size: MF
(1)Rear License Plate Lamp (Domestic)
(2)Rear Door Jamb Switch
(3)Rear Door Lock Actuator Motor
Figure 30:

Right Rear Door Wiring


Object Number: 348854  Size: MF
(1)P907
(2)C414
(3)P905
Figure 31:

Export: Backup Lamp, Rear License Plate Lamps, Rear Fog Lamp


Object Number: 348865  Size: MF
(1)Backup Lamp
(2)Rear License Plate Lamps
(3)Rear Fog Lamp
Figure 32:

Trailer Wiring Provisions (Park, Turn, Stop, Backup)


Object Number: 314717  Size: MF
(1)Trailer Wiring Provisions
Figure 33:

Trailer Wiring Provisions (Trailer Accy, Electric Brake, Ground)


Object Number: 314716  Size: MF
(1)Trailer Wiring Provisions